LEMON Manuals: Even more car manuals for everyone
Home >> Jeep >> 2021 >> Gladiator Mojave, Part Time T/Case Control, Automatic Trans >> Repair and Diagnosis >> Quick Lookups >> Electrical Component Locations >> Connector End Views And Electrical Component Locations (11 Of 13) >> Sensor-Exhaust Gas Temperature 1/1 (Standard) Connector End View (D2521A)

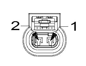
Sensor-Exhaust Gas Temperature 1/1 (Standard) Connector End View (D2521A)

Harness-Family: Transmission

Color: BLACK

Gender: FEMALE

Part Number: 1-1718643-1

Part Description: Not Available

Connector No: D2521A

Option: Standard

Repair Kit Part Number: 68330731AA

Cavity Count: 2

Fig 1: Sensor-Exhaust Gas Temperature 1/1 Connector End View (Standard)
GCWD1013957Courtesy of CHRYSLER
Fig 2: Sensor-Exhaust Gas Temperature 1/1 Isometric View (Standard)
GCWD1013401Courtesy of CHRYSLER
Fig 3: Sensor-Exhaust Gas Temperature 1/1 Wire Insertion View (Standard)
GCWD1007470Courtesy of CHRYSLER
Fig 4: Sensor-Exhaust Gas Temperature 1/1 Component Location View (Standard)
GCWD1318291Courtesy of CHRYSLER
Pin Circuit Wire Color Gauge/Size Function Option
1 K384 BN/YE 0.50 EGT SIGNAL N/A
2 K385 BN/YE 0.50 SENSOR GROUND N/A