LEMON Manuals: Even more car manuals for everyone
Home >> Jeep >> 2021 >> Gladiator Mojave, Part Time T/Case Control, Automatic Trans >> Repair and Diagnosis >> Quick Lookups >> Electrical Component Locations >> Connector End Views And Electrical Component Locations (11 Of 13) >> Sensor-Crankshaft Position (3.0L Diesel) Connector End View (D1511A)

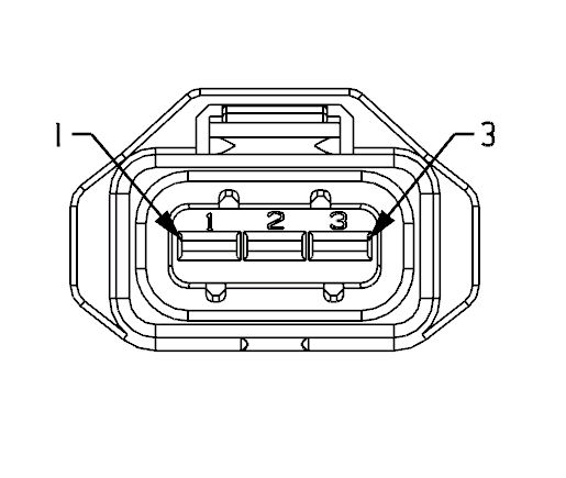
Sensor-Crankshaft Position (3.0L Diesel) Connector End View (D1511A)

Harness-Family: Transmission

Color: BLACK

Gender: FEMALE

Part Number: 1_928_403_966

Part Description: Not Available

Connector No: D1511A

Option: 3.0L DIESEL

Repair Kit Part Number: 05183458AA

Cavity Count: 3

Fig 1: Sensor-Crankshaft Position Connector End View (3.0L DIESEL)
GCWD1085878Courtesy of CHRYSLER
Fig 2: Sensor-Crankshaft Position Isometric View (3.0L DIESEL)
GCWD1079768Courtesy of CHRYSLER
Fig 3: Sensor-Crankshaft Position Wire Insertion View (3.0L DIESEL)
GCWD1007928Courtesy of CHRYSLER
Fig 4: Sensor-Crankshaft Position Component Location View (3.0L DIESEL)
GCWD1318405Courtesy of CHRYSLER
Pin Circuit Wire Color Gauge/Size Function Option
1 K853 DB/BN 0.50 CRANK POS 5 VOLT SUPPLY N/A
2 K925 DB/GY 0.50 CKP GROUND N/A
3 K24 BN/BU 0.50 CKP SIGNAL N/A