LEMON Manuals: Even more car manuals for everyone
Home >> Jeep >> 2021 >> Gladiator Mojave, Part Time T/Case Control, Automatic Trans >> Repair and Diagnosis >> Quick Lookups >> Electrical Component Locations >> Connector End Views And Electrical Component Locations (11 Of 13) >> Sensor-Clutch Position (Standard) Connector End View (D3222A)

Sensor-Clutch Position (Standard) Connector End View (D3222A)

Harness-Family: Body

Color: BLACK

Gender: FEMALE

Part Number: 8002314801B

Part Description: Not Available

Connector No: D3222A

Option: Standard

Repair Kit Part Number: 68490846AA

Cavity Count: 4

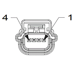
Fig 1: Sensor-Clutch Position Connector End View (Standard)
GCWD1007995Courtesy of CHRYSLER
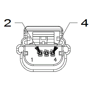
Fig 2: Sensor-Clutch Position Isometric View (Standard)
GCWD1010591Courtesy of CHRYSLER
Fig 3: Sensor-Clutch Position Wire Insertion View (Standard)
GCWD1007726Courtesy of CHRYSLER
Fig 4: Sensor-Clutch Position Component Location View (Standard)
GCWD1318579Courtesy of CHRYSLER
Pin Circuit Wire Color Gauge/Size Function Option
1 N0 NA 0 NO CONNECT N/A
2 K917 BN/BG 0.50 SENSOR GROUND N/A
3 K859 BN/DB 0.75 5 VOLT SUPPLY N/A
4 T119 YE 0.75 CLUTCH POSITION SIGNAL N/A