LEMON Manuals: Even more car manuals for everyone
Home >> Jeep >> 2021 >> Gladiator Mojave, Part Time T/Case Control, Automatic Trans >> Repair and Diagnosis >> Quick Lookups >> Electrical Component Locations >> Connector End Views And Electrical Component Locations (11 Of 13) >> Sensor-Accelerator Pedal Position (LHD) Connector End View (D1563A)

Sensor-Accelerator Pedal Position (LHD) Connector End View (D1563A)

Harness-Family: Dash

Color: BLACK

Gender: FEMALE

Part Number: 1473284-1_1473288-1

Part Description: Not Available

Connector No: D1563A

Option: LHD

Repair Kit Part Number: 68490872AA

Cavity Count: 6

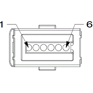
Fig 1: Sensor-Accelerator Pedal Position Connector End View (LHD)
GCWD1014280Courtesy of CHRYSLER
Fig 2: Sensor-Accelerator Pedal Position Isometric View (LHD)
GCWD1012017Courtesy of CHRYSLER
Fig 3: Sensor-Accelerator Pedal Position Wire Insertion View (LHD)
GCWD1006704Courtesy of CHRYSLER
Fig 4: Sensor-Accelerator Pedal Position Component Location View (LHD)
GCWD1318493Courtesy of CHRYSLER
Pin Circuit Wire Color Gauge/Size Function Option
1 K854 VT/BN 0.75 5 VOLT SUPPLY N/A
2 K852 GY/BU 0.75 5 VOLT SUPPLY N/A
3 K23 BN/WH 0.75 APP SIGNAL 1 N/A
4 K167 BN/YE 0.75 APP SENSOR GROUND 1 N/A
5 K400 BN/VT 0.75 APP SENSOR GROUND 2 N/A
6 K29 WH/BN 0.75 APP SIGNAL 2 N/A