LEMON Manuals: Even more car manuals for everyone
Home >> Jeep >> 2021 >> Gladiator Mojave, Part Time T/Case Control, Automatic Trans >> Repair and Diagnosis >> Quick Lookups >> Electrical Component Locations >> Connector End Views And Electrical Component Locations (1 Of 13) >> Cluster (Standard) Connector End View (D3809A)

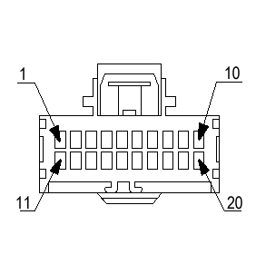
Cluster (Standard) Connector End View (D3809A)

Harness-Family: IP

Color: BROWN

Gender: FEMALE

Part Number: 7283-9112-80

Part Description: KAIZEN CONNECTOR ASSEMBLY W/O CPA

Connector No: D3809A

Option: Standard

Repair Kit Part Number: 68496349AA

Cavity Count: 20

Fig 1: Cluster Connector End View (Standard)
GCWD1006468Courtesy of CHRYSLER
Fig 2: Cluster Isometric View (Standard)
GCWD1081097Courtesy of CHRYSLER
Fig 3: Cluster Wire Insertion View (Standard)
GCWD1010400Courtesy of CHRYSLER
Fig 4: Cluster Component Location View (Standard)
GCWD1319007Courtesy of CHRYSLER
Pin Circuit Wire Color Gauge/Size Function Option
1 N0 NA 0 NO CONNECT N/A
2 N0 NA 0 NO CONNECT N/A
3 N0 NA 0 NO CONNECT N/A
4 N0 NA 0 NO CONNECT N/A
5 N0 NA 0 NO CONNECT N/A
6 E12 OG/GY 0.35 PANEL LAMPS DRIVER N/A
7 N0 NA 0 NO CONNECT N/A
8 N0 NA 0 NO CONNECT N/A
9 N0 NA 0 NO CONNECT N/A
10 A108 GN/RD 0.50 FUSED B(+) N/A
11 N0 NA 0 NO CONNECT N/A
12 D81 BN/WH 0.35 CAN C (+) N/A
13 D82 YE 0.35 CAN C (-) N/A
14 G84 VT/GY 0.35 VTA WARNING INDICATOR N/A
15 N0 NA 0 NO CONNECT N/A
16 Z911 BK 0.50 GROUND EXCEPT EXPORT
16 Z911 BK/VT 0.50 GROUND EXPORT
17 N0 NA 0 NO CONNECT N/A
18 N0 NA 0 NO CONNECT N/A
19 Z911 BK 0.50 GROUND EXCEPT EXPORT
19 Z911 BK/VT 0.50 GROUND EXPORT
20 F949 PK/GN 0.50 FUSED IGNITION RUN/START CONTROL OUTPUT N/A