LEMON Manuals: Even more car manuals for everyone
Home >> Jeep >> 2021 >> Compass Trailhawk >> Repair and Diagnosis (Single Page) >> Quick Lookups >> Wiring Diagrams >> Connector End Views And Electrical Component Locations (5 Of 10) >> Module-Steering Column Control C2 (Standard) Connector End View (D3816B)

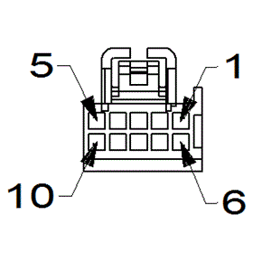
Module-Steering Column Control C2 (Standard) Connector End View (D3816B)

Harness-Family: IP

Color: BLACK

Gender: FEMALE

Part Number: 33401467_33401469

Part Description: Not Available

Connector No: D3816B

Option: Standard

Repair Kit Part Number: 68502126AA

Cavity Count: 10

Fig 1: Module-Steering Column Control C2 Connector End View (Standard)
GCWD1010938Courtesy of CHRYSLER
Fig 2: Module-Steering Column Control C2 Isometric View (Standard)
GCWD1013076Courtesy of CHRYSLER
Fig 3: Module-Steering Column Control C2 Wire Insertion View (Standard)
GCWD1006858Courtesy of CHRYSLER
Fig 4: Module-Steering Column Control C2 Component Location View (Standard)
GCWD1322884Courtesy of CHRYSLER
Pin Circuit Wire Color Gauge/Size Function Option
1 D402 OG/VT 0.35 LIN BUS CBC 2 N/A
2 D404 WH/BN 0.35 LIN BUS N/A
3 N0 NA 0 NO CONNECT N/A
4 N0 NA 0 NO CONNECT EXCEPT PADDLE SHIFTING
5 N0 NA 0 NO CONNECT EXCEPT PADDLE SHIFTING
6 N0 NA 0 NO CONNECT N/A
7 N0 NA 0 NO CONNECT N/A
8 A911 RD 0.50 FUSED B(+) N/A
9 X3 DG/VT 0.50 HORN SWITCH SENSE N/A
10 Z937 BK/BU 0.50 GROUND PREMIUM