LEMON Manuals: Even more car manuals for everyone
Home >> Jeep >> 2021 >> Compass Trailhawk >> Repair and Diagnosis (Single Page) >> Quick Lookups >> Electrical Component Locations >> Connector End Views And Electrical Component Locations (6 Of 10) >> Resistor-Radiator Fan 1 (Standard) Connector End View (D8126A)

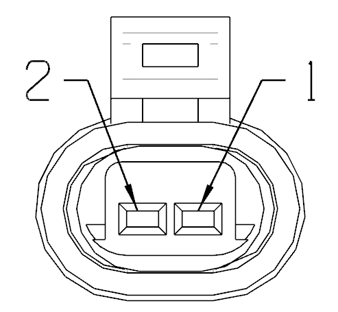
Resistor-Radiator Fan 1 (Standard) Connector End View (D8126A)

Harness-Family: Dash

Color: BLACK

Gender: FEMALE

Part Number: 15336024

Part Description: CONNECTOR ASSEMBLY GT 150

Connector No: D8126A

Option: Standard

Repair Kit Part Number: 68052576AA

Cavity Count: 2

Fig 1: Resistor-Radiator Fan 1 Connector End View (Standard)
GCWD1024774Courtesy of CHRYSLER
Fig 2: Resistor-Radiator Fan 1 Isometric View (Standard)
GCWD1091046Courtesy of CHRYSLER
Fig 3: Resistor-Radiator Fan 1 Wire Insertion View (Standard)
GCWD1008656Courtesy of CHRYSLER
Fig 4: Resistor-Radiator Fan 1 Component Location View (Standard)
GCWD1323355Courtesy of CHRYSLER
Pin Circuit Wire Color Gauge/Size Function Option
1 N29 DB/BU 0.75 RADIATOR FAN ENABLE SIGNAL N/A
2 Z913 BK/VT 0.75 GROUND N/A