LEMON Manuals: Even more car manuals for everyone
Home >> Jeep >> 2021 >> Compass Trailhawk >> Repair and Diagnosis (Single Page) >> Quick Lookups >> Electrical Component Locations >> Connector End Views And Electrical Component Locations (5 Of 10) >> Module-Radio-Freq Hub C3 (Standard) Connector End View (D2665C)

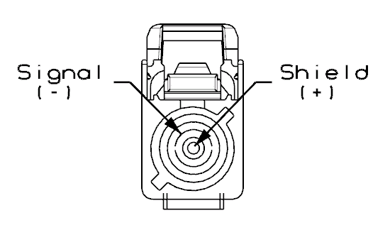
Module-Radio-Freq Hub C3 (Standard) Connector End View (D2665C)

Harness-Family: Antenna_Rem_St_RKE

Color: VIOLET

Gender: FEMALE

Part Number: 59Z006-T00-D

Part Description: Not Available

Connector No: D2665C

Option: Standard

Repair Kit Part Number: See StarParts

Cavity Count: 1

Fig 1: Module-Radio-Freq Hub C3 Connector End View (Standard)
GCWD1006595Courtesy of CHRYSLER
Fig 2: Module-Radio-Freq Hub C3 Isometric View (Standard)
GCWD1083552Courtesy of CHRYSLER
Fig 3: Module-Radio-Freq Hub C3 Wire Insertion View (Standard)
GCWD1008598Courtesy of CHRYSLER
Fig 4: Module-Radio-Freq Hub C3 Component Location View (Standard)
GCWD1323091Courtesy of CHRYSLER
Pin Circuit Wire Color Gauge/Size Function Option
1 D950 BK 0.50 ANT UHF ANT SIG N/A