LEMON Manuals: Even more car manuals for everyone
Home >> Jeep >> 2021 >> Compass Trailhawk >> Repair and Diagnosis (Single Page) >> Electrical >> Component Locations >> Connector End Views And Electrical Component Locations (5 Of 10) >> Module-Terrain Switch Bank (Standard) Connector End View (D2297A)

Module-Terrain Switch Bank (Standard) Connector End View (D2297A)

Harness-Family: Jumper_Bezel

Color: GREEN

Gender: FEMALE

Part Number: 638394-4

Part Description: 2X6 PLUG ASSEMBLY

Connector No: D2297A

Option: Standard

Repair Kit Part Number: 68068655AA

Cavity Count: 12

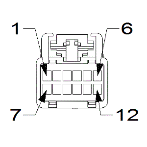
Fig 1: Module-Terrain Switch Bank Connector End View (Standard)
GCWD1006441Courtesy of CHRYSLER
Fig 2: Module-Terrain Switch Bank Isometric View (Standard)
GCWD1089195Courtesy of CHRYSLER
Fig 3: Module-Terrain Switch Bank Wire Insertion View (Standard)
GCWD1007847Courtesy of CHRYSLER
Fig 4: Module-Terrain Switch Bank Component Location View (Standard)
GCWD1322948Courtesy of CHRYSLER
Pin Circuit Wire Color Gauge/Size Function Option
1 N0 NA 0 NO CONNECT N/A
2 N0 NA 0 NO CONNECT N/A
3 N0 NA 0 NO CONNECT N/A
4 N0 NA 0 NO CONNECT N/A
5 D402 OG/VT 0.35 LIN BUS CBC 2 N/A
6 Z930 BK 0.35 GROUND N/A
7 F944 PK/GN 0.35 FUSED IGNITION N/A
8 N0 NA 0 NO CONNECT N/A
9 N0 NA 0 NO CONNECT N/A
10 N0 NA 0 NO CONNECT N/A
11 N0 NA 0 NO CONNECT N/A
12 N0 NA 0 NO CONNECT N/A