LEMON Manuals: Even more car manuals for everyone
Home >> Jeep >> 2021 >> Compass Trailhawk >> Repair and Diagnosis (Single Page) >> Electrical >> Component Locations >> Connector End Views And Electrical Component Locations (5 Of 10) >> Module-Steering Column Control C1 (Standard) Connector End View (D3816A)

Module-Steering Column Control C1 (Standard) Connector End View (D3816A)

Harness-Family: IP

Color: YELLOW

Gender: FEMALE

Part Number: 33120610

Part Description: Not Available

Connector No: D3816A

Option: Standard

Repair Kit Part Number: 68502125AA

Cavity Count: 6

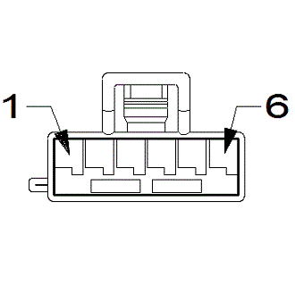
Fig 1: Module-Steering Column Control C1 Connector End View (Standard)
GCWD1014620Courtesy of CHRYSLER
Fig 2: Module-Steering Column Control C1 Isometric View (Standard)
GCWD1012180Courtesy of CHRYSLER
Fig 3: Module-Steering Column Control C1 Wire Insertion View (Standard)
GCWD1010051Courtesy of CHRYSLER
Fig 4: Module-Steering Column Control C1 Component Location View (Standard)
GCWD1322886Courtesy of CHRYSLER
Pin Circuit Wire Color Gauge/Size Function Option
1 N0 NA 0 NO CONNECT EXCEPT EXPORT
2 N0 NA 0 NO CONNECT EXCEPT EXPORT
3 R63 DB/WH 0.50 DRIVER SQUIB 2 LINE 1 N/A
4 R61 GN/VT 0.50 DRIVER SQUIB 2 LINE 2 N/A
5 R45 GN/OG 0.50 DRIVER SQUIB 1 LINE 1 N/A
6 R43 BU/BN 0.50 DRIVER SQUIB 1 LINE 2 N/A