LEMON Manuals: Even more car manuals for everyone
Home >> Jeep >> 2021 >> Compass Altitude, FWD >> Repair and Diagnosis (Single Page) >> Quick Lookups >> Electrical Component Locations >> Connector End Views And Electrical Component Locations (5 Of 10) >> Module-Park Assist C1 (Standard) Connector End View (D3867A)

Module-Park Assist C1 (Standard) Connector End View (D3867A)

Harness-Family: Body

Color: BLACK

Gender: FEMALE

Part Number: 7289-5491-30

Part Description: Not Available

Connector No: D3867A

Option: Standard

Repair Kit Part Number: 68080557AA

Cavity Count: 12

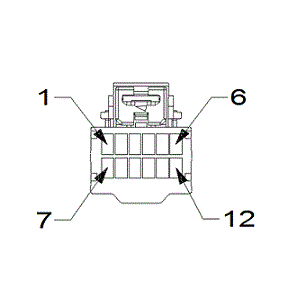
Fig 1: Module-Park Assist C1 Connector End View (Standard)
GCWD1256898Courtesy of CHRYSLER
Fig 2: Module-Park Assist C1 Isometric View (Standard)
GCWD1323327Courtesy of CHRYSLER
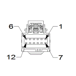
Fig 3: Module-Park Assist C1 Wire Insertion View (Standard)
GCWD1323596Courtesy of CHRYSLER
Fig 4: Module-Park Assist C1 Component Location View (Standard)
GCWD1323090Courtesy of CHRYSLER
Pin Circuit Wire Color Gauge/Size Function Option
1 F948 PK/GN 0.35 FUSED IGNITION N/A
2 N0 NA 0 NO CONNECT N/A
3 N0 NA 0 NO CONNECT N/A
4 N0 NA 0 NO CONNECT N/A
5 N0 NA 0 NO CONNECT N/A
6 D77 VT 0.50 CAN CH (+) N/A
7 Z943 BK 0.50 GROUND N/A
8 N0 NA 0 NO CONNECT N/A
9 N0 NA 0 NO CONNECT N/A
10 N0 NA 0 NO CONNECT N/A
11 N0 NA 0 NO CONNECT N/A
12 D78 YE 0.50 CAN CH (-) N/A