LEMON Manuals: Even more car manuals for everyone
Home >> Jeep >> 2021 >> Compass Altitude, FWD >> Repair and Diagnosis (Single Page) >> Quick Lookups >> Electrical Component Locations >> Connector End Views And Electrical Component Locations (4 Of 10) >> Module-Heated Seats C6 (Standard) Connector End View (D3846F)

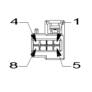
Module-Heated Seats C6 (Standard) Connector End View (D3846F)

Harness-Family: Seat_Pass

Color: NATURAL

Gender: FEMALE

Part Number: 2-1564013-1_965601-3

Part Description: Not Available

Connector No: D3846F

Option: Standard

Repair Kit Part Number: Terminal Kits Only

Cavity Count: 8

Fig 1: Module-Heated Seats C6 Connector End View (Standard)
GCWD1256292Courtesy of CHRYSLER
Fig 2: Module-Heated Seats C6 Isometric View (Standard)
GCWD1308683Courtesy of CHRYSLER
Fig 3: Module-Heated Seats C6 Wire Insertion View (Standard)
GCWD1308680Courtesy of CHRYSLER
Fig 4: Module-Heated Seats C6 Component Location View (Standard)
GCWD1323527Courtesy of CHRYSLER
Pin Circuit Wire Color Gauge/Size Function Option
1 N0 NA 0 NO CONNECT N/A
2 N0 NA 0 NO CONNECT N/A
3 N0 NA 0 NO CONNECT N/A
4 P922 BN/GN 0.35 RIGHT SEAT VENT RETURN N/A
5 N0 NA 0 NO CONNECT N/A
6 N0 NA 0 NO CONNECT N/A
7 N0 NA 0 NO CONNECT N/A
8 P921 OG/GN 0.35 LEFT SEAT VENT RETURN N/A