LEMON Manuals: Even more car manuals for everyone
Home >> Jeep >> 2021 >> Cherokee Trailhawk >> Repair and Diagnosis (Single Page) >> Quick Lookups >> Electrical Component Locations >> Connector End Views And Electrical Component Locations (9 Of 15) >> Module-Body Control C3 (Standard) Connector End View (D2762C)

Module-Body Control C3 (Standard) Connector End View (D2762C)

Harness-Family: Dash

Color: BLACK

Gender: FEMALE

Part Number: 13972763_15471039

Part Description: Not Available

Connector No: D2762C

Option: Standard

Repair Kit Part Number: 68404947AA

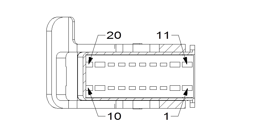
Cavity Count: 20

Fig 1: Module-Body Control C3 Connector End View (Standard)
GCWD1132377Courtesy of CHRYSLER
Fig 2: Module-Body Control C3 Isometric View (Standard)
GCWD1010801Courtesy of CHRYSLER
Fig 3: Module-Body Control C3 Wire Insertion View (Standard)
GCWD1006804Courtesy of CHRYSLER
Fig 4: Module-Body Control C3 Component Location View (Standard)
GCWD1321962Courtesy of CHRYSLER
Pin Circuit Wire Color Gauge/Size Function Option
1 L59 WH/DB 0.75 RIGHT DRL LAMP DRIVER N/A
2 W21 BN/GY 0.75 RELAY CTRL FRONT WASHER PUMP N/A
3 L58 WH/YE 0.50 LEFT DRL LAMP DRIVER N/A
4 N0 NA 0 NO CONNECT N/A
5 L60 WH/BG 1.0 RIGHT FRONT TURN LAMP DRIVER N/A
6 L303 WH/OG 0.75 LEFT HIGH BEAM DRIVER N/A
7 N0 NA 0 NO CONNECT N/A
8 L44 WH/BG 1.0 RIGHT LOW BEAM DRIVER N/A
9 W8 BN/BU 1.0 WIPER ON/OFF RELAY CONTROL N/A
10 N0 NA 0 NO CONNECT N/A
11 W22 BN/DB 0.75 RELAY CTRL REAR WASHER PUMP N/A
12 L43 WH/DB 1.0 LEFT LOW BEAM DRIVER N/A
13 N0 NA 0 NO CONNECT N/A
14 N0 NA 0 NO CONNECT N/A
15 N0 NA 0 NO CONNECT N/A
16 N0 NA 0 NO CONNECT N/A
17 N0 NA 0 NO CONNECT N/A
18 N0 NA 0 NO CONNECT N/A
19 A905 RD 2.0 FUSED B(+) N/A
20 N0 NA 0 NO CONNECT N/A