LEMON Manuals: Even more car manuals for everyone
Home >> Jeep >> 2021 >> Cherokee Trailhawk >> Repair and Diagnosis (Single Page) >> Quick Lookups >> Electrical Component Locations >> Connector End Views And Electrical Component Locations (11 Of 15) >> Module-Powertrain Control C1 (2.0L) Connector End View (D3821A)

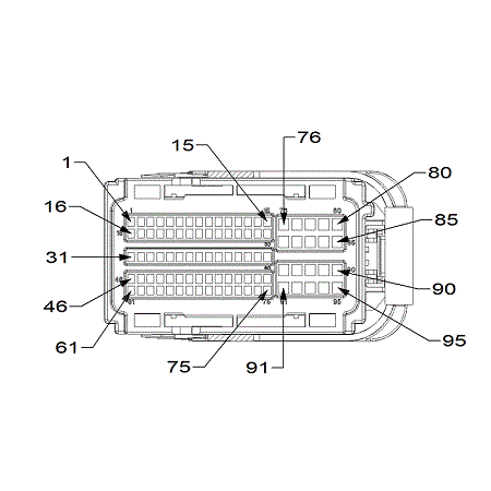
Module-Powertrain Control C1 (2.0L) Connector End View (D3821A)

Harness-Family: Dash

Color: BLACK

Gender: FEMALE

Part Number: 34992-0906_34992-7001

Part Description: Not Available

Connector No: D3821A

Option: 2.0L

Repair Kit Part Number: 68528151AA

Cavity Count: 95

Fig 1: Module-Powertrain Control C1 Connector End View (2.0L)
GCWD1238494Courtesy of CHRYSLER
Fig 2: Module-Powertrain Control C1 Isometric View (2.0L)
GCWD1320369Courtesy of CHRYSLER
Fig 3: Module-Powertrain Control C1 Wire Insertion View (2.0L)
GCWD1009518Courtesy of CHRYSLER
Fig 4: Module-Powertrain Control C1 Component Location View (2.0L)
GCWD1322708Courtesy of CHRYSLER
Pin Circuit Wire Color Gauge/Size Function Option
1 K173 BN/VT 0.75 RADIATOR FAN CONTROL SIGNAL N/A
2 T753 DG/YE 0.50 IGNITION CRANK SENSE N/A
3 N0 NA 0 NO CONNECT N/A
4 N0 NA 0 NO CONNECT N/A
5 B135 DG/GN 0.50 BRAKE SIGNAL 1 N/A
6 K108 VT/GY 0.50 ESIM SIGNAL WITH FUEL TANK PRESS
6 N0 NA 0 NO CONNECT WITHOUT FUEL TANK PRESS
7 N8 DB/PK 0.50 FUEL TANK PRESSURE SENSOR SUPPLY WITH FUEL TANK PRESS
7 N0 NA 0 NO CONNECT WITHOUT FUEL TANK PRESS
8 N10 DB/WH 0.50 FUEL TANK PRESSURE SENSOR RETURN N/A
9 N0 NA 0 NO CONNECT N/A
10 D27 BG/WH 0.50 CAN C (+) N/A
11 D28 YE 0.50 CAN C (-) N/A
12 N0 NA 0 NO CONNECT N/A
13 N0 NA 0 NO CONNECT N/A
14 D511 WH/BG 0.50 LIN BUS N/A
15 N0 NA 0 NO CONNECT N/A
16 N0 NA 0 NO CONNECT N/A
17 N0 NA 0 NO CONNECT N/A
18 N0 NA 0 NO CONNECT N/A
19 N0 NA 0 NO CONNECT N/A
20 N0 NA 0 NO CONNECT N/A
21 K247 DB/GN 0.75 GPF DELTA PRESS SENSE N/A
22 N12 DB/GN 0.75 FPCM PWM FEEDBACK N/A
23 N0 NA 0 NO CONNECT N/A
24 N0 NA 0 NO CONNECT N/A
25 N0 NA 0 NO CONNECT N/A
26 N0 NA 0 NO CONNECT N/A
27 K69 BN/BU 0.75 IAT SIGNAL N/A
28 N0 NA 0 NO CONNECT N/A
29 K222 BN/YE 0.50 CHARGE AIR COOLANT TEMP SIGNAL N/A
30 K248 DB/OG 0.75 GPF ABSOLUTE PRESS SENSE N/A
31 K51 BN/WH 0.75 ASD RELAY CONTROL N/A
32 K23 BN/WH 0.75 APP SIGNAL 1 N/A
33 K167 BN/YE 0.75 APP SENSOR GROUND 1 N/A
34 K29 WH/BN 0.75 APP SIGNAL 2 N/A
35 K400 BN/VT 0.75 APP SENSOR GROUND 2 N/A
36 K852 GY/BU 0.75 5 VOLT SUPPLY N/A
37 C18 BU/BN 0.50 A/C PRESSURE SIGNAL N/A
38 N0 NA 0 NO CONNECT N/A
39 K854 VT/BN 0.50 5 VOLT SUPPLY N/A
40 K181 BN/YE 0.50 FUEL PRESSURE SIGNAL N/A
41 N7 DB/OG 0.50 FUEL TANK PRESSURE SIGNAL WITH FUEL TANK PRESS
41 N0 NA 0 NO CONNECT WITHOUT FUEL TANK PRESS
42 K806 DB/BN 0.75 HOOD AJAR SWITCH 2 N/A
43 N0 NA 0 NO CONNECT N/A
44 N0 NA 0 NO CONNECT N/A
45 N0 NA 0 NO CONNECT N/A
46 N0 NA 0 NO CONNECT N/A
47 N0 NA 0 NO CONNECT N/A
48 N0 NA 0 NO CONNECT N/A
49 N0 NA 0 NO CONNECT N/A
50 F942 PK/VT 0.75 FUSED IGNITION SWITCH OUTPUT (RUN-START) N/A
51 N0 NA 0 NO CONNECT N/A
52 X478 BN/GN 0.50 ANC BUFFERED CRANK POSITION (+) N/A
53 N0 NA 0 NO CONNECT N/A
54 N0 NA 0 NO CONNECT N/A
55 K71 BN/YE 0.50 OBD VENT VALVE CONTROL N/A
56 N0 NA 0 NO CONNECT N/A
57 K37 BN/OG 0.50 BOOST PRESSURE SIGNAL N/A
58 K917 BN/BG 0.50 SENSOR GROUND N/A
59 N0 NA 0 NO CONNECT N/A
60 K200 BN/YE 0.50 SENSOR GROUND N/A
61 N0 NA 0 NO CONNECT N/A
62 K52 DB/WH 0.75 EVAP PURGE CONTROL N/A
63 C13 BU/OG 0.75 A/C CLUTCH CONTROL N/A
64 T110 DG/YE 0.75 VACUUM PUMP RELAY CONTROL N/A
65 K31 BN 0.75 FUEL PUMP RELAY CONTROL N/A
66 N0 NA 0 NO CONNECT N/A
67 N0 NA 0 NO CONNECT N/A
68 N0 NA 0 NO CONNECT N/A
69 F865 GY/PK 0.75 5V SNSR SUPPLY N/A
70 N0 NA 0 NO CONNECT N/A
71 N0 NA 0 NO CONNECT N/A
72 N11 DB/BG 0.75 FPCM PWM CONTROL N/A
73 N0 NA 0 NO CONNECT N/A
74 N0 NA 0 NO CONNECT N/A
75 K175 BN/BU 0.75 RAD FAN CONTROL N/A
76 N18 DB/BU 1.0 HSD CONTROL N/A
77 N0 NA 0 NO CONNECT N/A
78 N0 NA 0 NO CONNECT N/A
79 N0 NA 0 NO CONNECT N/A
80 N0 NA 0 NO CONNECT N/A
81 N1 DB/OG 1.0 LSD CONTROL/FUEL PUMP CONTROL N/A
82 Z909 BK 1.0 GROUND N/A
83 Z909 BK/WH 1.0 GROUND N/A
84 Z909 BK/YE 1.0 GROUND N/A
85 N0 NA 0 NO CONNECT N/A
86 N0 NA 0 NO CONNECT N/A
87 A209 RD 1.0 FUSED B(+) N/A
88 F342 BN/WH 1.0 FUSED ASD RELAY OUTPUT N/A
89 F342 BN/WH 1.0 FUSED ASD RELAY OUTPUT N/A
90 F342 BN/WH 1.0 FUSED ASD RELAY OUTPUT N/A
91 N0 NA 0 NO CONNECT N/A
92 T752 DG/OG 0.75 STARTER RELAY CONTROL N/A
93 K79 BN/BU 1.0 O2 1/1 HEATER CONTROL N/A
94 N0 NA 0 NO CONNECT N/A
95 N0 NA 0 NO CONNECT N/A