LEMON Manuals: Even more car manuals for everyone
Home >> Jeep >> 2021 >> Cherokee Trailhawk >> Repair and Diagnosis (Single Page) >> Quick Lookups >> Electrical Component Locations >> Connector End Views And Electrical Component Locations (10 Of 15) >> Module-Door-Driver C2 (Standard) Connector End View (D3818B)

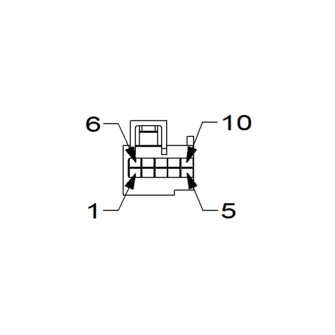
Module-Door-Driver C2 (Standard) Connector End View (D3818B)

Harness-Family: Mirror_Driver

Color: BLACK

Gender: FEMALE

Part Number: 1-2177198-1_1-968562-2

Part Description: Not Available

Connector No: D3818B

Option: Standard

Repair Kit Part Number: 68156140AA

Cavity Count: 10

Fig 1: Module-Door-Driver C2 Connector End View (Standard)
GCWD1012012Courtesy of CHRYSLER
Fig 2: Module-Door-Driver C2 Isometric View (Standard)
GCWD1012331Courtesy of CHRYSLER
Fig 3: Module-Door-Driver C2 Wire Insertion View (Standard)
GCWD1008503Courtesy of CHRYSLER
Fig 4: Module-Door-Driver C2 Component Location View (Standard)
GCWD1321997Courtesy of CHRYSLER
Pin Circuit Wire Color Gauge/Size Function Option
1 P694 BU 22 PWR FOLD MIRROR FOLD DRIV N/A
2 P691 YE 22 PWR FOLD MIRROR UNFOLD DRIV N/A
3 C160 BK 22 DRIVER MIRROR HEATER RETURN N/A
4 C16 BK 22 DRIVER MIRROR HEATER DRIVER N/A
6 P71 WH 22 DRIVER MIRROR VERTICAL DRIVER EXCEPT MEMORY
6 P71 DB 22 DRIVER MIRROR VERTICAL DRIVER MEMORY
7 P73 OG 22 DRIVER MIRROR COMMON DRIVER EXCEPT MEMORY
7 P73 WH 22 DRIVER MIRROR COMMON DRIVER MEMORY
8 P75 RD 22 DRIVER MIRROR HORIZONTAL DRIVER EXCEPT MEMORY
8 P75 DG 22 DRIVER MIRROR HORIZONTAL DRIVER MEMORY
9 P501 GY/BK 22 DRIVER MIRROR TURN SIGNAL DRIVER N/A
10 P593 GY/WH 22 DRIVER MIRROR TURN SIGNAL LAMP RETURN N/A