LEMON Manuals: Even more car manuals for everyone
Home >> Jeep >> 2021 >> Cherokee Trailhawk >> Repair and Diagnosis (Single Page) >> Quick Lookups >> Electrical Component Locations >> Connector End Views And Electrical Component Locations (10 Of 15) >> Module-Door-Driver C1 (Standard) Connector End View (D3818A)

Module-Door-Driver C1 (Standard) Connector End View (D3818A)

Harness-Family: Mirror_Driver

Color: NATURAL

Gender: FEMALE

Part Number: 2-2177198-1_1-968562-2

Part Description: Not Available

Connector No: D3818A

Option: Standard

Repair Kit Part Number: 68156140AA

Cavity Count: 10

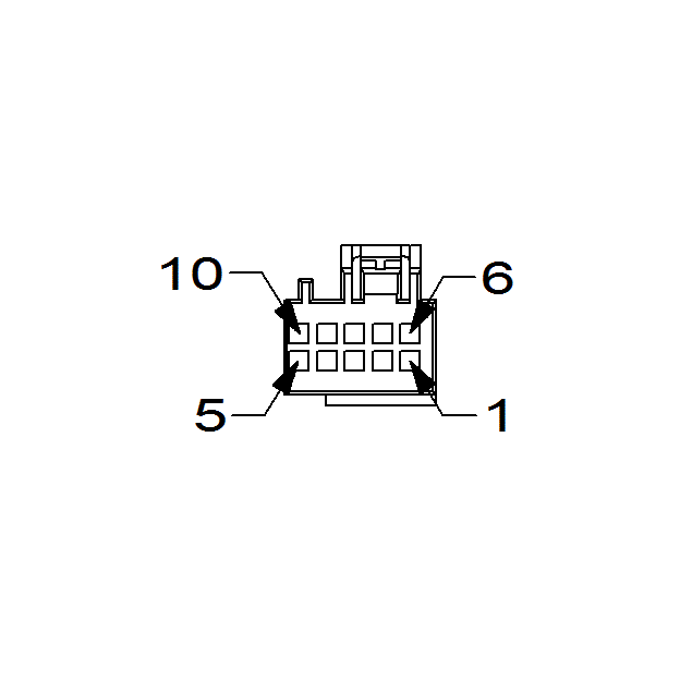
Fig 1: Module-Door-Driver C1 Connector End View (Standard)
GCWD1131950Courtesy of CHRYSLER
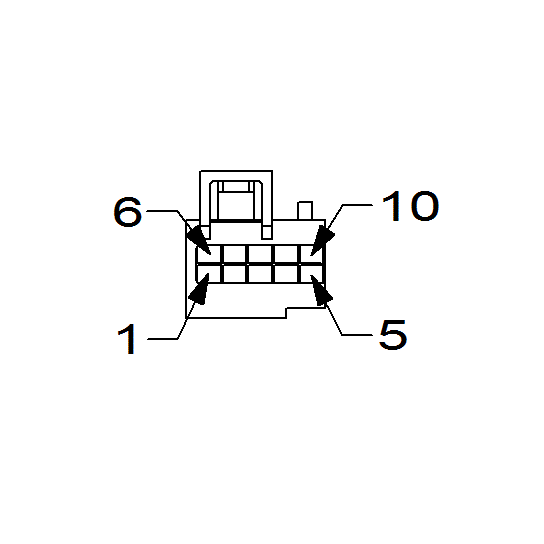
Fig 2: Module-Door-Driver C1 Isometric View (Standard)
GCWD1309011Courtesy of CHRYSLER
Fig 3: Module-Door-Driver C1 Wire Insertion View (Standard)
GCWD1009527Courtesy of CHRYSLER
Fig 4: Module-Door-Driver C1 Component Location View (Standard)
GCWD1322045Courtesy of CHRYSLER
Pin Circuit Wire Color Gauge/Size Function Option
1 P551 BK/GN 22 DRIVER MIRROR APPROACH LIGHT DRIVER N/A
2 P552 BK/BN 22 DRIVER MIRROR APPROACH/BLINDSPOT LAMP RETURN N/A
3 P711 VT/DG 22 DRIVER BLIND SPOT INDICATOR DRIVER N/A
7 P67 GY 22 DRIVER MIRROR VERTICAL POSITION SIGNAL N/A
8 P69 DG/WH 22 DRIVER MIRROR SENSOR GROUND N/A
9 P65 DB/WH 22 DRIVER MIRROR HORIZONTAL POSITION SIGNAL N/A
10 A856 RD/WH 22 FUSED B(+) N/A