LEMON Manuals: Even more car manuals for everyone
Home >> Jeep >> 2021 >> Cherokee Trailhawk >> Repair and Diagnosis (Single Page) >> Accessories & Equipment >> Communication Devices >> Electronic Control Modules (Service Information) >> Module, Occupant Restraint Control (Orc) >> Description

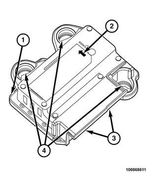
Module, Occupant Restraint Control (Orc): Description

GC0156451Courtesy of CHRYSLER GROUP, LLC

The Occupant Restraint Control (ORC) module (1) is secured by three nuts to three studs on the top of the floor panel transmission tunnel near the dash panel and beneath the instrument panel forward of the center stack in the passenger compartment of the vehicle. Concealed within a hollow in the center of the molded black plastic ORC housing is the electronic circuitry of the ORC which includes a microcontroller, an electronic impact sensor, an electronic safing sensor, a rollover sensor, an integral Electronic Stability Control (ESC) dynamics sensor (also known as the yaw sensor or sensor cluster) and an energy storage capacitor. A stamped metal cover plate is secured to the bottom of the ORC housing to enclose and protect the internal electronic circuitry and components.

An arrow (2) printed on the label on the top of the ORC housing provides a visual verification of the proper orientation of the unit and should always be pointed toward the front of the vehicle. The ORC housing has integral mounting flanges (4) on the right and left front and the right rear corners. Two molded plastic electrical connector receptacles (3) exit the rearward facing side of the ORC housing. These receptacles connect the ORC to the vehicle electrical system through two dedicated take outs and connectors, one from the instrument panel wire harness and the second from the body wire harness.

The impact sensor and safing sensor internal to the ORC are calibrated for the specific vehicle and are only serviced as a unit with the ORC. In addition, there are unique versions of the ORC for vehicles with or without certain optional Supplemental Restraint System (SRS) components. The ORC cannot be repaired or adjusted and, if damaged or ineffective, it must be replaced.