LEMON Manuals: Even more car manuals for everyone
Home >> Jeep >> 2021 >> Cherokee High Altitude, Full Time T/Case Control >> Repair and Diagnosis >> Restraints >> Restraints Control Systems >> Restraints System (Service Information) >> Sensor, Impact >> Removal >> Front

Sensor, Impact: Removal: Front

WARNING:

To avoid serious or fatal injury on vehicles equipped with airbags, disable the Supplemental Restraint System (SRS) before attempting any steering wheel, steering column, airbag, Occupant Classification System (OCS), seat belt tensioner, impact sensor or instrument panel component diagnosis or service. Disconnect and isolate the battery negative (ground) cable, then wait two minutes for the system capacitor to discharge before performing further diagnosis or service. This is the only sure way to disable the SRS. Failure to follow these instructions may result in accidental airbag deployment.

WARNING:

To avoid serious or fatal injury, never strike or drop the front impact sensor, as it can damage the impact sensor or affect its calibration. The front impact sensor enables the system to deploy the front supplemental restraints. If an impact sensor is accidentally dropped during service, the sensor must be scrapped and replaced with a new unit. Failure to observe this warning could result in accidental, incomplete, or improper front supplemental restraint deployment.

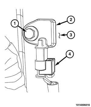
GC0159787Courtesy of CHRYSLER GROUP, LLC
NOTE:

The front and the side impact sensors are NOT interchangeable.

  1. Disconnect and isolate the negative battery cable. If equipped with an Intelligent Battery Sensor (IBS), disconnect the IBS connector first before disconnecting the negative battery cable. Wait two minutes for the system capacitor to discharge before continuing service.
  2. For the right impact sensor if equipped with 2.4L only, remove the engine air cleaner housing from the right side of the engine compartment. Refer to REMOVAL .
  3. Locate the front impact sensor (2) mounted on the engine compartment side of the Front End Module (FEM) carrier (3), below the upper radiator crossmember and just outboard of the cooling module.
  4. Disconnect the FEM wire harness connector (4) from the appropriate right or left front impact sensor.
  5. Remove the fastener (1) that secures the sensor to the back of the FEM carrier.
  6. Gently pry the sensor away from the FEM carrier far enough to disengage the latch feature of the locator pin on the back of the sensor from the locator hole in the FEM carrier.
  7. Remove the front impact sensor from the vehicle.