LEMON Manuals: Even more car manuals for everyone
Home >> Jeep >> 2020 >> Compass Trailhawk >> Repair and Diagnosis (Single Page) >> Electrical >> Component Locations >> Connector End Views And Electrical Component Locations (5 Of 8) >> Module-Steering Column Control C2 (Standard) Connector End View (D3816B)

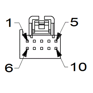
Module-Steering Column Control C2 (Standard) Connector End View (D3816B)

Harness-Family: IP

Color: BLACK

Gender: FEMALE

Part Number: 33401467_33401469

Part Description: Not Available

Connector No: D3816B

Option: Standard

Repair Kit Part Number: Not Available

Cavity Count: null

Fig 1: Module-Steering Column Control C2 Connector End View (Standard)
GCWD1010938Courtesy of CHRYSLER
Fig 2: Module-Steering Column Control C2 Component Location (Standard)
GCWD1288761Courtesy of CHRYSLER
Pin Circuit Wire Color Gauge/Size Function Option
1 D402 OG/VT 0.35 LIN BUS CBC 2 N/A
2 D404 WH/BN 0.35 LIN BUS N/A
8 A911 RD 0.50 FUSED B(+) N/A
9 X3 DG/VT 0.50 HORN SWITCH SENSE N/A
10 Z937 BK 0.50 GROUND BASE
(1) Pins not listed are not used for this connector