LEMON Manuals: Even more car manuals for everyone
Home >> Jeep >> 2020 >> Compass Trailhawk >> Repair and Diagnosis (Single Page) >> Electrical >> Component Locations >> Connector End Views And Electrical Component Locations (4 Of 8) >> Module-Integrated Center Stack Switch Bank (Standard) Connector End View (D2695A)

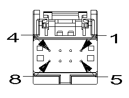
Module-Integrated Center Stack Switch Bank (Standard) Connector End View (D2695A)

Harness-Family: IP

Color: BLACK

Gender: FEMALE

Part Number: 30700-1081

Part Description: Not Available

Connector No: D2695A

Option: Standard

Repair Kit Part Number: Not Available

Cavity Count: null

Fig 1: Module-Integrated Center Stack Switch Bank Connector End View (Standard)
GCWD1006363Courtesy of CHRYSLER
Fig 2: Module-Integrated Center Stack Switch Bank Component Location (Standard)
GCWD1288201Courtesy of CHRYSLER
Pin Circuit Wire Color Gauge/Size Function Option
1 D463 OG 0.50 CAN IHS (+) N/A
2 R168 GN/WH 0.50 AIRBAG OFF LAMP PASSENGER N/A
3 R167 DB 0.50 AIRBAG ON LAMP PASSENGER N/A
4 A910 RD 0.75 FUSED B(+) N/A
5 D462 WH 0.50 CAN IHS (-) N/A
6 L2 WH/BU 0.35 HAZARD GROUND N/A
7 Z930 BK 0.75 GROUND BASE
8 L91 WH/DB 0.35 HAZARD SWITCH SENSE N/A
(1) Pins not listed are not used for this connector