LEMON Manuals: Even more car manuals for everyone
Home >> Jeep >> 2019 >> Compass Trailhawk >> Repair and Diagnosis (Single Page) >> Quick Lookups >> Wiring Diagrams >> Connector End Views & Electrical Component Locations (4 Of 8) >> Module-Inverter (Standard) Connector End View (D2831A)

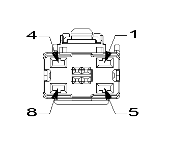
Module-Inverter (Standard) Connector End View (D2831A)

Harness-Family: IP

Color: GRAY

Gender: FEMALE

Part Number: 1456471-4

Part Description: Not Available

Connector No: D2831A

Option: Standard

Repair Kit Part Number: Not Available

Cavity Count: null

Fig 1: Module-Inverter Connector End View (Standard)
GCWD1012505Courtesy of CHRYSLER
Fig 2: Module-Inverter Component Location (Standard)
GCWD1256912Courtesy of CHRYSLER
Pin Circuit Wire Color Gauge/Size Function Option
1 P802 GN/OG 1.0 110/220 VOLT A/C INVERTER LINE 2 N/A
4 A401 RD/GN 2.0 FUSED B(+) N/A
5 P801 GN 1.0 110/220 VOLT A/C INVERTER LINE 1 N/A
6 P805 GN/DB 0.50 110/220 VOLT A/C INVERTER ENABLE N/A
8 Z930 BK 2.0 GROUND N/A
(1) Pins not listed are not used for this connector