LEMON Manuals: Even more car manuals for everyone
Home >> Jeep >> 2013 >> Compass Limited, FWD >> Repair and Diagnosis >> External Pages >> Different car >> Section 185 (Intrusion Transceiver Module (ITM) - Electrical Diagnostics) >> DTC Troubleshooting >> B1A41-Security Transmitter Sensor Circuit Open >> Notes

B1A41-Security Transmitter Sensor Circuit Open: Notes

WARNING: This page is about a different car, the 2012 Jeep Liberty. However, it is still accessible from the selected car via links, so may be relevant.
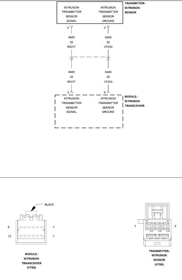
Fig 1: Security Transmitter Sensor (VTSS) Wiring Diagram
GC0151771Courtesy of CHRYSLER GROUP, LLC

For a complete wiring diagram, refer to appropriate SYSTEM WIRING DIAGRAMS article  .