LEMON Manuals: Even more car manuals for everyone
Home >> Jeep >> 2013 >> Compass Limited, AWD, Trans Mfr CD CVT2 >> Repair and Diagnosis >> Transmission >> Transmission Control Systems >> (Transmission Control Module (TCM) - Electrical Diagnostics - Continuously Variable Transmission (CVT)) >> DTC Troubleshooting >> U1146-Lost Communication With External Memory >> Diagnostic Test

Diagnostic Test

  1. CHECK IF THE DTC IS ACTIVE 
    1. With the scan tool, read Transmission DTCs.

      Is the status Active for this DTC?

      Yes 

      • Go To  2

      No 

      • Go To  12
  2. CHECK THE (T327) DATA IN/OUT SELECT CIRCUIT FOR A SHORT TO VOLTAGE 
    Fig 1: Checking Data In/Out Select Circuit For A Short To Voltage
    GC0100374Courtesy of CHRYSLER GROUP, LLC
    1. Turn the ignition off to the lock position.
    2. Disconnect the TCM C1 harness connector.
    3. Disconnect the Transmission Solenoid/Pressure Switch Assembly harness connector.
    4. Ignition on, engine not running.
    5. Measure the voltage of the (T327) Data IN/OUT Select circuit.

      Is the voltage above.02 volts?

      Yes 

      • Repair the (T327) Data IN/OUT Select circuit for a short to voltage.
      • Perform CVT VERIFICATION TEST. Refer to CVT VERIFICATION TEST  .

      No 

      • Go To  3
  3. CHECK THE (T313) CHIP SELECT CIRCUIT FOR A SHORT TO VOLTAGE 
    Fig 2: Checking Chip Select Circuit For A Short To Voltage
    GC0100375Courtesy of CHRYSLER GROUP, LLC
    1. Measure the voltage of the (T313) Chip Select circuit.

      Is the voltage above 0.1 volts?

      Yes 

      • Repair the (T313) Chip Select circuit for a short to voltage.
      • Perform CVT VERIFICATION TEST. Refer to CVT VERIFICATION TEST  .

      No 

      • Go To  4
  4. CHECK THE (T302) CLOCK SELECT CIRCUIT FOR A SHORT TO VOLTAGE 
    Fig 3: Checking Clock Select Circuit For A Short To Voltage
    GC0100376Courtesy of CHRYSLER GROUP, LLC
    1. Measure the voltage of the (T302) Clock Select circuit.

      Is the voltage above 0.2 volts?

      Yes 

      • Repair the (T302) Clock Select circuit for a short to voltage.
      • Perform CVT VERIFICATION TEST. Refer to CVT VERIFICATION TEST  .

      No 

      • Go To  5
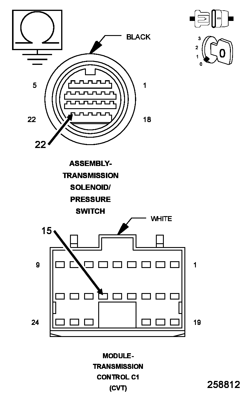
  5. CHECK THE (T327) DATA IN/OUT SELECT CIRCUIT FOR AN OPEN 
    Fig 4: Checking Data In/Out Select Circuit For An Open
    GC0100377Courtesy of CHRYSLER GROUP, LLC
    1. Turn the ignition off to the lock position.
    2. Measure the resistance of the (T327) Data In/OutSelect circuit between the TCM C1 harness connector and the Transmission Solenoid/Pressure Switch Assembly harness connector.

      Is the resistance above 5.0 ohms?

      Yes 

      • Repair the (T327) Data IN/OUT Select circuit for an open.
      • Perform CVT VERIFICATION TEST. Refer to CVT VERIFICATION TEST  .

      No 

      • Go To  6
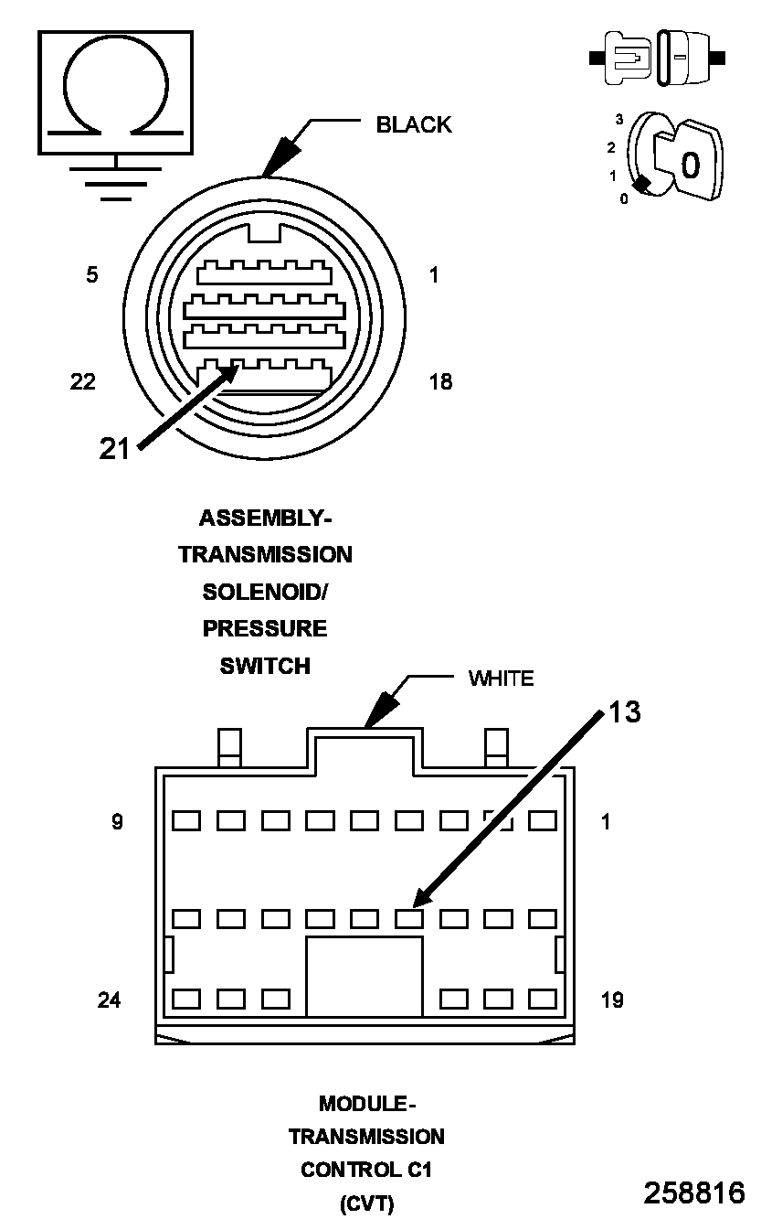
  6. CHECK THE (T313) CHIP SELECT CIRCUIT FOR AN OPEN 
    Fig 5: Checking Chip Select Circuit For An Open
    GC0100378Courtesy of CHRYSLER GROUP, LLC
    1. Measure the resistance of the (T313) Chip Select circuit between the TCM C1 harness connector and the Transmission Solenoid/Pressure Switch Assembly harness connector.

      Is the resistance above 5.0 ohms?

      Yes 

      • Repair the (T313) Chip Select circuit for an open.
      • Perform CVT VERIFICATION TEST. Refer to CVT VERIFICATION TEST  .

      No 

      • Go To  7
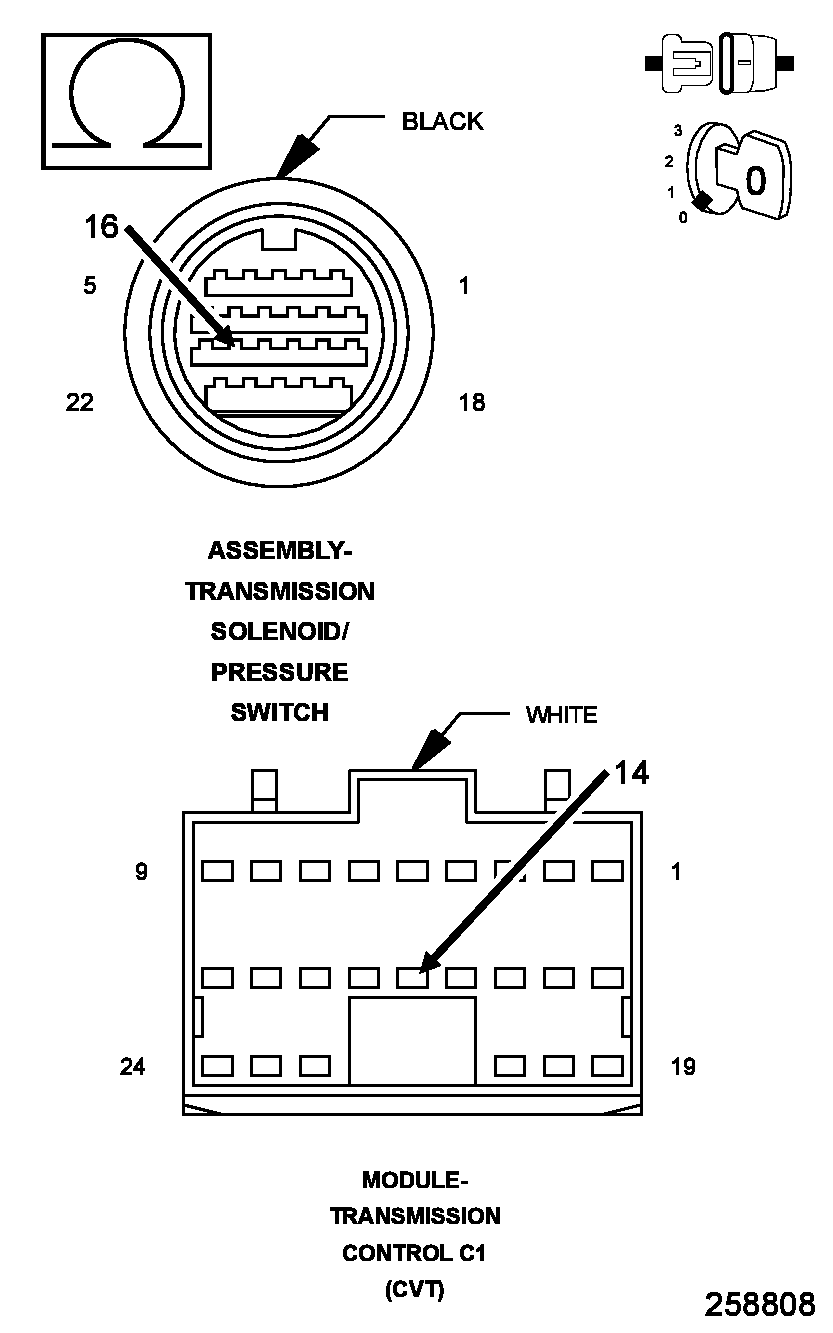
  7. CHECK THE (T302) CLOCK SELECT CIRCUIT FOR AN OPEN 
    Fig 6: Checking Clock Select Circuit For An Open
    GC0100379Courtesy of CHRYSLER GROUP, LLC
    1. Measure the resistance of the (T302) Clock Select circuit between the TCM C1 harness connector and the Transmission Solenoid/Pressure Switch Assembly harness connector.

      Is the resistance above 5.0 ohms?

      Yes 

      • Repair the (T302) Clock Select circuit for an open.
      • Perform CVT VERIFICATION TEST. Refer to CVT VERIFICATION TEST  .

      No 

      • Go To  8
  8. CHECK THE (T327) DATA IN/OUT SELECT CIRCUIT FOR A SHORT TO GROUND 
    Fig 7: Checking Data In/Out Select Circuit For A Short To Ground
    GC0100380Courtesy of CHRYSLER GROUP, LLC
    1. Measure the resistance between ground and the (T327) Data IN/OUT Select circuit.

      Is the resistance below 5.0 ohms?

      Yes 

      • Repair the (T327) Data IN/OUT Select circuit for a short to ground.
      • Perform CVT VERIFICATION TEST. Refer to CVT VERIFICATION TEST  .

      No 

      • Go To  9
  9. CHECK THE (T313) CHIP SELECT CIRCUIT FOR A SHORT TO GROUND 
    Fig 8: Checking Chip Select Circuit For A Short To Ground
    GC0100381Courtesy of CHRYSLER GROUP, LLC
    1. Measure the resistance between ground and the (T313) Chip Select circuit.

      Is the resistance below 5.0 ohms?

      Yes 

      • Repair the (T313) Chip Select circuit for a short to ground.
      • Perform CVT VERIFICATION TEST. Refer to CVT VERIFICATION TEST  .

      No 

      • Go To  10
  10. CHECK THE (T302) CLOCK SELECT CIRCUIT FOR A SHORT TO GROUND 
    Fig 9: Checking Clock Select Circuit For A Short To Ground
    GC0100382Courtesy of CHRYSLER GROUP, LLC
    1. Measure the resistance between ground and the (T302) Clock Select circuit.

      Is the resistance below 5.0 ohms?

      Yes 

      • Repair the (T302) Clock Select circuit for a short to ground.
      • Perform CVT VERIFICATION TEST. Refer to CVT VERIFICATION TEST  .

      No 

      • Go To  11
  11. CHECK THE TCM 
    1. Replace or repair the CV Transmission (valve body) in accordance with the Service Information. Perform CVT VERIFICATION TEST. Refer to CVT VERIFICATION TEST  .

      Did the DTC reset during the verification test?

      Yes 

      • Using the schematics as a guide, check the Transmission Control Module (TCM) terminals for corrosion, damage, or terminal push out. Pay particular attention to all power and ground circuits. Check for any Service Bulletins for possible causes that may apply. If no problems are found, replace the TCM in accordance with the Service Information.
      • Perform CVT VERIFICATION TEST. Refer to CVT VERIFICATION TEST  .

      No 

      • Test Complete.
  12. CHECK THE WIRING AND CONNECTORS 
    1. The conditions necessary to set this DTC are not present at this time.
    2. Using the schematics as a guide, inspect the wiring and connectors specific to this circuit.
    3. Wiggle the wires while checking for shorted and open circuits.

      Were there any problems found?

      Yes 

      No 

      • Test Complete.