LEMON Manuals: Even more car manuals for everyone
Home >> Jeep >> 2013 >> Compass Limited, AWD, Trans Mfr CD CVT2 >> Repair and Diagnosis >> Transmission >> Transmission Control Systems >> (Transmission Control Module (TCM) - Electrical Diagnostics - Continuously Variable Transmission (CVT)) >> DTC Troubleshooting >> P1729-Transmission Ratio Control Circuit >> Diagnostic Test

Diagnostic Test

  1. CHECK TO SEE IF THE DTC IS ACTIVE 
    1. With the scan tool, read Transmission DTCs.

      Is the status Active or is the Starts Since Set counter 2 or less for this DTC?

      Yes 

      • Go To  2

      No 

      • Go To  6
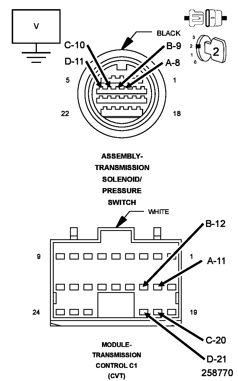
  2. CHECK THE (T314) A, (T315) B, (T316) C, AND (T317) D STEP MOTOR CONTROL CIRCUIT(S) FOR A SHORT TO VOLTAGE 
    Fig 1: Checking A-D Step Motor Control Circuit(s) For A Short To Voltage
    GC0100366Courtesy of CHRYSLER GROUP, LLC
    1. Turn the ignition off to the lock position.
    2. Disconnect the TCM C1 and C2 harness connectors.
    3. Disconnect the Transmission Solenoid/Pressure Switch Assembly harness connector.
    4. Ignition on, engine not running.
    5. Measure separately the voltage of the (T314) A, (T315) B, (T316) C, and (T317) D Step Motor Control circuits.

      Is the voltage above.05 of a volt for any of the Step Motor Control circuits?

      Yes 

      • Repair the (T314) A, (T315) B, (T316) C, and/or (T317) D Step Motor Control circuit(s) for a short to voltage.
      • Perform the CVT VERIFICATION TEST. Refer to CVT VERIFICATION TEST  .

      No 

      • Go To  3
  3. CHECK THE (T314) A, (T315) B, (T316) C, AND (T317) D STEP MOTOR CONTROL CIRCUIT(S) FOR AN OPEN 
    Fig 2: Checking A-D Step Motor Control Circuit(s) For An Open
    GC0100367Courtesy of CHRYSLER GROUP, LLC
    1. Turn the ignition off to the lock position.
    2. Measure separately the resistance of the (T314) A, (T315) B, (T316) C, and (T317) D Step Motor Control circuits between the TCM C1 harness connector and the Transmission Solenoid/Pressure Switch harness connector.

      Is the resistance above 5.0 Ohms for any of the Step Motor Control circuits?

      Yes 

      • Repair the (T314) A, (T315) B, (T316) C, and/or (T317) D Step Motor Control circuit(s) for an open.
      • Perform the CVT VERIFICATION TEST. Refer to CVT VERIFICATION TEST  .

      No 

      • Go To  4
  4. CHECK THE (T314) A, (T315) B, (T316) C, AND (T317) D STEP MOTOR CONTROL CIRCUIT(S) FOR A SHORT TO GROUND 
    Fig 3: Checking A-D Step Motor Control Circuit(s) For A Short To Ground
    GC0100368Courtesy of CHRYSLER GROUP, LLC
    1. Measure separately the resistance between ground and the (T314) A, (T315) B, (T316) C, and (T317) D Step Motor Control circuits.

      Is the resistance below 5.0 Ohms for any of the Step Motor Control circuits?

      Yes 

      • Repair the (T314) A, (T315) B, (T316) C, and/or (T317) D Step Motor Control circuit(s) for a short to ground.
      • Perform the CVT VERIFICATION TEST. Refer to CVT VERIFICATION TEST  .

      No 

      • Go To  5
  5. TRANSMISSION CONTROL MODULE 
    1. Replace the Transmission Control Module in accordance with the Service Information.
    2. Perform the CVT VERIFICATION TEST. Refer to CVT VERIFICATION TEST  .

      During the verification test did the DTC reset?

      Yes 

      • Replace Step Motor in accordance with the Service Information.
      • Perform the CVT VERIFICATION TEST. Refer to CVT VERIFICATION TEST  .

      No 

      • Test Complete.
  6. CHECK THE WIRING AND CONNECTORS 
    1. The conditions necessary to set this DTC are not present at this time.
    2. Using the schematics as a guide, inspect the wiring and connectors specific to this circuit.
    3. Wiggle the wires while checking for shorted and open circuits.

      Were there any problems found?

      Yes 

      No 

      • Test Complete.