LEMON Manuals: Even more car manuals for everyone
Home >> Jeep >> 2013 >> Compass Limited, AWD, Trans Mfr CD CVT2 >> Repair and Diagnosis >> Transmission >> Transmission Control Systems >> (Transmission Control Module (TCM) - Electrical Diagnostics - Continuously Variable Transmission (CVT)) >> DTC Troubleshooting >> P0716-Input Speed Sensor 1 Circuit Performance >> Diagnostic Test

Diagnostic Test

  1. CHECK TO SEE IF THE DTC IS ACTIVE 
    1. With the scan tool, read Transmission DTCs.

      Is the status Active or is the Starts Since Set counter 2 or less for this DTC?

      Yes 

      • Go To  2

      No 

      • Go To  10
  2. CHECK FOR ENGINE CAM OR CRANK SENSOR DTCS 
    1. With the scan tool, check engine DTCs.

      Are there any Engine Cam or Crank sensor DTCs present?

      Yes 

      No 

      • Go To  3
  3. CHECK THE (T16) TRANSMISSION CONTROL OUTPUT CIRCUIT FOR AN OPEN (HIGH RESISTANCE) 
    Fig 1: Checking Transmission Control Output Circuit For An Open (High Resistance)
    GC0100317Courtesy of CHRYSLER GROUP, LLC
    1. Disconnect the Input Speed Sensor harness connector.
    2. Ignition on, engine not running
    3. With the scan tool under TIPM, actuate the Transmission.
    4. Using a 12-volt test light connected to ground, check the (T16) Transmission Control Output circuit at the Input Speed Sensor harness connector.
      NOTE:

      The test light must illuminate brightly. Compare the brightness to that of a direct connection to the battery.

      Does the test light illuminate brightly?

      Yes 

      • Go To  4

      No 

      • Repair the (T16) Transmission Control Output circuit for an open or high resistance.
      • Perform CVT VERIFICATION TEST. Refer to CVT VERIFICATION TEST  .
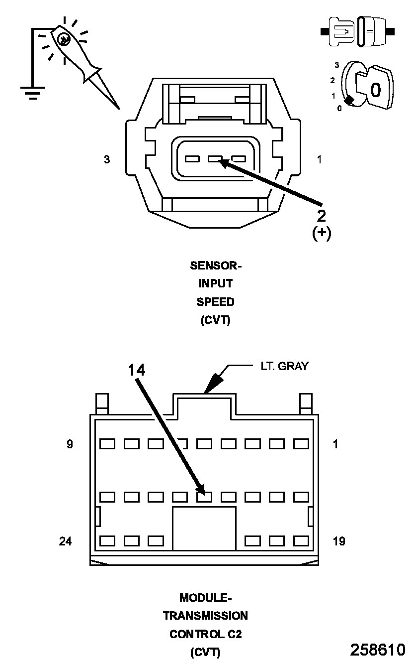
  4. CHECK THE (T14) INPUT SPEED SENSOR SIGNAL CIRCUIT 
    Fig 2: Checking Input Speed Sensor Signal Circuit
    GC0100318Courtesy of CHRYSLER GROUP, LLC
    1. With the scan tool under TIPM, stop the Transmission actuator.
    2. Turn the ignition off, wait 5 seconds, then turn the ignition on.
    3. Measure the voltage of the (T14) Input Speed Sensor Signal circuit.

      Pick the answer that best matches your findings:

      Voltage above 5.5 volts 

      • Go To  6

      Voltage below 4.5 volts 

      • Go To  5

      Voltage between 4.5 and 5.5 volts 

      • Go To  7
  5. CHECK THE (T14) INPUT SPEED SENSOR SIGNAL CIRCUIT FOR AN OPEN (HIGH RESISTANCE) 
    Fig 3: Checking Input Speed Sensor Signal Circuit For An Open (High Resistance)
    GC0100319Courtesy of CHRYSLER GROUP, LLC
    1. Turn the ignition off to the lock position.
    2. Disconnect the TCM C2 harness connector.
    3. Connect a jumper wire between the (T14) Input Speed Sensor Signal circuit in the Input Speed Sensor harness connector and B(+).
    4. Using a 12-volt test light connected to ground, check the (T14) Input Speed Sensor Signal circuit in the TCM C2 harness connector.
      NOTE:

      The test light must illuminate brightly. Compare the brightness to that of a direct connection to the battery.

      Does the test light illuminate brightly?

      Yes 

      • Using the schematics as a guide, check the Transmission Control Module (TCM) terminals for corrosion, damage, or terminal push out. Pay particular attention to all power and ground circuits. Check for any Service Bulletins for possible causes that may apply. If no problems are found, replace the TCM in accordance with the Service Information.
      • Perform CVT VERIFICATION TEST. Refer to CVT VERIFICATION TEST  .

      No 

      • Repair the (T14) Input Speed Sensor Signal circuit for an open or high resistance.
      • Perform CVT VERIFICATION TEST. Refer to CVT VERIFICATION TEST  .
  6. CHECK THE (T14) INPUT SPEED SENSOR SIGNAL CIRCUIT FOR A SHORT TO VOLTAGE 
    Fig 4: Checking Input Speed Sensor Signal Circuit For Short To Voltage
    GC0100318Courtesy of CHRYSLER GROUP, LLC
    1. Turn the ignition off to the lock position.
    2. Disconnect the TCM C2 harness connector.
    3. Ignition on, engine not running
    4. Measure the voltage of the (T14) Input Speed Sensor Signal circuit.

      Is the voltage above 0.2 volts?

      Yes 

      • Repair the (T14) Input Speed Sensor Signal circuit for a short to voltage.
      • Perform CVT VERIFICATION TEST. Refer to CVT VERIFICATION TEST  .

      No 

      • Using the schematics as a guide, check the Transmission Control Module (TCM) terminals for corrosion, damage, or terminal push out. Pay particular attention to all power and ground circuits. Check for any Service Bulletins for possible causes that may apply. If no problems are found, replace the TCM in accordance with the Service Information.
      • Perform CVT VERIFICATION TEST. Refer to CVT VERIFICATION TEST  .
  7. CHECK THE TORQUE CONVERTER 
    1. Turn the ignition off to the lock position.
    2. Reinstall all components and reconnect all previously disconnected harness connectors.
    3. Ignition on, engine not running
    4. With the scan tool, erase all Transmission DTCs.
    5. Test drive the vehicle to speeds allowing the Torque Converter to obtain lock-up. Note the Engine rpm compared to the Transmission Input rpm.

      Did the difference between the Engine rpm and the Transmission Input rpm differ over 1000 rpm?

      Yes 

      • Go To  8

      No 

      • Go To  9
  8. CHECK THE INPUT SPEED SENSOR 
    1. Turn the ignition off to the lock position.
    2. Remove the Input Speed Sensor in accordance with the Service Information.
    3. Check the Input Speed Sensor for any debris buildup or damage.

      Did the Input Speed Sensor show any signs of debris buildup or damage?

      Yes 

      • If there is a debris build up, clean the Output Speed Sensor as necessary and reinstall. If damaged or questionable in condition, replace the Input Speed Sensor.
      • Perform CVT VERIFICATION TEST. Refer to CVT VERIFICATION TEST  .

      No 

      • Replace the Torque Converter in accordance with the Service Information.
      • Perform CVT VERIFICATION TEST. Refer to CVT VERIFICATION TEST  .
  9. CHECK IF THE DTC RESETS 

    Did the DTC P0716-INPUT SPEED SENSOR 1 CIRCUIT PERFORMANCE reset during the test drive?

    Yes 

    • Using the schematics as a guide, check the Transmission Control Module (TCM) terminals for corrosion, damage, or terminal push out. Pay particular attention to all power and ground circuits. Check for any Service Bulletins for possible causes that may apply. If no problems are found, replace the TCM in accordance with the Service Information.
    • Perform CVT VERIFICATION TEST. Refer to CVT VERIFICATION TEST  .

    No 

    • Go To  10
  10. CHECK THE WIRING AND CONNECTORS 
    1. The conditions necessary to set this DTC are not present at this time.
    2. Using the schematics as a guide, inspect the wiring and connectors specific to this circuit.
    3. Wiggle the wires while checking for shorted and open circuits.
    4. Check for any Service Bulletins for possible causes that may apply.

      Were there any problems found?

      Yes 

      No 

      • Test Complete.