LEMON Manuals: Even more car manuals for everyone
Home >> Jeep >> 2013 >> Compass Limited, AWD, Trans Mfr CD CVT2 >> Repair and Diagnosis >> Transmission >> Transmission Control Systems >> (Transmission Control Module (TCM) - Electrical Diagnostics - Continuously Variable Transmission (CVT)) >> DTC Troubleshooting >> P0707-Transmission Range Sensor Circuit Low >> Diagnostic Test

Diagnostic Test

  1. CHECK TO SEE IF THE DTC IS ACTIVE 
    1. With the scan tool, read Transmission DTCs.

      Is the status Active or is the Starts Since Set counter 2 or less for this DTC?

      Yes 

      • Go To  2

      No 

      • Go To  9
  2. CHECK THE TRS HARNESS CONNECTOR 
    1. Turn the ignition off to the lock position.
    2. Check if the TRS harness connector for terminal push out, corrosion or if it is properly plugged in.
      NOTE:

      If the Transmission Range Sensor is unplugged the vehicle will not start.

      Were there any problems found?

      Yes 

      No 

      • Go To  3
  3. CHECK THE TRS INSTALLATION AND ADJUSTMENT 
    1. Turn the ignition off to the lock position.
    2. Check if the TRS is properly installed and adjusted in accordance with the Service Information.

      Was the TRS properly installed and adjusted?

      Yes 

      • Go To  4

      No 

      • Properly install or adjust the TRS in accordance with the Service Information.
      • Perform the CVT VERIFICATION TEST. Refer to CVT VERIFICATION TEST  .
  4. CHECK THE TRS READINGS ON THE SCAN TOOL 
    SHIFT LEVER POSITION TO TRS SWITCH STATE 
    PARK  REVERSE  NEUTRAL  DRIVE  LOW 
    T41 CLOSED T42 CLOSED T4 CLOSED T3 CLOSED T1 CLOSED
    1. Ignition on, engine not running.
    2. With the scan tool, read the TRS states while moving the shift lever to all positions note any circuits that do not change.
      NOTE:

      Vehicles equipped with the AutoStick feature will not have a low range shift position.

      Pick which answer best describes your findings:

      One TRS Sense circuit failed to change on the scan tool 

      • Go To  6

      None of the TRS Sense circuits changed at all 

      • Go To  5

      All TRS Sense circuits changed properly on the scan tool 

      • Check the Sift Lever Cable for proper adjustment and binding in accordance with the Service Information. If no problems are found, using the schematics as a guide, check the Transmission Control Module (TCM) terminals for corrosion, damage, or terminal push out. Pay particular attention to all power and ground circuits. Check for any Service Bulletins for possible causes that may apply. If again no problems are found, replace the TCM in accordance with the Service Information
      • Perform the CVT VERIFICATION TEST. Refer to CVT VERIFICATION TEST  .
  5. CHECK THE (T16) TRANSMISSION CONTROL OUTPUT CIRCUIT FOR AN OPEN 
    Fig 1: Checking Transmission Control Output Circuit For An Open
    GC0100308Courtesy of CHRYSLER GROUP, LLC
    1. Turn the ignition off to the lock position.
    2. Disconnect the TRS harness connector.
    3. Ignition on, engine not running.
    4. Using the scan tool under TIPM, actuate the transmission relay.
    5. Using a 12-volt test light connected to ground, check the (T16) Transmission Control Output circuit in the TRS harness connector.
      NOTE:

      The test light must illuminate brightly. Compare the brightness to that of a direct connection to the battery.

      Does the test light illuminate brightly?

      Yes 

      • Go To  8

      No 

      • Repair the (T16) Transmission Control Output circuit for an open.
      • Perform the CVT VERIFICATION TEST. Refer to CVT VERIFICATION TEST  .
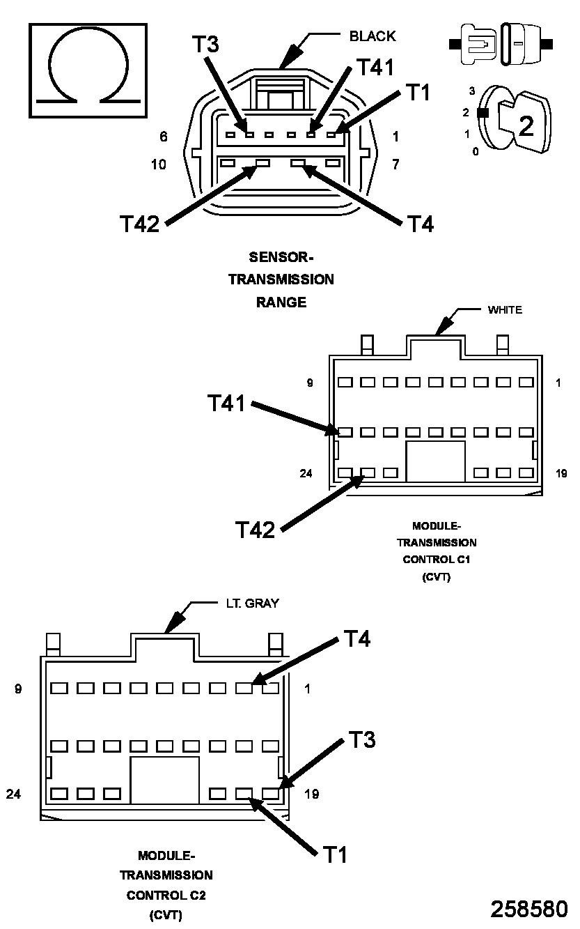
  6. CHECK THE TRS SENSE CIRCUIT FOR AN OPEN 
    Fig 2: Checking TRS Sense Circuit For An Open
    GC0100309Courtesy of CHRYSLER GROUP, LLC
    1. Turn the ignition off to the lock position.
    2. Disconnect the TRS harness connector.
    3. Check the resistance of the previously identified TRS Sense circuit between the TRS harness connector and the TCM harness connector.

      Is the resistance above 5.0 Ohms?

      Yes 

      • Repair the identified TRS Sense circuit for an open
      • Perform the CVT VERIFICATION TEST. Refer to CVT VERIFICATION TEST  .

      No 

      • Go To  7
  7. CHECK THE TRS SENSE CIRCUIT FOR A SHORT TO GROUND 
    Fig 3: Checking TRS Sense Circuit For A Short To Ground
    GC0100310Courtesy of CHRYSLER GROUP, LLC
    1. Turn the ignition off to the lock position.
    2. Disconnect the TRS harness connector.
    3. Check the resistance between ground and the identified TRS Sense circuit in the previous test procedure.

      Is the resistance below 5.0 Ohms?

      Yes 

      • Repair the identified TRS Sense circuit for a short to ground
      • Perform the CVT VERIFICATION TEST. Refer to CVT VERIFICATION TEST  .

      No 

      • Replace the Transmission Range Sensor (TRS) in accordance with the Service Information.
      • Perform the CVT VERIFICATION TEST. Refer to CVT VERIFICATION TEST  .
  8. CHECK THE TRANSMISSION RANGE SENSOR 
    SHIFT LEVER POSITION TO TRS SWITCH STATE 
    PARK  REVERSE  NEUTRAL  DRIVE  LOW 
    T41 CLOSED T42 CLOSED T4 CLOSED T3 CLOSED T1 CLOSED
    Fig 4: Checking Transmission Range Sensor
    GC0100311Courtesy of CHRYSLER GROUP, LLC
    1. Stop the scan tool transmission actuation and turn the ignition off to the lock position.
    2. Reconnect the TRS harness connector.
    3. Disconnect the TCM C1 and C2 harness connectors.
    4. Ignition on, engine not running.
    5. Using the scan tool under TIPM, actuate the transmission relay.
    6. Using a 12-volt test light connected to ground, check each TRS Sense circuit (T41, T42, T4, T3, and T1) in the TCM C1 and C2 harness connectors while moving the shift lever to each desired position.
      NOTE:

      Use the above chart to identify which sense circuit should be closed in each shift lever position.

      Does the test light illuminate brightly on all the TRS Sense circuits?

      Yes 

      • Using the schematics as a guide, check the Transmission Control Module (TCM) terminals for corrosion, damage, or terminal push out. Pay particular attention to all power and ground circuits. Check for any Service Bulletins for possible causes that may apply. If no problems are found, replace the TCM in accordance with the Service Information.
      • Perform the CVT VERIFICATION TEST. Refer to CVT VERIFICATION TEST  .

      No 

      • Replace the Transmission Range Sensor in accordance with the Service Information.
      • Perform the CVT VERIFICATION TEST. Refer to CVT VERIFICATION TEST  .
  9. CHECK THE WIRING AND CONNECTORS 
    1. The conditions necessary to set this DTC are not present at this time.
    2. Using the schematics as a guide, inspect the wiring and connectors specific to this circuit.
    3. Wiggle the wires while checking for shorted and open circuits.

      Were there any problems found?

      Yes 

      No 

      • Test Complete.