LEMON Manuals: Even more car manuals for everyone
Home >> Jeep >> 2013 >> Compass Limited, AWD, Trans Mfr CD CVT2 >> Repair and Diagnosis >> External Pages >> Different car >> Section 162 (Wiper System & Washer System (Service Information)) >> Blade, Wiper >> Installation >> Front

Blade, Wiper: Installation: Front

WARNING: This page is about a different car, the 2012 Jeep Liberty. However, it is still accessible from the selected car via links, so may be relevant.
CAUTION:

Do not allow the wiper arm to spring back against the glass without the wiper blade in place or the glass may be damaged.

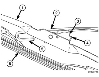
Fig 1: Removing/Installing Wiper Blade
GC0084038Courtesy of CHRYSLER GROUP, LLC
NOTE:

The notched end of the wiper element flexor should always be oriented towards the end of the wiper blade that is nearest to the wiper pivot.

  1. Lift the wiper arm (2) off of the windshield glass, until the wiper arm hinge is in its over-center position.
  2. Position the wiper blade near the hook formation (5) on the tip of the arm with the notched end of the wiper element flexor oriented towards the end of the wiper arm that is nearest to the wiper pivot.
  3. Insert the hook formation on the tip of the arm through the opening in the blade superstructure (1) ahead of the pivot block (3) far enough to engage the pivot block into the hook.
  4. Slide the pivot block up into the hook formation on the tip of the wiper arm until the latch release tab (4) snaps into its locked position. Latch engagement will be accompanied by an audible click.
  5. Gently lower the wiper blade and element (6) onto the glass.