LEMON Manuals: Even more car manuals for everyone
Home >> Jeep >> 2012 >> Compass Limited, AWD, Standard >> Repair and Diagnosis >> External Pages >> Different car >> Section 141 (Drivetrain Control Module (DTCM) - Electrical Diagnostics) >> DTC Troubleshooting >> C1465-Front Axle Disconnect Control Circuit High >> Diagnostic Test

Diagnostic Test

WARNING: This page is about a different car, the 2012 Chrysler 300. However, it is still accessible from the selected car via links, so may be relevant.
  1. VERIFY THE DTC IS ACTIVE 
    1. Ignition on, engine not running.
    2. With the scan tool, erase DTCs.
    3. With the scan tool, read DTCs.

      Is the DTC active at this time?

      Yes 

      • Go To  2.

      No 

      • Go To  6.
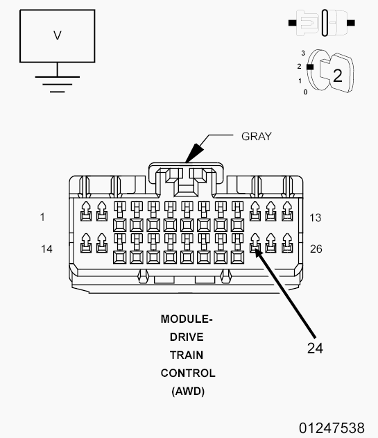
  2. (G304) FRONT AXLE LOCK CONTROL CIRCUIT SHORTED TO VOLTAGE 
    Fig 1: Checking Front Axle Disconnect (FAD) Module For A Short To Voltage
    GC0096572Courtesy of CHRYSLER GROUP, LLC
    1. Turn the ignition off to the lock position.
    2. Disconnect the DTCM harness connector.
    3. Disconnect the FAD Module harness connector.
    4. Ignition on, engine not running.
    5. Measure the voltage between ground and the (G304) Front Axle Lock Control circuit.

      Is any there voltage present?

      Yes 

      • Repair the short to voltage in the (G304) Front Axle Lock Control circuit.
      • Perform the DTCM VERIFICATION TEST. Refer to DTCM VERIFICATION TEST .

      No 

      • Go To  3.
  3. FRONT AXLE DISCONNECT (FAD) MODULE SHORTED TO VOLTAGE 
    Fig 2: Checking Front Axle Disconnect (FAD) Module For A Short To Voltage
    GC0096572Courtesy of CHRYSLER GROUP, LLC
    1. Turn the ignition off to the lock position.
    2. Connect the FAD Module harness connector.
    3. Ignition on, engine not running.
    4. Measure the voltage between ground and the (G304) Front Axle Lock Control circuit at the DTCM harness connector.

      Is any there voltage present?

      Yes 

      • Go To  5.

      No 

      • Go To  4.
  4. DRIVE TRAIN CONTROL MODULE (DTCM) 
    1. Using the wiring diagram/schematic as a guide, inspect all wiring and connectors that pertain to this circuit.

      Were any problems found?

      Yes 

      No 

  5. FRONT AXLE DISCONNECT (FAD) MODULE 
    1. Using the wiring diagram/schematic as a guide, inspect all wiring and connectors that pertain to this circuit.

      Were any problems found?

      Yes 

      No 

      • Replace the Front Axle Disconnect (FAD) Module in accordance with the Service Information.
      • Perform the DTCM VERIFICATION TEST. Refer to DTCM VERIFICATION TEST .
  6. INTERMITTENT WIRING HARNESS AND CONNECTORS 
    1. The conditions necessary to set this DTC are not present at this time.
    2. Using the schematics as a guide, inspect the wiring harness and connectors specific to this circuit.
    3. Wiggle test the wiring harness and connectors while monitoring the scan tool data relative to this circuit.
    4. Using the scan tool, monitor the data related to this circuit while performing the wiggle test. Look for the data to change or for the DTC to reset.

      Were there any problems found?

      Yes 

      No 

      • Test Complete.