LEMON Manuals: Even more car manuals for everyone
Home >> Jeep >> 2010 >> Commander Limited, 4WD >> Repair and Diagnosis >> Engine Performance >> Engine Control Systems >> Front Control Module (FCM) - Electrical Diagnostics >> DTC Troubleshooting >> B2336-Horn Control Circuit Low >> Diagnostic Test

Diagnostic Test

  1. TEST FOR INTERMITTENT CONDITION 
    1. Turn the ignition on.
    2. With the scan tool, record and erase DTCs.
    3. Operate the Horn Switch several times.
    4. Cycle the ignition from on to off three times and leave on.
    5. With the scan tool, read DTCs.

      Does the scan tool display: B2336 HORN CONTROL CIRCUIT LOW?

      Yes 

      • Go to step  2

      No 

  2. CHECK THE HORN FUSE 
    Fig 1: Checking Horn Fuse
    GC0120181Courtesy of CHRYSLER LLC
    1. Turn the ignition off.
    2. Remove and inspect the Horn fuse.

      Is the Horn Fuse open?

      Yes 

      • Go to step  3

      No 

      • Reinstall the Horn Fuse. Then, Go To  7.
  3. CHECK FOR A SHORTED HORN RELAY 
    Fig 2: Checking For A Shorted Horn Relay
    GC0120182Courtesy of CHRYSLER LLC
    1. Install a known good relay in place of the Horn Relay.
    2. Replace the Horn fuse.
    3. Turn the ignition on.
    4. With the scan tool, record and erase DTCs.
    5. Operate the Horn Switch several times.
    6. Cycle the ignition from on to off three times and leave on.
    7. With the scan tool, read DTCs.

      Does the scan tool display: B2336 HORN CONTROL CIRCUIT LOW?

      Yes 

      • Go to step  4

      No 

  4. CHECK THE (A43) FUSED B(+) CIRCUIT FOR A SHORT TO GROUND 
    Fig 3: Checking Fused B(+) Circuit For A Short To Ground
    GC0120183Courtesy of CHRYSLER LLC
    1. Turn the ignition off.
    2. Remove the Horn Relay.
    3. Remove the Horn Fuse.
    4. Measure the resistance of the (A43) Fused B(+) circuit between ground and Cavity 86 of the Horn Relay connector in the Integrated Power Module (IPM).
    5. Measure the resistance of the (A43) Fused B(+) circuit between ground and Cavity 30 of the Horn Relay connector in the Integrated Power Module (IPM).

      Is the resistance below 10k ohms?

      Yes 

      No 

      • Go to step  5
  5. CHECK THE (X4) HORN RELAY CONTROL CIRCUIT FOR A SHORT TO GROUND 
    Fig 4: Checking Horn Relay Control Circuit For A Short To Ground
    GC0120184Courtesy of CHRYSLER LLC
    1. Remove the Front Control Module (FCM) in accordance with the Service Information.
    2. Measure the resistance of the (X4) Horn Relay Control circuit between ground and Cavity 85 of the Horn Relay connector in the Integrated Power Module (IPM).

      Is the resistance below 10k ohms?

      Yes 

      No 

      • Replace the Front Control Module (FCM) in accordance with the Service Information. Then, Go To  6.
  6. CHECK FOR A SHORTED INTEGRATED POWER MODULE (IPM) 
    Fig 5: Checking For A Shorted Horn Relay
    GC0120182Courtesy of CHRYSLER LLC
    1. Install the original Horn Relay.
    2. Replace the Horn fuse.
    3. Turn the ignition on.
    4. With the scan tool, record and erase DTCs.
    5. Operate the Horn Switch several times.
    6. Cycle the ignition from on to off three times and leave on.
    7. With the scan tool, read DTCs.

      Does the scan tool display: B2336 HORN CONTROL CIRCUIT LOW?

      Yes 

      No 

  7. CHECK FOR POWER TO THE HORN FUSE 
    Fig 6: Checking For Power To Horn Fuse
    GC0120185Courtesy of CHRYSLER LLC
    1. Turn the ignition on.
    2. Using a 12-volt test light connected to ground, check for power to the Horn Fuse.

      Does the test light illuminate brightly?

      Yes 

      • Go to step  8

      No 

  8. CHECK FOR AN OPEN HORN RELAY 
    Fig 7: Checking For An Open Horn Relay
    GC0120186Courtesy of CHRYSLER LLC
    1. Turn the ignition off.
    2. Install a known good relay in place of the Horn Relay.
    3. Turn the ignition on.
    4. With the scan tool, record and erase DTCs.
    5. Operate the Horn Switch several times.
    6. Cycle the ignition from on to off three times and leave on.
    7. With the scan tool, read DTCs.

      Does the scan tool display: B2336 HORN CONTROL CIRCUIT LOW?

      Yes 

      • Go to step  9

      No 

  9. CHECK THE (A43) FUSED B(+) CIRCUIT FOR AN OPEN 
    Fig 8: Checking Fused B(+) Circuit For An Open
    GC0120187Courtesy of CHRYSLER LLC
    1. Turn the ignition off.
    2. Remove the Horn Relay.
    3. Remove the Horn Fuse.
    4. Measure the resistance of the (A43) Fused B(+) circuit between the Horn Fuse (output cavity) and Cavity 86 of the Horn Relay connector in the Integrated Power Module (IPM).
    5. Measure the resistance of the (A43) Fused B(+) circuit between the Horn Fuse (output cavity) and Cavity 30 of the Horn Relay connector in the Integrated Power Module (IPM).

      Is the resistance below 5.0 ohms?

      Yes 

      • Go to step  10

      No 

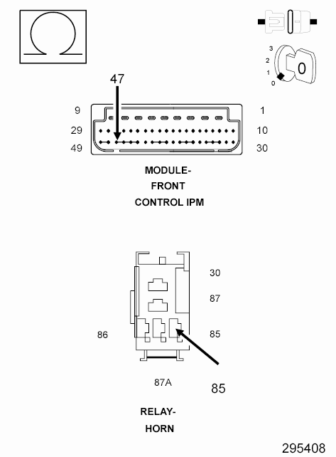
  10. CHECK THE (X4) HORN RELAY CONTROL CIRCUIT FOR AN OPEN 
    Fig 9: Checking Horn Relay Control Circuit For An Open
    GC0120188Courtesy of CHRYSLER LLC
    1. Remove the Front Control Module (FCM) in accordance with the Service Information.
    2. Measure the resistance of the (X4) Horn Relay Control circuit between Cavity 85 of the Horn Relay connector in the Integrated Power Module (IPM) and Cavity 47 of the FCM 49-Way connector.

      Is the resistance below 5.0 ohms?

      Yes 

      No