LEMON Manuals: Even more car manuals for everyone
Home >> Jeep >> 2010 >> Commander Limited, 4WD >> Repair and Diagnosis >> Engine Performance >> Engine Control Systems >> Front Control Module (FCM) - Electrical Diagnostics >> DTC Troubleshooting >> B166B-Left Trailer Tow Lamp Control Circuit Low >> Circuit Schematic

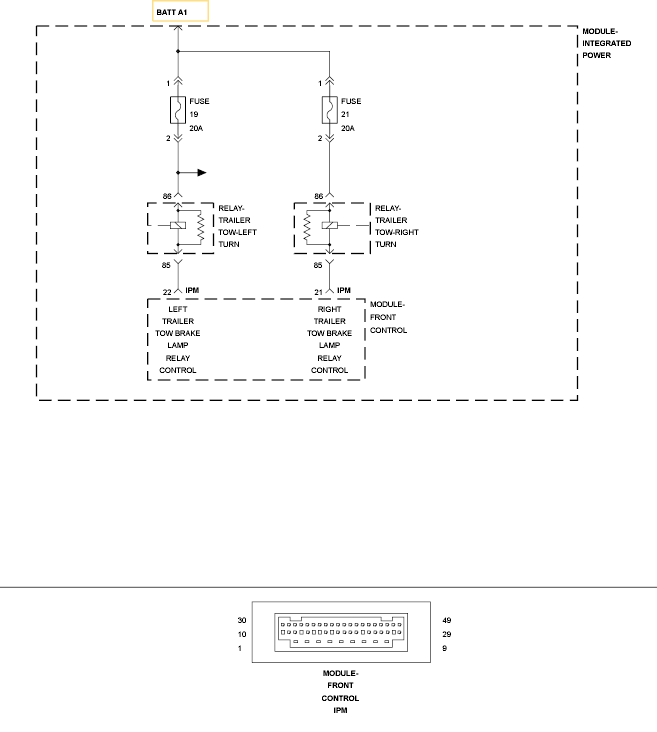
Circuit Schematic

Fig 1: Trailer Tow Lamp Control Low Circuit Schematic
GC0120116Courtesy of CHRYSLER LLC