LEMON Manuals: Even more car manuals for everyone
Home >> Jeep >> 2009 >> Commander Overland, 4WD >> Repair and Diagnosis >> External Pages >> Different variant/trim >> Section 1 (3.7L Engine (Service Information)) >> Engine Block >> ROD, Piston and Connecting >> Standard Procedure >> Connecting Rod Bearing Fitting

Connecting Rod Bearing Fitting

WARNING: This page is about a different variant/trim than selected.
Fig 1: Connecting Rod Bearing Inspection
GC0104506Courtesy of CHRYSLER LLC

Inspect the connecting rod bearings for scoring (1) and (3). Check the bearings for normal wear patterns, scoring, grooving, fatigue and pitting. Replace any bearing that shows abnormal wear.

Inspect the connecting rod journals for signs of scoring, nicks and burrs.

Misaligned or bent connecting rods can cause abnormal wear on pistons, piston rings, cylinder walls, connecting rod bearings and crankshaft connecting rod journals. If wear patterns or damage to any of these components indicate the probability of a misaligned connecting rod, inspect it for correct rod alignment. Replace misaligned, bent or twisted connecting rods.

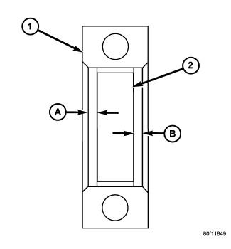
Fig 2: Identifying Center Bearing Insert In Connecting Rod
GC0104507Courtesy of CHRYSLER LLC
  1. Wipe the oil from the connecting rod journal.
  2. Lubricate the upper bearing insert (2) and position in connecting rod (1). Center bearing insert in connecting rod
  3. Measure at point A and point B. Measurement should be less then 0.50 mm (0.0196 in.).
    Fig 3: Identifying Piston Ring Components
    GC0104508Courtesy of CHRYSLER LLC
  4. Use piston ring compressor (3) and Guide Pins Special Tool 8507 (4) to install the rod and piston assemblies. The oil slinger slots in the rods must face front of the engine. The "F"'s (1) near the piston wrist pin bore should point to the front of the engine.
    Fig 4: Measuring Bearing Clearance with Plastigage
    GC0104509Courtesy of CHRYSLER LLC
  5. Install the lower bearing insert in the bearing cap. Center bearing insert in connecting rod. The lower insert must be dry. Place strip of Plastigage (1) across full width of the lower insert at the center of bearing cap. Plastigage must not crumble in use. If brittle, obtain fresh stock.
  6. Install bearing cap and connecting rod on the journal and tighten bolts to 27 N.m (20 ft. lbs.) plus a 90° turn. DO NOT rotate crankshaft. Plastigage will smear, resulting in inaccurate indication.
  7. Remove the bearing cap and determine amount of bearing-to-journal clearance by measuring the width of compressed Plastigage (2). Refer to Specifications  for the proper clearance. Plastigage should indicate the same clearance across the entire width of the insert. If the clearance varies, it may be caused by either a tapered journal, bent connecting rod or foreign material trapped between the insert and cap or rod. 
  8. If the correct clearance is indicated, replacement of the bearing inserts is not necessary. Remove the Plastigage from crankshaft journal and bearing insert. Proceed with installation.
  9. If bearing-to-journal clearance exceeds the specification, determine which services bearing set to use the bearing sizes are as follows:
    Bearing Mark  SIZE  USED WITH JOURNAL SIZE 
    0.025 US  0.025 mm (0.001 in.) 57.883-57.867 mm (2.2788-2.2783 in.)
    Std.  STANDARD 57.908-57.892 mm (2.2798-2.2792 in.)
    0.250 US  0.250 mm (0.010 in.) 57.658-57.646 mm (2.2700-2.2695 in.)
  10. Repeat the Plastigage measurement to verify your bearing selection prior to final assembly.
  11. Once you have selected the proper insert, install the insert and cap. Tighten the connecting rod bolts to 27 N.m (20 ft. lbs.) plus a 90° turn.
    Fig 5: Checking Connecting Rod Side Clearance-Typical
    GC0104510Courtesy of CHRYSLER LLC

Slide snug-fitting feeler gauge between the connecting rod and crankshaft journal flange. Refer to Specifications  for the proper clearance. Replace the connecting rod if the side clearance is not within specification.