LEMON Manuals: Even more car manuals for everyone
Home >> Jeep >> 2009 >> Commander Overland, 4WD >> Repair and Diagnosis >> External Pages >> Different car >> Section 24 (Electronic Control Modules - Electrical Diagnostics) >> Electronic Control Modules - Electrical Diagnostics >> DTC Troubleshooting >> *No Response From FDCM (Final Drive Control Module) >> Diagnostic Test

Diagnostic Test

WARNING: This page is about a different car, the 2008 Jeep Commander. However, it is still accessible from the selected car via links, so may be relevant.
  1. TEST FOR INTERMITTENT CONDITION 

    Turn the ignition on.

    NOTE: Ensure the IOD fuse is installed and battery voltage is between 10.0 and 16.0 volts.

    With the scan tool, select ECU view.

    NOTE: A red X will be next to the module that is not communicating, indicating that the module is not active on the Bus network. A green check indicates that the module is active on the Bus network.
    NOTE: Check the FCM for any active CAN C hardware DTCs, perform DTC before proceeding.

    Does the scan tool display a red X next to the module? 

    Yes 

    1. Go To step  2.

    No 

    1. The no response condition is not present at this time. Using the wiring diagram/schematic as a guide, inspect the wiring for chafed, pierced, pinched, and partially broken wires and the wiring harness connectors for broken, bent, pushed out, and corroded terminals.
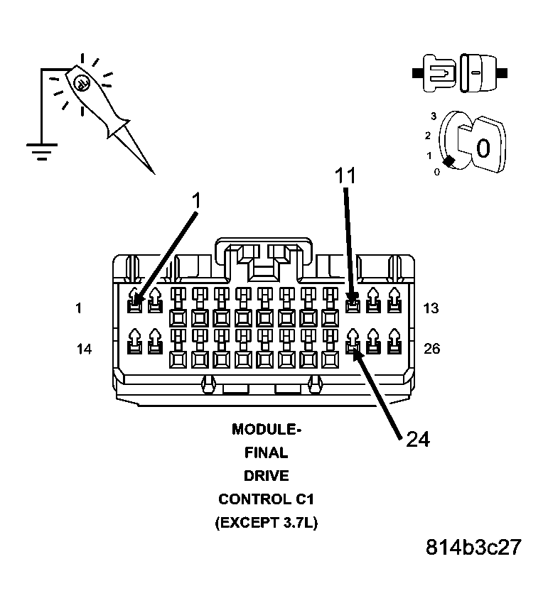
  2. FUSED B(+) CIRCUIT OPEN OR SHORTED 
    Fig 1: Checking Fused B(+) Circuit
    GC0027525Courtesy of CHRYSLER LLC

    Turn the ignition off.

    Disconnect the Final Drive Control Module harness connectors.

    Using a 12-volt test light connected to ground, check each Fused B(+) circuit.

    Does the test light illuminate brightly for each circuit? 

    Yes 

    1. Go To step  3.

    No 

    1. Repair the Fused B(+) circuit for an open or short.
    2. Perform FDCM VERIFICATION TEST .
  3. GROUND CIRCUIT OPEN 
    Fig 2: Checking Ground Circuit
    GC0027526Courtesy of CHRYSLER LLC

    Using a 12-volt test light connected to 12-volts, check each Ground circuit.

    Does the test light illuminate brightly for each circuit? 

    Yes 

    1. Go To step  4.

    No 

    1. Repair the ground circuit for an open.
    2. Perform FDCM VERIFICATION TEST .
  4. (F921) FUSED RUN RELAY OUTPUT CIRCUIT OPEN OR SHORTED 
    Fig 3: Checking (F921) Fused Run Relay Output Circuit
    GC0027527Courtesy of CHRYSLER LLC

    Turn the ignition on.

    Using a 12-volt test light connected to ground, check the (F921) Fused Run Relay Output circuit.

    Does the test light illuminate brightly? 

    Yes 

    1. Go To step  5.

    No 

    1. Repair the (F921) Fused Run Relay Output circuit for an open or short.
    2. Perform FDCM VERIFICATION TEST .
  5. (D65) CAN C BUS (+) CIRCUIT OPEN 
    Fig 4: Measuring Resistance Of (D65) CAN C Bus (+) Circuit Between FCM Connector And FDCM Connector
    GC0027528Courtesy of CHRYSLER LLC

    Turn the ignition off.

    Disconnect the FCM C1 harness connector.

    Measure the resistance of the (D65) CAN C Bus (+) circuit between the FCM connector and the FDCM connector.

    Is resistance below 5.0 ohms? 

    Yes 

    1. Go To step  6.

    No 

    1. Repair the (D65) CAN C Bus (+) circuit for an open.
    2. Perform FDCM VERIFICATION TEST .
  6. (D64) CAN C BUS (-) CIRCUIT OPEN 
    Fig 5: Measuring Resistance Of (D64) CAN C Bus (-) Circuit Between FCM Connector And FDCM Connector
    GC0027529Courtesy of CHRYSLER LLC

    Measure the resistance of the (D64) CAN C Bus (-) circuit between the FCM connector and the FDCM connector.

    Is resistance below 5.0 ohms? 

    Yes 

    1. Replace the Final Drive Control Module in accordance with the service information.
    2. Perform FDCM VERIFICATION TEST .

    No 

    1. Repair the (D64) CAN C Bus (-) circuit for an open.
    2. Perform FDCM VERIFICATION TEST .