LEMON Manuals: Even more car manuals for everyone
Home >> Jeep >> 2009 >> Commander Overland, 4WD >> Repair and Diagnosis >> External Pages >> Different car >> Section 24 (Electronic Control Modules - Electrical Diagnostics) >> Electronic Control Modules - Electrical Diagnostics >> DTC Troubleshooting >> *No Response From Amp (Amplifier) >> Diagnostic Test

Diagnostic Test

WARNING: This page is about a different car, the 2008 Jeep Commander. However, it is still accessible from the selected car via links, so may be relevant.
  1. TEST FOR INTERMITTENT CONDITION 

    Turn the ignition on.

    NOTE: Ensure the IOD fuse is installed and battery voltage is between 10.0 and 16.0 volts.

    With the scan tool, select ECU view.

    NOTE: A red X will be next to the module that is not communicating, indicating that the module is not active on the Bus network. A green check indicates that the module is active on the Bus network.

    Does the scan tool display a red X next to the module? 

    Yes 

    1. Go To step  2.

    No 

    1. The no response condition is not present at this time. Using the wiring diagram/schematic as a guide, inspect the wiring for chafed, pierced, pinched, and partially broken wires and the wiring harness connectors for broken, bent, pushed out, and corroded terminals.
  2. (A116) FUSED B(+) CIRCUIT OPEN OR SHORTED 
    Fig 1: Checking (A116) Fused B(+) Circuit
    GC0027497Courtesy of CHRYSLER LLC

    Turn the ignition off.

    Disconnect the Radio Amplifier C2 harness connector.

    Using a 12-volt test light connected to ground, check each (A116) Fused B(+) circuit.

    Does the test light illuminate brightly for each circuit? 

    Yes 

    1. Go To step  3.

    No 

    1. Repair the (A116) Fused B(+) circuit for an open or short.
    2. Perform BODY VERIFICATION TEST .
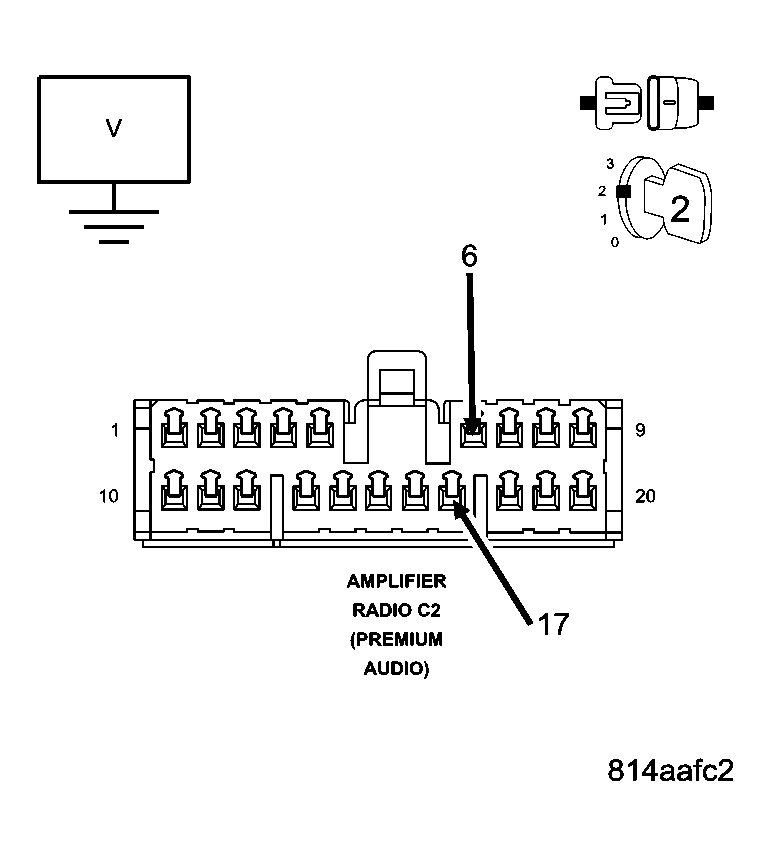
  3. (Z514) GROUND CIRCUIT OPEN 
    Fig 2: Checking (Z514) Ground Circuit
    GC0027498Courtesy of CHRYSLER LLC

    Using a 12-volt test light connected to 12-volts, check each (Z514) ground circuit.

    Does the test light illuminate brightly for each circuit? 

    Yes 

    1. Go To step  4.

    No 

    1. Repair the (Z514) ground circuit for an open.
    2. Perform BODY VERIFICATION TEST .
  4. (D55) AND (D54) CAN B BUS CIRCUITS OPEN 
    Fig 3: Measuring Voltage Between (D54)/(D55) CAN B Bus (-)/(+) Circuit And Ground
    GC0027499Courtesy of CHRYSLER LLC
    NOTE: One open circuit will not cause this condition.

    Measure the voltage between the (D54) CAN B Bus (-) circuit and ground.

    Measure the voltage between the (D55) CAN B Bus (+) circuit and ground.

    Is there any voltage present on either circuit? 

    Yes 

    1. Replace the Radio Amplifier in accordance with the service information.
    2. Perform BODY VERIFICATION TEST .

    No 

    1. Repair the (D55) and (D54) CAN B Bus circuits for an open. Inspect the connector for damage.
    2. Perform BODY VERIFICATION TEST .