LEMON Manuals: Even more car manuals for everyone
Home >> Jeep >> 2009 >> Commander Overland, 4WD >> Repair and Diagnosis >> Body & Frame >> Seats >> Memory Seat Module (MSMD) - Electrical Diagnostics >> DTC Troubleshooting >> B1D83-Seat Rear Vertical Motor Control Circuit Performance >> Diagnostic Test

Diagnostic Test

  1. CHECK FOR RELATED DIAGNOSTIC TROUBLE CODES 
    1. Turn the ignition on.
    2. With the scan tool, read DTC's.

      Does the scan tool display any seat position sensor DTC's?

      Yes 

      No 

      • Go to step  2
  2. TEST FOR INTERMITTENT CONDITION 
    1. Turn the ignition on.
    2. With the scan tool, record and erase DTC's
    3. Move the Seat Switch in the Rear Vertical position three times.
    4. With the scan tool, read DTC's.

      Does the scan tool display B1D83-SEAT REAR VERTICAL MOTOR CONTROL CIRCUIT PERFORMANCE?

      Yes 

      • Go to step  3

      No 

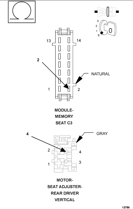
  3. CHECK THE (G402) DRIVER SEAT REAR VERTICAL POSITION SENSE VOLTAGE 
    Fig 1: Checking Driver Seat Rear Vertical Position Sense Voltage
    GC0097025Courtesy of CHRYSLER LLC
    1. Disconnect the Rear Driver Vertical Seat Adjuster Motor.
      NOTE: Check connectors - Clean and repair as necessary.
    2. Move the Seat Switch in the rear vertical position during the next step.
    3. Using a 12-volt test light connect one lead to the (G402) Driver Seat Rear Vertical Position Sense circuit and the other lead to Driver Seat Rear Vertical Sensor Ground at the Driver Rear Vertical Seat Adjuster Motor connector.

      Does the test light illuminate for approximately two seconds then turn off with the seat switch engaged?

      Yes 

      • Go to step  4

      No 

      • Go to step  5
  4. CHECK THE DRIVER SEAT REAR VERTICAL UP/DOWN DRIVER VOLTAGE 
    Fig 2: Checking Driver Seat Rear Vertical Up/Down Driver Voltage
    GC0097045Courtesy of CHRYSLER LLC
    1. Move the Seat Switch in the rear vertical position during the next step.
    2. Using a 12-volt test light connect one lead to the (P111) Driver Seat Rear Vertical Up Driver circuit and the other lead to (P113) Driver Seat Rear Vertical Down Driver circuit at the Rear Driver Vertical Seat Adjuster Motor connector.

      Does the test light illuminate with the seat switch engaged?

      Yes 

      No 

      • Go to step  7
  5. CHECK THE (G402) DRIVER SEAT REAR VERTICAL POSITION SENSE WIRE FOR AN OPEN 
    Fig 3: Checking Driver Seat Rear Vertical Position Sense Wire For An Open
    GC0097046Courtesy of CHRYSLER LLC
    1. Disconnect the Memory Seat Module C3 connector.
      NOTE: Check connectors - Clean and repair as necessary.
    2. Measure the resistance of the (G402) Driver Seat Rear Vertical Position Sense circuit at the Rear Driver Vertical Seat Adjuster Motor connector to the C3 connector.

      Is the resistance above 1.0 ohm?

      Yes 

      No 

      • Go to step  6
  6. CHECK THE (G492) DRIVER SEAT REAR VERTICAL SENSOR GROUND FOR AN OPEN 
    Fig 4: Checking Driver Seat Rear Vertical Sensor Ground For An Open
    GC0097047Courtesy of CHRYSLER LLC
    1. Measure the resistance of the (G492) Driver Seat Rear Vertical Sensor Ground circuit at the Driver Rear Vertical Seat Adjuster Motor connector to the C3 connector.

      Is the resistance above 1.0 ohm?

      Yes 

      No 

  7. CHECK THE (P111) DRIVER SEAT REAR VERTICAL UP DRIVER WIRE FOR AN OPEN 
    Fig 5: Checking Driver Seat Rear Vertical Up Driver Wire For An Open
    GC0097048Courtesy of CHRYSLER LLC
    1. Disconnect the Memory Seat Module C3 connector.
      NOTE: Check connectors - Clean and repair as necessary.
    2. Measure the resistance of the (P111) Driver Seat Rear Vertical Up Driver circuit at the Driver Rear Vertical Seat Adjuster Motor connector to the C3 connector.

      Is the resistance above 1.0 ohm?

      Yes 

      No 

      • Go to step  8
  8. CHECK THE (P113) DRIVER SEAT REAR VERTICAL DOWN DRIVER FOR AN OPEN 
    Fig 6: Checking Driver Seat Rear Vertical Down Driver For An Open
    GC0097049Courtesy of CHRYSLER LLC
    1. Measure the resistance of the (P113) Driver Seat Rear Vertical Down Driver circuit at the Driver Rear Vertical Seat Adjuster Motor connector to the C3 connector.

      Is the resistance above 1.0 ohm?

      Yes 

      No