Diagnostic Test
- CHECK FOR DTCS
- Using the scan tool, record DTCs and any liftgate inhibitors.
- Erase DTCs.
- Turn the ignition off, wait 10 seconds, then turn the ignition on.
- Using the scan tool, read DTCs.
Does the scan tool display B194F-POWER LIFTGATE TEMPERATURE SENSOR CIRCUIT PERFORMANCE?
Yes
- Go to step 2
No
- Using the SYSTEM WIRING DIAGRAMS as a guide, inspect the wiring and connectors for an intermittent condition.
- Perform the BODY VERIFICATION TEST. Refer to DTC-Based Diagnostics/MODULE, Front Control (FCM) - Standard Procedure .
- CHECK FOR OTHER PINCH SENSOR DTCS
- Using the scan tool, read other Power Liftgate DTCs.
Are there any other Pinch Sensor DTCs?
Yes
- Repair the other Liftgate Pinch Sensor DTCs before proceeding.
No
- Go to step 3
- Using the scan tool, read other Power Liftgate DTCs.
- CHECK THE LIFTGATE AMBIENT TEMPERATURE SENSOR
NOTE: The vehicle must be in a warm environment of approximately 70 degrees Fahrenheit for the results of this next step to be valid.
- Turn the ignition off.
- Open the liftgate.
- Allow the vehicle to stabilize in the warm environment for at least one hour.
- Disconnect the Right Liftgate Pinch/Temp Sensor harness connector.
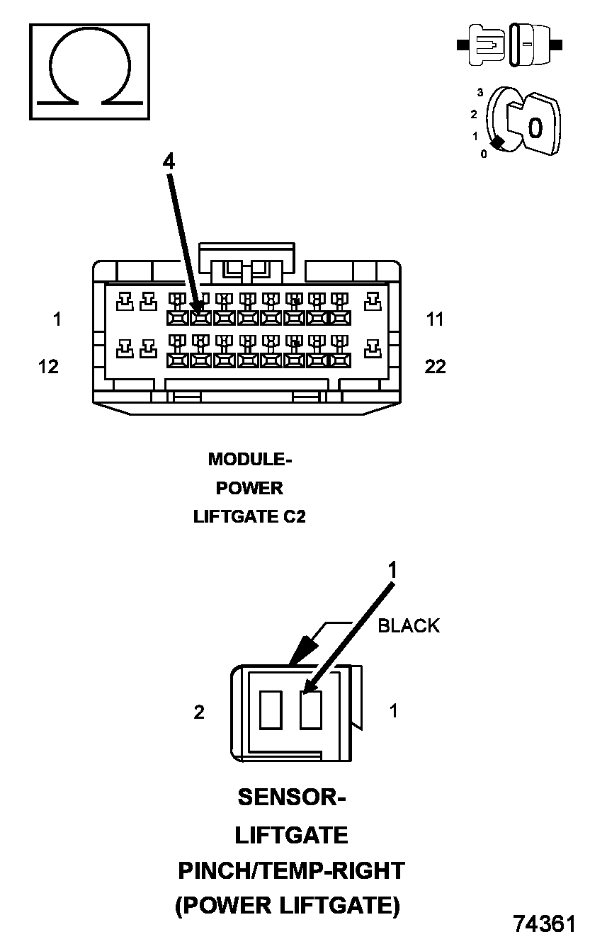
- Measure the resistance between the (Q901) Logic Ground circuit and the (Q78) Right Pinch Sensor Signal circuit in the Right Liftgate Pinch/Temp Sensor (component side) connector.NOTE: Graphic shows the harness side - component side is the mate connector.
Is the resistance between 11300 and 13700 Ohms?
Yes
- Go to step 4
No
- Replace the Right Liftgate Pinch/Temp Sensor in accordance with the Service Information.
- Perform the BODY VERIFICATION TEST. Refer to DTC-Based Diagnostics/MODULE, Front Control (FCM) - Standard Procedure .
- (Q78) RIGHT PINCH SENSOR SIGNAL CIRCUIT OPEN
- Disconnect the Power Liftgate Module C2 harness connector.
- Measure the resistance of the Right Pinch Sensor Signal circuit between the Power Liftgate Module C2 connector and the Right Lifgate Pinch/Temp Sensor connector.
Is the resistance below 2.0 Ohms?
Yes
- Go to step 5
No
- Repair the (Q78) Right Pinch/Temp Sensor Signal circuit for an open.
- Perform the BODY VERIFICATION TEST. Refer to DTC-Based Diagnostics/MODULE, Front Control (FCM) - Standard Procedure .
- (Q78) RIGHT PINCH SENSOR SIGNAL CIRCUIT SHORTED TO GROUND
- Measure the resistance between ground and the (Q78) Right Liftgate Pinch Temp Sensor Signal circuit.
Is the resistance below 10000.0 Ohms?
Yes
- Repair the (Q78) Right Liftgate Pinch/Temp Sensor Signal circuit for a short to ground.
- Perform the BODY VERIFICATION TEST. Refer to DTC-Based Diagnostics/MODULE, Front Control (FCM) - Standard Procedure .
No
- Go to step 6
- Measure the resistance between ground and the (Q78) Right Liftgate Pinch Temp Sensor Signal circuit.
- (Q901) LOGIC GROUND OPEN
- Measure the resistance of the (Q901) Logic Ground circuit between the Right Liftgate Pinch/Temp Sensor connector and the Power Liftgate C2 harness connector.
Is the resistance below 2.0 Ohms?
Yes
- Replace the Power Liftgate Module in accordance with the Service Information.
- Perform the BODY VERIFICATION TEST. Refer to DTC-Based Diagnostics/MODULE, Front Control (FCM) - Standard Procedure .
No
- Repair the (Q901) Logic Ground circuit for an open.
- Perform the BODY VERIFICATION TEST. Refer to DTC-Based Diagnostics/MODULE, Front Control (FCM) - Standard Procedure .
- Measure the resistance of the (Q901) Logic Ground circuit between the Right Liftgate Pinch/Temp Sensor connector and the Power Liftgate C2 harness connector.