LEMON Manuals: Even more car manuals for everyone
Home >> Jeep >> 2008 >> Compass Limited, AWD, Standard >> Repair and Diagnosis >> Engine Performance >> System >> DTC U1418, Checking For Intermittent Condition, System Checks, Component Checks >> *No Crank Condition >> Diagnostic Test

Diagnostic Test

  1. MECHANICAL CONDITION 
    NOTE: Check and diagnose all the TIPM DTC(s) before continuing.
    NOTE: Ensure the Gear selector is in Park or Neutral.
    NOTE: Verify the battery is fully charged and capable of passing a load test before continuing.
    WARNING: Make sure the battery is disconnected, then wait two minutes before proceeding. Failure to do so may result in personal injury or possible death.

    Turn the engine over by hand to make sure the engine is not seized.

    Is the engine able to turn over? 

    Yes 

    1. Go to step  2.

    No 

    1. Repair the mechanical condition preventing the starter motor from cranking.
    2. Perform PCM VERIFICATION TEST .
  2. EXCESSIVE RESISTANCE IN THE BATTERY CIRCUIT 

    Connect the battery cables.

    Turn the ignition off.

    Check the Battery Cables for excessive resistance using the service information procedure.

    Did either Battery Cable have a voltage drop greater than 0.2 of a volt? 

    Yes 

    1. Repair the excessive resistance in the Battery circuit.
    2. Perform PCM VERIFICATION TEST .

    No 

    1. Go to step  3.
  3. MANUAL TRANSMISSION 

    Is this vehicle equipped with a Manual transmission? 

    Yes 

    1. Go to step  8.

    No 

    1. Go to step  4.
  4. START ENABLE OPERATION (ATX) 

    Turn ignition on.

    Using a scan tool, monitor the Ignition Start Switch Sense.

    Turn the ignition switch to the crank position.

    Does the Ignition Start Switch Sense state change from Low to High? 

    Yes 

    1. Ensure the battery connection is clean and fastened tightly to the Starter. If OK, replace the Starter in accordance with the Service Information.

    No 

    1. Go to step  5.
  5. START ENABLE CIRCUIT (ATX) 
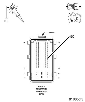
    Fig 1: Checking Start Enable Circuit In PCM Harness Connector C1
    GC0054175Courtesy of CHRYSLER LLC

    Turn the ignition off.

    Disconnect the PCM harness connector.

    NOTE: When checking circuits at the Powertrain Control Module (PCM), be careful not to damage or distort the connector terminals. Improper measurement technique could result in poor pin to terminal contact.

    Using a 12-volt test light connected to ground, probe the Start Enable circuit in the PCM harness connector while holding the ignition key in the start position.

    Does the test light illuminate brightly? 

    Yes 

    1. Replace the PCM in accordance with the Service Information.
    2. Perform PCM VERIFICATION TEST .

    No 

    1. Go to step  6.
  6. TRANSMISSION RANGE SENSOR (ATX) 
    Fig 2: Checking Start Enable Circuit In PCM Harness Connector C1
    GC0054175Courtesy of CHRYSLER LLC

    Turn the ignition off.

    Test light still in the above position.

    Disconnect the Transmission Range Sensor harness connector.

    Using a jumper wire, connect one end to the Start Enable circuit and the other to the Fused Ignition Switch Output (Start) circuit in the Transmission Range Sensor harness connector.

    Turn the ignition to the crank position.

    Does the test light illuminate brightly? 

    Yes 

    1. Replace Transmission Range Sensor harness.
    2. Perform PCM VERIFICATION TEST .

    No 

    1. Go to step  7.
  7. FUSED IGNITION SWITCH OUTPUT (START) CIRCUIT (ATX) 
    Fig 3: Checking Fused Ignition Switch Output (Start) Circuit In Transmission Range Sensor Harness Connector
    GC0054176Courtesy of CHRYSLER LLC

    Turn the ignition off.

    Using a 12-volt test light connected to ground, probe the Fused Ignition Switch Output (Start) circuit in the Transmission Range Sensor harness connector.

    Turn the ignition to the crank position.

    Does the test light illuminate brightly? 

    Yes 

    1. Repair the Start Enable circuit.
    2. Perform PCM VERIFICATION TEST .

    No 

    1. Check the Fused Ignition Switch Output (Start) circuit for an open. If OK, replace the TIPM in accordance with the Service Information.
    2. Perform PCM VERIFICATION TEST .
  8. START ENABLE OPERATION (MTX) 

    Turn ignition on.

    Using a scan tool, monitor the Ignition Start Switch Sense.

    Turn the ignition switch to the crank position.

    Does the Ignition Start Switch Sense state change from Low to High? 

    Yes 

    1. Go to step  10.

    No 

    1. Go to step  9.
  9. STATER ENABLE CIRCUIT (MTX) 
    Fig 4: Checking Start Enable Circuit In PCM Harness Connector C1
    GC0054175Courtesy of CHRYSLER LLC

    Turn the ignition off.

    Disconnect the PCM harness connector.

    NOTE: When checking circuits at the Powertrain Control Module (PCM), be careful not to damage or distort the connector terminals. Improper measurement technique could result in poor pin to terminal contact.

    Using a 12-volt test light connected to ground, probe the Start Enable circuit in the PCM harness connector while holding the ignition key in the start position.

    Does the test light illuminate brightly? 

    Yes 

    1. Replace the PCM in accordance with the Service information.
    2. Perform PCM VERIFICATION TEST .

    No 

    1. Check the Start Enable circuit. If OK, replace the TIPM in accordance with the Service Information.
    2. Perform PCM VERIFICATION TEST .
  10. CLUTCH INTERLOCK OPERATION (MTX) 

    Turn ignition on.

    Using a scan tool, monitor the Clutch Switch.

    Press the Clutch in and out.

    Does Clutch Switch display Released and then Pressed? 

    Yes 

    1. Replace the Starter in accordance with the Service Information.
    2. Perform PCM VERIFICATION TEST .

    No 

    1. Go to step  11.
  11. CLUTCH INTERLOCK OPERATION (MTX) 
    Fig 5: Checking Start Enable Circuit In PCM Harness Connector C1
    GC0054175Courtesy of CHRYSLER LLC

    Turn the ignition off.

    Disconnect the PCM harness connector.

    NOTE: When checking circuits at the Powertrain Control Module (PCM), be careful not to damage or distort the connector terminals. Improper measurement technique could result in poor pin to terminal contact.

    Using a 12-volt test light connected to battery voltage, probe the Clutch interlock Signal circuit in the PCM harness connector while pressing the clutch pedal in.

    Does the test light illuminate brightly? 

    Yes 

    1. Replace the PCM in accordance with the Service information.
    2. Perform PCM VERIFICATION TEST .

    No 

    1. Go to step  12.
  12. CLUTCH INTERLOCK SWITCH (MTX) 
    Fig 6: Identifying Clutch Interlock Switch Signal Circuit At PCM Harness Connector C1
    GC0054177Courtesy of CHRYSLER LLC

    Turn the ignition off.

    Test light still in the above position.

    Disconnect the Clutch Interlock Switch harness connector.

    Using a jumper wire, connect one end to the Clutch Interlock Switch Signal circuit and the other to the Clutch Interlock Switch ground circuit in the Clutch Interlock Switch harness connector.

    Does the test light illuminate brightly? 

    Yes 

    1. Replace Clutch Interlock Switch.
    2. Perform PCM VERIFICATION TEST .

    No 

    1. Go to step  13.
  13. CLUTCH INTERLOCK OPERATION (MTX) 
    Fig 7: Checking Clutch Interlock Switch Ground Circuit
    GC0054178Courtesy of CHRYSLER LLC

    Remove the jumper wire.

    Using a 12-volt test light connected to battery voltage, probe the Clutch Interlock Switch ground circuit.

    Does the test light illuminate brightly? 

    Yes 

    1. Repair the Clutch Interlock Switch ground circuit.
    2. Perform PCM VERIFICATION TEST .

    No 

    1. Repair the Clutch Interlock Switch signal circuit.
    2. Perform PCM VERIFICATION TEST .