LEMON Manuals: Even more car manuals for everyone
Home >> Jeep >> 2007 >> Compass Limited, AWD, Automatic CVT >> Repair and Diagnosis >> Transmission >> Transmission Control Systems >> Continuously Variable Transmission (CVT) (Service Information) >> Shift Interlock Cable >> Description >> Description

Shift Interlock Cable: Description: Description

Fig 1: Shifter's Serpentine Pattern
GC0056704Courtesy of CHRYSLER LLC

The Shifter's serpentine pattern does not require the shifter to have a button on the knob to release it from "Park". There is a blocking lever within the Shifter that prevents undesired shifting out of "Park".

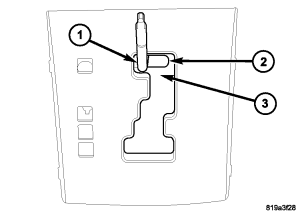
Fig 2: PARK LOCK LEVER AND BUSHING
GC0056705Courtesy of CHRYSLER LLC
1 - PARK LOCK LEVER
2 - PARK LOCK LEVER TRAVEL STOP
3 - SOLENOID SHAFT
4 - SOLENOID BUSHING

The shifter has a solenoid which is actuated by depressing the brake pedal. This prevents shifting out of "Park" without the brake pedal being depressed. To operate the solenoid, the ignition must be in the "On" or "Run" position and the brake pedal must be depressed. The Brake Switch sends a signal to the Cabin Compartment Node (CCN) and the CCN, in turn, energizes the solenoid that moves the Park Lock Lever to allow the driver to shift out of 'Park". On the right side of the Console Pod is a plug that allows access to the Park Lock Lever for manual operation.