LEMON Manuals: Even more car manuals for everyone
Home >> Jeep >> 2007 >> Commander Base, 4.7 P, RWD >> Repair and Diagnosis >> Body & Frame >> Windows >> Power Windows - Electrical Diagnostics >> Power Windows - Electrical Diagnostics >> DTC Troubleshooting >> B1858-Driver Window Position Sensor Power Supply Low - PDM >> Diagnostic Test

Diagnostic Test

  1. 1) TEST FOR INTERMITTENT CONDITION 

    Turn the ignition on.

    With the scan tool, record and erase DTC's

    Operate the Passenger Window up and down several times.

    Wait 30 seconds.

    With the scan tool, read DTC's.

    Does the scan tool display B1858-DRIVER WINDOW POSITION SENSOR POWER SUPPLY LOW? 

    Yes 

    1. Go to  2).

    No 

    1. The conditions that caused this code to set are not present at this time. Using the wiring diagram/schematic as a guide, inspect the wiring and connectors.
    2. Perform BODY VERIFICATION TEST .
  2. 2) WINDOW MOTOR OPEN OR SHORTED 
    Fig 1: Measuring Voltage Between Ground And Driver Window Hall Sensor Supply Circuit
    GC0058472Courtesy of CHRYSLER LLC

    Turn the ignition off.

    Disconnect the Driver Window Motor connector.

    Turn the ignition on.

    Measure the voltage between ground and the (Q305) Driver Window Hall Sensor Supply circuit.

    Is the voltage above 10.5 volts? 

    Yes 

    1. Replace the Window Motor in accordance with service information.
    2. Perform BODY VERIFICATION TEST .

    No 

    1. Go to  3).
  3. 3) (Q305) DRIVER WINDOW HALL SENSOR SUPPLY CIRCUIT SHORT TO GROUND 
    Fig 2: Measuring Resistance Between Ground And Driver Window Hall Sensor Supply Circuit
    GC0058065Courtesy of CHRYSLER LLC

    Turn the ignition off.

    Disconnect the Driver Door Module C2 connector.

    Measure the resistance between Ground and the (Q305) Driver Window Hall Sensor Supply circuit.

    Is the resistance below 1000.0 ohms? 

    Yes 

    1. Repair the (Q305) Driver Window Hall Sensor Supply circuit for a short to ground.
    2. Perform BODY VERIFICATION TEST .

    No 

    1. Go to  4).
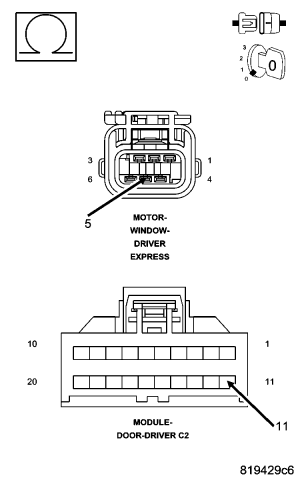
  4. 4) (Q305) DRIVER WINDOW HALL SENSOR SUPPLY CIRCUIT OPEN 
    Fig 3: Measuring Resistance Of Driver Window Hall Sensor Supply Circuit
    GC0058473Courtesy of CHRYSLER LLC

    Measure the resistance of the (Q305) Driver Window Hall Sensor Supply circuit between the Driver Window Motor connector and the Driver Door Module C2 connector.

    Is the resistance below 5.0 ohms? 

    No 

    1. Repair the (Q305) Driver Window Hall Sensor Supply circuit for an open.
    2. Perform BODY VERIFICATION TEST .

    Yes 

    1. Replace the Driver Door Module in accordance with service information.
    2. Perform BODY VERIFICATION TEST .