LEMON Manuals: Even more car manuals for everyone
Home >> Jeep >> 2007 >> Commander Base, 4.7 P, AWD >> Repair and Diagnosis >> Transmission >> Transmission Control Systems >> 545RFE Automatic Transmission - Electrical Diagnostics >> Automatic Transmission 545RFE - Electrical Diagnostics >> DTC Troubleshooting >> P0883-TCM Power Input High >> Diagnostic Test

Diagnostic Test

  1. 1) CHECK IF THE DTC IS CURRENT 

    With the scan tool, read DTCs.

    Is the status Active or is the Starts Since Set counter 0 for this DTC? 

    Yes 

    1. Go to  2).

    No 

    1. Go to  5).
  2. 2) CHECK THE TRANSMISSION CONTROL RELAY 
    Fig 1: Checking Transmission Control Relay
    GC0005175Courtesy of CHRYSLER LLC

    Turn the ignition off to the lock position.

    Disconnect the Transmission Control Relay.

    NOTE: Note: Check connectors - Clean/repair as necessary.

    Measure the resistance between the (A104) Fused B(+) circuit and the (T16) Transmission Control Relay Output Circuit of the Transmission Control Relay.

    Is the resistance above 5.0 ohms? 

    Yes 

    1. Go to  3).

    No 

    1. Replace the Transmission Control Relay.
    2. Perform 45RFE/545RFE TRANSMISSION VERIFICATION TEST .
  3. 3) CHECK THE (T16) TRANSMISSION RELAY OUTPUT CIRCUIT FOR A SHORT TO VOLTAGE 
    Fig 2: Checking Transmission Relay Output Circuit For Short To Voltage
    GC0005174Courtesy of CHRYSLER LLC

    Ignition on, engine not running.

    Measure the voltage at the (T16) Transmission Control Relay Output circuit in the Transmission Control Relay connector.

    Is the voltage above 0.5 volts? 

    Yes 

    1. Repair the (T16) Transmission Control Relay Output circuit for a short to voltage.
    2. Perform 45RFE/545RFE TRANSMISSION VERIFICATION TEST .

    No 

    1. Go to  4).
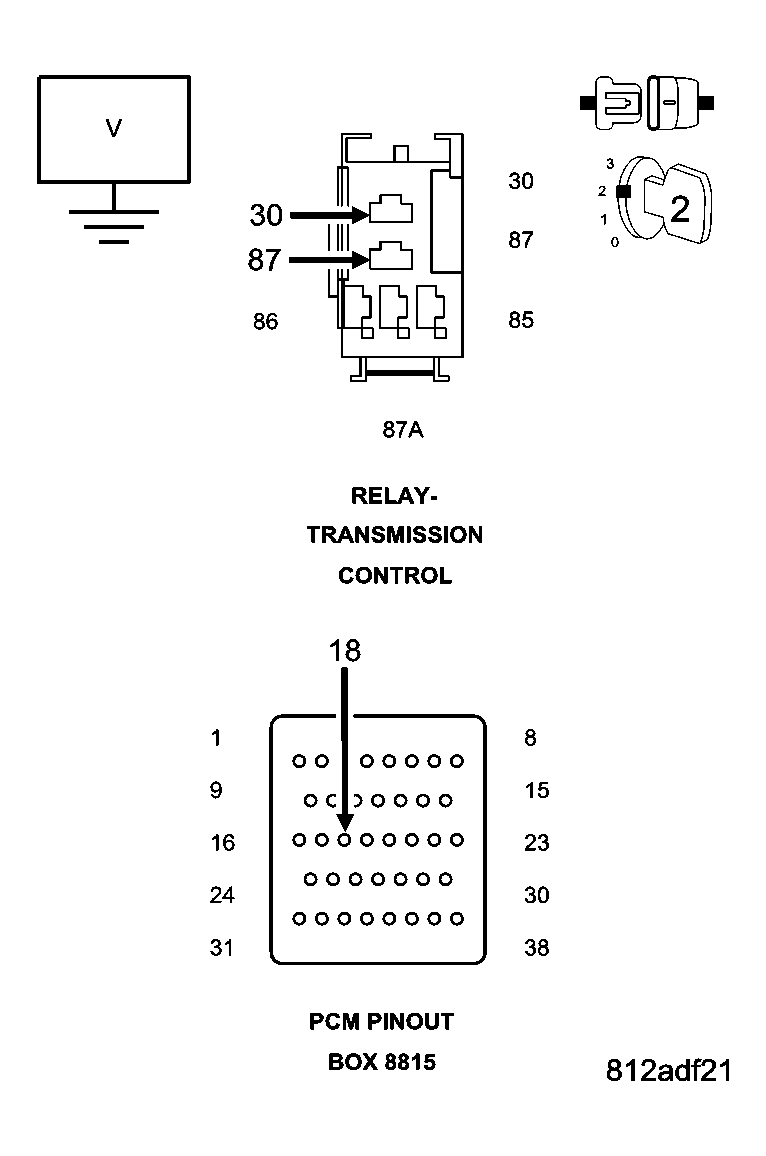
  4. 4) CHECK THE (T15) TRANSMISSION CONTROL RELAY CONTROL CIRCUIT FOR A SHORT TO VOLTAGE 
    Fig 3: Checking Transmission Control Relay Control Circuit For Short To Voltage
    GC0005176Courtesy of CHRYSLER LLC

    Turn the ignition off to the lock position.

    Disconnect the PCM C4 harness connector and connect Miller tool #8815.

    Disconnect the Transmission Solenoid/TRS Assembly harness connector.

    CAUTION: Do not probe the PCM harness connectors. Probing the PCM harness connectors will damage the PCM terminals resulting in poor terminal to pin connection. Install Miller tool #8815 to perform diagnosis.

    Connect a jumper wire between the (A104) Fused B(+) circuit and the (T16) Transmission Control Relay Output circuit in the Transmission Control Relay connector.

    Ignition on, engine not running.

    Measure the voltage of the (T15) Transmission Control Relay Control circuit.

    Is the voltage above 0.5 volts? 

    Yes 

    1. Repair the (T15) Transmission Control Relay Control circuit for a short to voltage.
    2. Perform 45RFE/545RFE TRANSMISSION VERIFICATION TEST .

    No 

    1. Using the schematics as a guide, check the Powertrain Control Module (PCM) terminals for corrosion, damage, or terminal push out. Pay particular attention to all power and ground circuits. If no problems are found, replace the PCM per the Service Information. With the scan tool, perform Quick Learn.
    2. Perform 45RFE/545RFE TRANSMISSION VERIFICATION TEST .
  5. 5) CHECK WIRING AND CONNECTORS 

    The conditions necessary to set this DTC are not present at this time.

    Using the schematics as a guide, inspect the wiring and connectors specific to this circuit.

    Wiggle the wires while checking for shorted and open circuits.

    With the scan tool, check the Event Data to help identify the conditions in which the DTC was set.

    Where there any problems found? 

    Yes 

    1. Repair as necessary.
    2. Perform 45RFE/545RFE TRANSMISSION VERIFICATION TEST .

    No 

    1. Test Complete.