LEMON Manuals: Even more car manuals for everyone
Home >> Jeep >> 2007 >> Commander Base, 4.7 P, AWD >> Repair and Diagnosis >> Restraints >> Restraints Control Systems >> Air Bag Restraint System - Electrical Diagnostics >> Restraints - Electrical Diagnostics >> DTC Troubleshooting >> U0175-Communication W/Right Side Satellite Acceleration Sensor 1 >> Diagnostic Test

Diagnostic Test

  1. 1) VERIFY THAT DTC U0175-LOST COMMUNICATION W/RIGHT SIDE SATELLITE ACCELERATION SENSOR 1 
    NOTE: Ensure the battery is fully charged.

    Turn the ignition on.

    With the scan tool, read ORC DTCs.

    Does the scan tool display active: U0175- LOST COMMUNICATION W/RIGHT SIDE SATELLITE ACCELERATION SENSOR 1? 

    Yes 

    1. Go to  2).

    No 

    1. Go to  9).
  2. 2) CHECK THE (R14), (R16) RIGHT SIDE IMPACT SENSOR 1 SIGNAL AND GROUND CIRCUITS FOR A SHORT TO BATTERY 
    Fig 1: Checking Right Side Impact Sensor 1 Signal And Ground Circuits For Short To Voltage
    GC0016566Courtesy of CHRYSLER LLC
    WARNING: To avoid serious or fatal injury, turn the ignition off, disconnect the battery and wait two minutes before proceeding.

    Disconnect the Right Side Impact Sensor 1 connector.

    Disconnect the ORC connector.

    WARNING: To avoid serious or fatal injury, turn the ignition on, then reconnect the battery.

    Measure the voltage of the (R14) Right Side Impact Sensor 1 Signal circuit and (R16) Sensor Ground circuit at the Right Side Impact Sensor 1 connector and ground.

    Is there any voltage present? 

    Yes 

    1. Repair the (R14), (R16) Right Side Impact Sensor 1 circuits for a short to battery.
    2. Perform *ORC VERIFICATION TEST - VER 1 .

    No 

    1. Go to  3).
  3. 3) CHECK THE (R14) RIGHT SIDE IMPACT SENSOR 1 SIGNAL CIRCUIT FOR A SHORT TO GROUND 
    Fig 2: Checking Right Side Impact Sensor 1 Signal Circuit For Short To Ground
    GC0016567Courtesy of CHRYSLER LLC
    WARNING: To avoid serious or fatal injury, turn ignition on, then reconnect the battery.

    Measure the resistance of the (R14) Right Side Impact Sensor 1 Signal circuit between the Right Side Impact Sensor 1 connector and ground.

    Is the resistance below 100K ohms? 

    Yes 

    1. Repair the (R14) Right Side Impact Sensor 1 Signal circuit for a short to ground.
    2. Perform *ORC VERIFICATION TEST - VER 1 .

    No 

    1. Go to  4).
  4. 4) CHECK THE (R14), (R16) RIGHT SIDE IMPACT SENSOR CIRCUITS FOR A SHORT TOGETHER 
    Fig 3: Checking Right Side Impact Sensor 1 Signal And Ground Circuits For Short Together
    GC0016568Courtesy of CHRYSLER LLC

    Measure the resistance between the (R14) Right Side Impact Sensor 1 Signal and (R16) Sensor Ground circuits at the Right Side Impact Sensor 1 connector.

    Is the resistance below 100K ohms? 

    Yes 

    1. Repair the (R14), (R16) Right Side Impact Sensor 1 circuits shorted together.
    2. Perform *ORC VERIFICATION TEST - VER 1 .

    No 

    1. Go to  5).
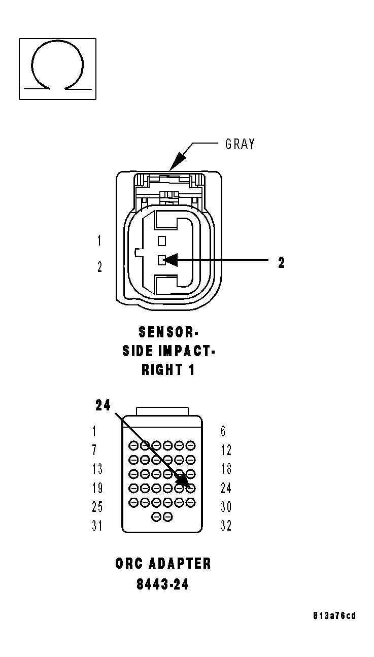
  5. 5) CHECK THE (R16) RIGHT SIDE IMPACT SENSOR 1 GROUND CIRCUIT FOR AN OPEN OR HIGH RESISTANCE 
    Fig 4: Checking Right Side Impact Sensor 1 Ground Circuit For Open Or High Resistance
    GC0016569Courtesy of CHRYSLER LLC

    Connect the 8443 Load Tool ORC Adapter to the Occupant Control Module connector.

    Measure the resistance of the (R16) Right Side Impact Sensor 1 Ground circuit between the Right Side Impact Sensor 1 connector and the 8443 Load Tool ORC Adapter.

    Is the resistance below 1 ohm? 

    Yes 

    1. Go to  6).

    No 

    1. Repair the (R16) Right Side Impact Sensor 1 Ground circuit for an open or high resistance.
    2. Perform *ORC VERIFICATION TEST - VER 1 .
  6. 6) CHECK THE (R14) RIGHT SIDE IMPACT SENSOR 1 CIRCUIT FOR AN OPEN OR HIGH RESISTANCE 
    Fig 5: Checking Right Side Impact Sensor 1 Signal Circuit For Open Or High Resistance
    GC0016570Courtesy of CHRYSLER LLC

    Measure the resistance of the (R14) Right Side Impact Sensor 1 Signal circuit between the Right Side Impact Sensor 1 connector and the 8443 Load Tool ORC Adapter.

    Is the resistance below 1 ohm? 

    Yes 

    1. Go to  7).

    No 

    1. Repair the (R14) Right Side Impact Sensor 1 Signal circuit for an open or high resistance.
    2. Perform *ORC VERIFICATION TEST - VER 1 .
  7. 7) CHECK OPERATION OF THE RIGHT SIDE IMPACT SENSOR 1 

    Replace the Right Side Impact Sensor 1.

    Reconnect the vehicle body harness to the impact sensor.

    Remove any special tools or jumper wires and reconnect all previously disconnected components - except the Battery.

    WARNING: To avoid serious or fatal injury, turn the ignition on, then reconnect the battery.

    Connect the scan tool to the Data Link Connector - use the most current software available.

    Use the scan tool and erase the stored codes in all airbag system modules.

    Turn the Ignition Off, and wait 15 seconds before turning the Ignition On.

    Wait one minute, and read active codes and if there are none present read the stored codes.

    Did the active Right Side Impact Sensor 1 DTC return? 

    Yes 

    1. Go to  8).

    No 

    1. Repair is complete.
    2. Perform *ORC VERIFICATION TEST - VER 1 .
  8. 8) REPLACE THE OCCUPANT RESTRAINT CONTROLLER 
    WARNING: To avoid serious or fatal injury, turn the ignition off, disconnect the battery and wait two minutes before proceeding.
    WARNING: If the airbag control module is dropped at any time, it must be replaced. Failure to take the proper precautions could result in accidental airbag deployment and serious or fatal injury.

    If there are no possible causes remaining, view repair. 

    Repair 

    1. Replace the Occupant Restraint Controller in accordance with Service Instructions.
    2. Perform *ORC VERIFICATION TEST - VER 1 .
  9. 9) TEST FOR AN INTERMITTENT CONDITION 

    With the scan tool, record and erase all DTC's from all Airbag modules.

    If any ACTIVE codes are present they must be resolved before diagnosing any stored codes.

    WARNING: To avoid serious or fatal injury, turn the ignition off, disconnect the battery and wait two minutes before proceeding.

    Using the wiring diagram/schematic as a guide, inspect the wiring and connectors.

    Look for chafed, pierced, pinched, or partially broken wires and broken, bent, pushed out, spread, corroded, or contaminated terminals.

    The following additional checks may assist you in identifying a possible intermittent problem.

    Reconnect any disconnected components and harness connector.

    WARNING: To avoid serious or fatal injury, turn the ignition on, then reconnect the battery.

    With the scan tool monitor active codes as you work through the following steps.

    WARNING: To avoid serious or fatal injury, maintain a safe distance from all airbags while performing the following steps.

    Wiggle the wiring harness and connectors of the related airbag circuit or component.

    If codes are related to the Driver Airbag circuits, rotate the steering wheel from stop to stop.

    If only stored codes return continue the test until the problem area has been isolated.

    In the previous steps you have attempted to recreate the conditions responsible for setting active DTC in question.

    Are any ACTIVE DTCs present? 

    Yes 

    1. Select the appropriate symptom from DIAGNOSTIC CODE INDEX  table.

    No 

    1. No problem found at this time. Erase all codes before returning vehicle to customer.