LEMON Manuals: Even more car manuals for everyone
Home >> Jeep >> 2007 >> Commander Base, 4.7 P, AWD >> Repair and Diagnosis >> Restraints >> Restraints Control Systems >> Air Bag Restraint System - Electrical Diagnostics >> Restraints - Electrical Diagnostics >> DTC Troubleshooting >> U0020-Can B Bus Off Performance-Orc >> Diagnostic Test

Diagnostic Test

  1. 1) VERIFY DTC U0020-CAN B BUS OFF PERFORMANCE-ORC IS ACTIVE 

    Turn the ignition on.

    With the scan tool, read Occupant Restraint Controller (ORC) DTCs.

    Does the scan tool display active: U0020-CAN B BUS OFF PERFORMANCE-ORC? 

    Yes 

    1. Go to  2).

    No 

    1. If the DTC is stored, check for an intermittent condition by inspecting the related wiring harness for chafed, pierced, pinched, and partially broken wires. Also, inspect the related connectors for broken, bent, pushed out, spread, corroded, or contaminated terminals.
    2. Perform *ORC VERIFICATION TEST - VER 1 .
  2. 2) CHECK FOR ACTIVE CAN B BUS RELATED DTCS IN THE FRONT CONTROL MODULE (FCM) 

    With the scan tool, read Front Control Module (FCM) DTCs

    Does the scan tool display any active CAN B BUS related DTCs? 

    Yes 

    1. Diagnose and repair the DTC(s). Refer to DIAGNOSIS AND TESTING . .

    No 

    1. Go to  3).
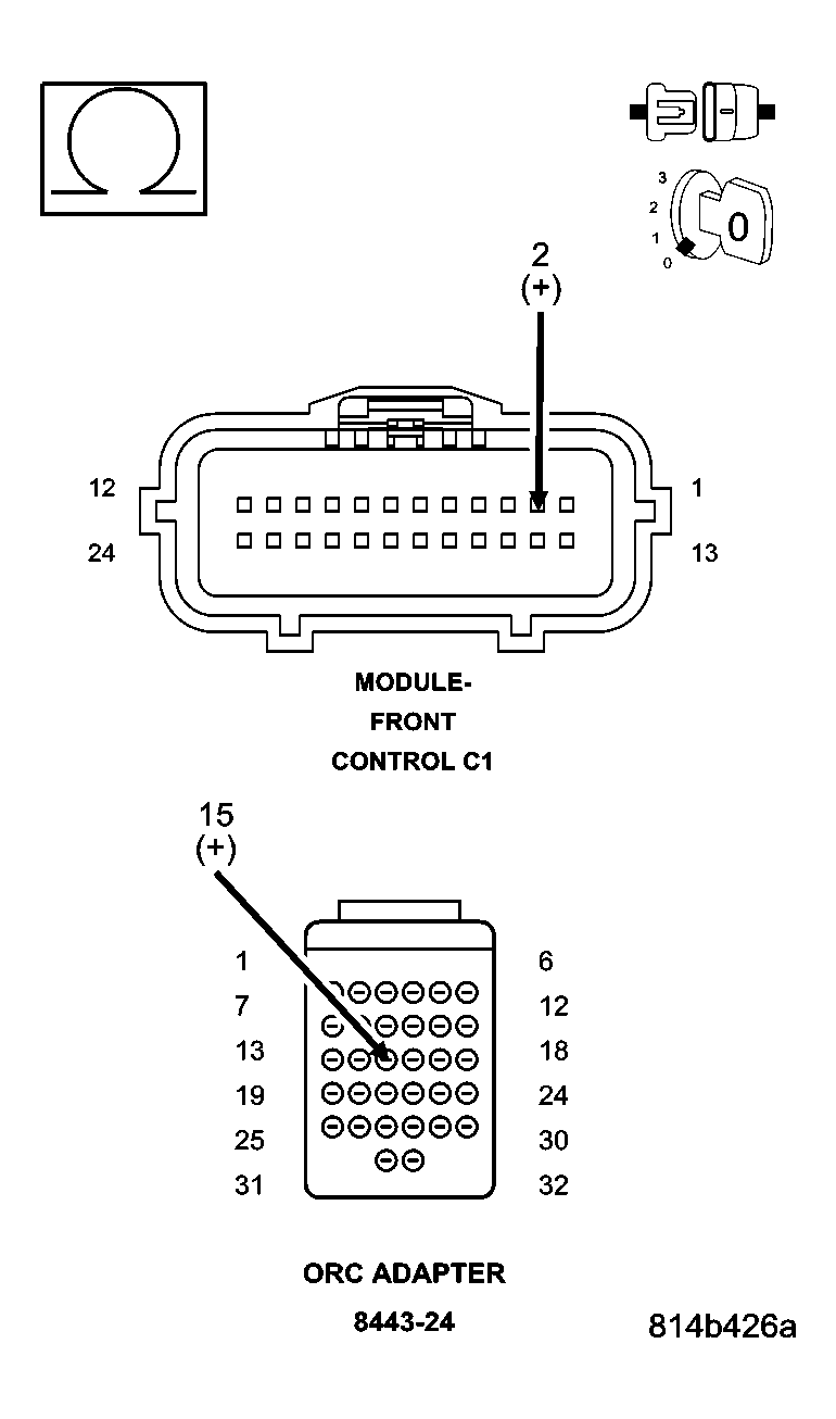
  3. 3) CHECK (D55) CAN B BUS (+) CIRCUIT FOR AN OPEN 
    Fig 1: Checking Can B Bus (+) Circuit For Open
    GC0027716Courtesy of CHRYSLER LLC

    Turn the ignition off.

    Disconnect the negative battery cable.

    Disconnect the ORC C1 and C2 connector.

    Connect the 8443-24 ORC Adapter to the ORC C2 connector.

    Disconnect the Front Control Module (FCM) C1 connector.

    Measure the resistance of the (D55) CAN B Bus (+) circuit between the Front Control Module C1 connector and the ORC C2 connector.

    Is the resistance below 2.0 ohms? 

    Yes 

    1. Go to  4).

    No 

    1. Repair the (D55) CAN B Bus (+) circuit for an open.
    2. Perform *ORC VERIFICATION TEST - VER 1 .
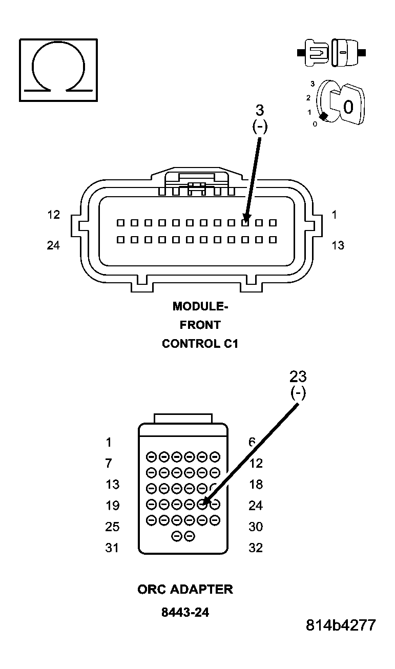
  4. 4) CHECK (D54) CAN B BUS (-) CIRCUIT FOR AN OPEN 
    Fig 2: Checking Can B Bus (-) Circuit For Open
    GC0027717Courtesy of CHRYSLER LLC

    Measure the resistance of the (D54) CAN B Bus (-) circuit between the Front Control Module C1 connector and the ORC C2 connector.

    Is the resistance below 2.0 ohms? 

    Yes 

    1. Replace the ORC in accordance with the Service Information.
    2. Perform *ORC VERIFICATION TEST - VER 1 .

    No 

    1. Repair the (D54) CAN B Bus (-) circuit for an open.
    2. Perform *ORC VERIFICATION TEST - VER 1 .