LEMON Manuals: Even more car manuals for everyone
Home >> Jeep >> 2007 >> Commander Base, 4.7 P, AWD >> Repair and Diagnosis >> Engine Performance >> System >> DTCS P0645 To P1593 >> P1414-Cylinder 4 Reactivation Control Performance >> Diagnostic Test

Diagnostic Test

  1. 1) ACTIVE DTC 
    NOTE: Diagnose any Misfire DTCs before continuing.

    Start the engine and allow it to reach normal operating temperature.

    WARNING: When the engine is operating, do not stand in direct line with the fan. Do not put your hands near the pulleys, belts, or fan. Do not wear loose clothing. Failure to follow these instructions can result in personal injury or death.
    NOTE: It may be necessary to test drive the vehicle in order for this DTC to set.

    With a scan tool, select View DTCs.

    Is the DTC Active at this time? 

    Yes 

    1. Go to  2).

    No 

    1. Refer to INTERMITTENT CONDITION Diagnostic Procedure.
  2. 2) (K452) MDS SOLENOID NO. 4 CONTROL CIRCUIT SHORTED TO VOLTAGE 
    Fig 1: Measuring Voltage On MDS Solenoid No. 4 Control Circuit
    GC0044790Courtesy of CHRYSLER LLC

    Turn the ignition off.

    Disconnect the C1 PCM harness connector.

    Disconnect the C112 In-line harness connector.

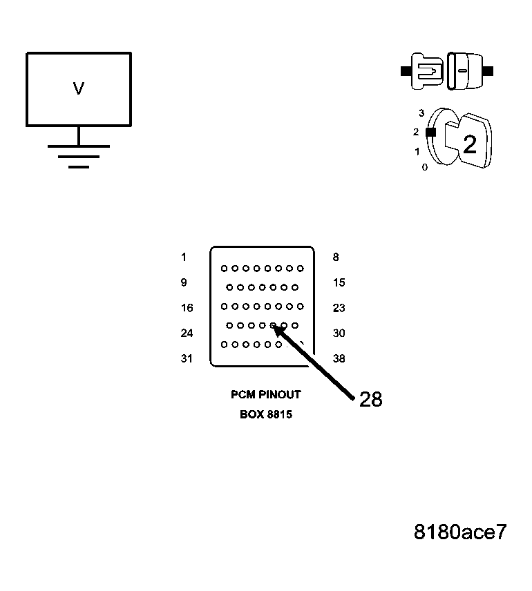
    CAUTION: Do not probe the PCM harness connectors. Probing the PCM harness connectors will damage the PCM terminals resulting in poor terminal to pin connection. Install Miller Special Tool #8815 to perform diagnosis.

    Turn the ignition on.

    Measure the voltage on (K452) MDS Solenoid No. 4 Control circuit in the appropriate terminal of special tool #8815.

    Is voltage present? 

    Yes 

    1. Repair the short to voltage in the (K452) MDS Solenoid No. 4 Control circuit.
    2. Perform POWERTRAIN VERIFICATION TEST .

    No 

    1. Go to  3).
  3. 3) MDS SOLENOID RESISTANCE 
    Fig 2: Measuring Resistance Between Ground And MDS Solenoid No. 4 Control Circuit
    GC0044791Courtesy of CHRYSLER LLC

    Turn the ignition off.

    Reconnect the C112 In-line harness connector.

    Measure the resistance between the (Z42) Ground Circuit and the (K452) MDS Solenoid No. 4 Control Circuit in the appropriate terminals of special tool #8815.

    NOTE: It is important to follow the below temp/resistance values to ensure an accurate reading.
    MDS SOLENOID RESISTANCE 
    TEMPERATURE VALUE ± -7° C (20° F)  RESISTANCE (OHMS) ±.25 ohms 
    -18° C (0° F) 8.8 ohms
    0° C (32° F) 9.5 ohms
    20° C (68° F) 10.3 ohms
    38° C (100° F) 11 ohms
    66° C (150° F) 12.2 ohms
    93° C (200° F) 13.4 ohms
    121° C (250° F) 14.4 ohms
    149° C (300° F) 15.6 ohms

    Is the resistance within an acceptable range? 

    Yes 

    1. Go to  4).

    No 

    1. Visually and Physically inspect the wiring harness between the C112 In-line connector and the MDS Solenoid connector. Repair as necessary. If OK, replace the MDS Solenoid in accordance with the Service Information.
  4. 4) PCM CONTROL 

    Turn the ignition off.

    Reconnect the C1 PCM harness connector.

    Disconnect the C112 In-line harness connector.

    Ignition on, engine not running.

    Using a 12-volt test light connected to the (Z42) Ground circuit, probe the (K452) MDS Solenoid No. 4 Control circuit in the C112 In-line harness connector.

    With a scan tool, actuate the MDS Solenoid.

    NOTE: The test light should be illuminated and bright proportional to the maximum duty cycle allowed by the scan tool. For example, if the scan tool allows 100% actuation, the brightness should be as bright as a direct connection to the battery. If the scan tool allows a maximum 25% actuation, the brightness should be 25% as bright as a direct connection to the battery.

    Does the 12-volt test light flash on and off? 

    Yes 

    1. Go to  5).

    No 

    1. Replace and program the Powertrain Control Module in accordance with the Service Information.

      Perform POWERTRAIN VERIFICATION TEST .

  5. 5) MDS SOLENOID 4 
    Fig 3: Checking Multi Displacement System Cylinder Solenoids
    GC0015101Courtesy of CHRYSLER LLC

    Turn the ignition off.

    Remove the Intake Manifold per Service Information.

    Turn the ignition on.

    With the scan tool actuate the MDS Solenoid 4.

    Can you feel and hear the Solenoid Actuating? 

    Yes 

    1. Go to  6).

    No 

    1. Remove the Solenoid (1) and check for any debris that may be blocking the oil passages (3) to the Solenoid. If the passages are clogged, clean the passages and replace the MDS Solenoid 4. If the passages are not clogged with debris, replace the MDS Solenoid 4.
    2. Perform POWERTRAIN VERIFICATION TEST .
  6. 6) OIL PASSAGES RESTRICTED 

    Turn the ignition off.

    Remove both Solenoids on Bank 2 of the engine block.

    Remove the Bank 2 Cylinder Head per Service Information.

    Remove the Lifters from the left engine bank.

    Inspect the oil passages to the Solenoids and from the Solenoids to the lifters.

    Are the passages blocked? 

    Yes 

    1. Clean the oil passages as necessary. If the entire engine is restricted disassembly of the entire engine block may be necessary.
    2. Perform POWERTRAIN VERIFICATION TEST .

    No 

    1. Replace both sets of lifters if no other possible causes remain.
    2. Perform POWERTRAIN VERIFICATION TEST .