LEMON Manuals: Even more car manuals for everyone
Home >> Jeep >> 2007 >> Commander Base, 4.7 P, AWD >> Repair and Diagnosis >> Engine Performance >> System >> DTCS P0325 To P0501 >> P0440-General EVAP System Failure >> Diagnostic Test

Diagnostic Test

  1. 1) VEHICLE HISTORY AND SERVICE BULLETIN INVESTIGATION 

    Ignition on, engine not running.

    With a scan tool, select View DTCs. Record the related Freeze Frame data if any DTC(s) are present.

    Whether or not any DTC(s) are active you will want to check the following items which may assist in repairing the customer's complaint successfully.

    Check the vehicles repair history.

    If the vehicle has a repair history that pertains to the customer's current complaint, review the repair.

    Inspect the vehicle for any aftermarket accessories that may have been installed incorrectly.

    Check for any service bulletin(s) related to the customer's complaint or DTCs.

    If a service bulletin applies, follow the instructions per the service bulletin.

    Choose the following scenario that best applies. 

    The service bulletin repaired the customer's complaint. 

    1. Testing complete.

    A DTC is present, no service bulletins apply, or the service bulletin didn't repair the customer's complaint. 

    1. Go to  2).
  2. 2) ACTIVE DTC 
    NOTE: Allow the vehicle to reach ambient temperature before continuing with this procedure.
    NOTE: A loose gas cap could have caused this DTC to set. Make sure the gas cap is tight and in good condition.
    NOTE: If the customer is experiencing an early fuel shut off during the fuel filling process along with P0440, P0441, and P0452 setting, you need to check for restrictions in the Evap Purge tubes/hoses as well as the Fresh Air Filter before continuing.

    Start the engine.

    Allow the engine to reach normal operating temperature.

    With a scan tool, select View DTCs.

    NOTE: It may be necessary to drive the vehicle to meet the conditions to set this DTC, try to repeat the conditions in which the fault originally set by reviewing the Freeze Frame data.

    Is the DTC Active or Pending at this time? 

    Yes 

    1. Go to  3).

    No 

    1. Refer to INTERMITTENT CONDITION Diagnostic Procedure.
  3. 3) VISUAL AND PHYSICAL INSPECTION 

    Turn the ignition off.

    Perform a visual and physical inspection of the entire Evaporative Emission system.

    Check for the following conditions:

    - Hoses disconnected or left off

    - Holes or cracks

    - Loose seal points

    - Evidence of damaged components

    - Incorrect routing of hoses and tubes

    - Fuel Cap left off or bad gasket seal

    Were any of the above conditions found? 

    Yes 

    1. Repair as necessary.
    2. Perform POWERTRAIN VERIFICATION TEST .

    No 

    1. Go to  4).
  4. 4) EVAP VACUUM SUPPLY HOSE INSPECTION 

    Carefully inspect the Evap Purge Solenoid vacuum supply hose for proper routing.

    Check for a pinched or plugged hose from the throttle body or intake manifold to the Purge Solenoid.

    Make sure the vacuum port at the throttle body or intake manifold is free from any blockage.

    Were any problems found? 

    Yes 

    1. Repair the vacuum supply, hose/tube as necessary.
    2. Perform POWERTRAIN VERIFICATION TEST .

    No 

    1. Go to  5).
  5. 5) EVAP PURGE SOLENOID 
    NOTE: To continue testing you will need Miller Tool #8404 Evaporative Emission Leak Detector (EELD).
    WARNING: Keep lit cigarettes, sparks, flames, and other ignition sources away from the test area to prevent the ignition of explosive gases, Keep the test area well ventilated.

    Connect the red power lead of the EELD to the battery positive terminal and the black ground lead to battery negative terminal.

    Disconnect the vacuum hoses at the Evap Purge Solenoid.

    Connect the SMOKE supply tip (black hose) to the "CAN" port on the Evap Purge Solenoid.

    Set the smoke/air control switch to SMOKE.

    While still holding the remote smoke/air start button, check to see if smoke is exiting the purge valve. This indicates that there is a leak internal to the purge valve.

    NOTE: This is an optional method of checking the purge valve for leaks if the EELD is unavailable.

    Disconnect the Smoke supply tip from the vacuum supply hoses at the Evap Purge Solenoid.

    Using a hand vacuum pump, apply 10 inches of Hg to the "CAN" side of the Evap Purge Solenoid.

    Observe the vacuum gauge for at least 15 seconds.

    Is smoke visible from the Evap Purge Solenoid or NOT hold a vacuum? 

    Yes 

    1. Replace the Evap Purge Solenoid.
    2. Perform POWERTRAIN VERIFICATION TEST .

    No 

    1. Go to  6).
  6. 6) ESIM SWITCH STATE 
    Fig 1: Checking ESIM Switch State
    GC0050932Courtesy of CHRYSLER LLC

    Turn the ignition off.

    Connect the previously disconnected vacuum hose.

    Disconnect the Evap System Monitor Switch harness connector.

    Ignition on, engine not running.

    Monitor the ESIM Switch state on the scan tool.

    Carefully connect a jumper wire between the (K107) ESM Signal circuit and the (Z910) Ground circuit in the Evap System Monitor Switch harness connector.

    Monitor the ESIM Switch state on the scan tool.

    Did the Switch change from OPEN to CLOSED when the jumper wire was installed? 

    Yes 

    1. Go to  9).

    No 

    1. Go to  7).
  7. 7) EXCESSIVE RESISTANCE IN THE (K107) ESM SIGNAL CIRCUIT 
    Fig 2: Measuring Resistance Of ESM Signal Circuit
    GC0050933Courtesy of CHRYSLER LLC

    Turn the ignition off.

    Disconnect the C3 PCM harness connector.

    CAUTION: Do not probe the PCM harness connectors. Probing the PCM harness connectors will damage the PCM terminals resulting in poor terminal to pin connection. Install Miller Special Tool #8815 to perform diagnosis.

    Measure the resistance of the (K107) ESM Signal circuit from the ESM harness connector to the appropriate terminal of special tool #8815.

    Is the resistance below 5.0 ohms? 

    Yes 

    1. Go to  8).

    No 

    1. Repair the excessive resistance in the (K107) ESM Signal circuit.
    2. Perform POWERTRAIN VERIFICATION TEST .
  8. 8) EXCESSIVE RESISTANCE IN THE (Z910) GROUND CIRCUIT 
    Fig 3: Checking ESM Switch Ground Circuit For Excessive Resistance
    GC0050934Courtesy of CHRYSLER LLC

    Using a 12-volt test light connected to B+, probe the (Z910) Ground circuit in the ESM harness connector.

    NOTE: The test light should illuminate brightly. Compare the brightness to that of a direct connection to B- (ground).

    Does the test light illuminate brightly? 

    Yes 

    1. Go to  14).

    No 

    1. Repair the excessive resistance in the (Z910) Ground circuit.
    2. Perform POWERTRAIN VERIFICATION TEST .
  9. 9) VERIFY EVAPORATIVE EMISSION LEAK 
    WARNING: Keep lit cigarettes, sparks, flames, and other ignition sources away from the test area to prevent the ignition of explosive gases. Keep the test area well ventilated.

    Turn the ignition off.

    To continue testing you will need Miller Tool #8404 Evaporative Emission Leak Detector (EELD).

    NOTE: The fuel tank should have between 20% and 80% of fuel tank capacity to properly test the Evap system.

    Connect the red power lead of EELD to the battery positive terminal and the black ground lead to battery negative terminal.

    Block the vent hose of the Evap Canister.

    Connect shop air to the EELD.

    Set the smoke/air control switch to AIR.

    Insert the tester's AIR supply tip (clear hose) into the .040 orifice on the tester's control panel.

    Press the remote smoke/air start button.

    Position the red flag on the air flow meter so it is aligned with the indicator ball.

    When the calibration is complete, release the remote button. The EELD flow meter is now calibrated in liters per minute.

    Install the service port adapter #8404-14 on the vehicle's service port (if equipped) or install the #8404-ADP into the filter line.

    Connect the Air supply hose from the EELD to the service port (if equipped) or to the #8404-ADP adapter.

    Press the remote button to activate AIR flow.

    Compare the flow meter indicator ball reading to the red flag.

    ABOVE the red flag indicates a leak present.

    BELOW the red flag indicates a sealed system.

    Is the indicator ball above the red flag? 

    Yes 

    1. Go to  10).

    No 

    1. Go to  12).
  10. 10) EVAPORATIVE EMISSION LEAK DETECTION 
    NOTE: A thorough visual inspection of the Evap system hoses, tubes, and connections may save time in your diagnosis. Look for any physical damage or signs of wetness at connections. The strong smell of fuel vapors may aid diagnosis also.

    Remove the Air supply hose from the service port or the #8404-ADP adapter.

    Connect the SMOKE supply tip (black hose) to the service port (if equipped) or to the #8404-ADP adapter.

    Set the smoke/air control switch to SMOKE.

    NOTE: The flow meter indicator ball will not move at this point.

    Press the remote smoke/air start button.

    NOTE: Make sure that smoke has filled the Evap system by continuing to press the remote smoke/air start button, remove the vehicle fuel cap, and wait for the smoke to exit. Once smoke is indicated reinstall the fuel cap.
    NOTE: For optimal performance, introduce smoke into the system for an additional 60 seconds; continue introducing smoke at 15 second intervals, as necessary.

    While still holding the remote smoke/air start button, use the white light (#8404-CLL) to follow the Evap system path, and look for the source of the leak indicated by exiting smoke.

    If a leak is concealed from view (i.e, top of fuel tank), release the remote smoke/air start button, and use the ultraviolet (UV) black light #8404-UVL and the yellow goggles 8404-20 to look for residual traces of dye that are left behind by the smoke.

    The exiting smoke deposits a residual fluid that is either bright green or bright yellow in color when viewed with a UV light.

    NOTE: The Evap System is divided into three zones. A leak from any of these zones can cause this DTC to set. The lists below specify the possible leak points in that specific zone. For further assistance see the Zone Identification Charts shown in the illustrations below.
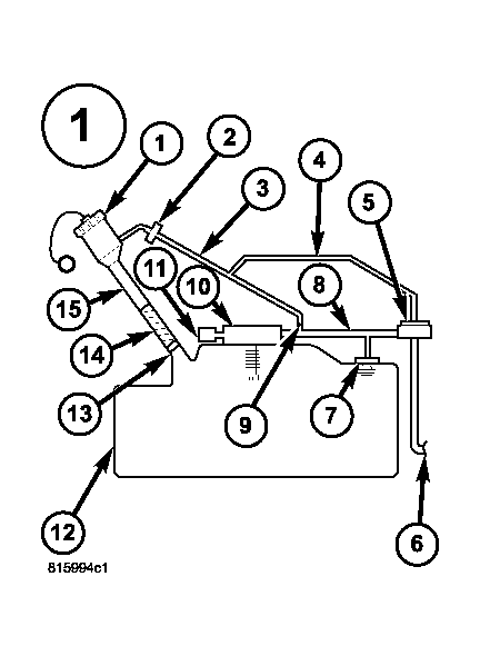
      Fig 4: Identifying EVAP System Zone 1
      GC0038534Courtesy of CHRYSLER LLC
    1. ZONE 1

    1 Fuel Cap

    2 Recirculation Check Valve.

    3 Vapor Recirculation Line.

    4 Signal Vapor Line for FVM.

    5 Flow Management Valve.

    6 Fuel Tank to Canister Vapor Line connection.

    7 Fuel Tank Vent (Check Valve).

    8 Vapor Line to Canister.

    9 Flow Control Orifice.

    10 Control Valve.

    11 Liquid Trap.

    12 Fuel Tank.

    13 Check valve.

    14 Fuel Fill Tube to Tank connector.

    15 Fuel Fill Tube

    Damaged or disconnected Evap System components.

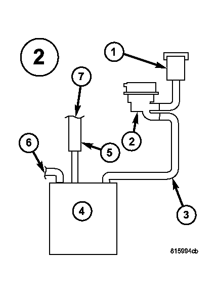
      Fig 5: Identifying EVAP System Zone 2
      GC0038536Courtesy of CHRYSLER LLC
    1. ZONE 2

    1 Filter.

    2 ESIM.

    3 Canister Vent Line.

    4 Evap Canister.

    5 Chassis Purge Valve.

    6 Fuel Tank to Canister Vapor Line connection.

    7 Evap Purge connection.

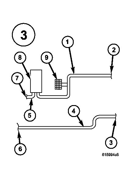
      Fig 6: Identifying EVAP System Zone 3
      GC0038535Courtesy of CHRYSLER LLC
    1. ZONE 3

    1 Evap Purge Vacuum Line.

    2 Connection to Chassis Line.

    3 Connection to Canister.

    4 Chassis Purge Line.

    5 Evap Purge Vacuum Line.

    6 Connection to Evap Purge Harness.

    7 Chassis Evap Purge Line connection to Engine Vacuum.

    8 Evap Purge Valve.

    9 Service Port.

    NOTE: Carefully inspect the vent side of the Evap Canister. Due to the filtering system in the canister the smoke or dye may or may not be visible. Introducing smoke into the filtered side of the canister may assist in locating the leak.

    Select the appropriate response from the list below: 

    A leak was found at the gas cap or fuel filler tube. 

    1. Go to  11).

    A leak was found in one or more of the Evap System zones. 

    1. If the leak is at a hose connection, remove the hose then reconnect the hose and check for a leak again. All other leaks repair as necessary.
    2. Perform POWERTRAIN VERIFICATION TEST .

    No leaks were detected. 

    1. Go to  12).
  11. 11) LEAK AT GAS CAP 

    Remove the SMOKE supply tip (black hose) from the service port (if equipped) or to the #8404-ADP adapter.

    Install gas cap adapter, Miller Tool #8382 (1/4 turn cap) or #6922 (screw cap) and #8399* (secondary seal depressor) and repeat test 5.

    NOTE: The gas cap adapter is being used as a known good cap.

    Was a leak found at the gas cap adapter? 

    Yes 

    1. Replace the Fuel Filler tube assembly.
    2. Perform POWERTRAIN VERIFICATION TEST .

    No 

    1. Replace the gas cap.
    2. Perform POWERTRAIN VERIFICATION TEST .
  12. 12) EVAP PURGE HOSE/TUBE AND FRESH AIR FILTER OBSTRUCTION 

    Inspect the Evap Purge hose/tube for proper routing and installation between the Evap Purge Solenoid and the Fuel Tank between the Fuel Tank and the Evap Purge Canister

    Make sure the hose/tube and fresh air filter are not damaged, kinked, and free from any obstructions.

    Were any problems found? 

    Yes 

    1. Repair or replace as necessary.
    2. Perform POWERTRAIN VERIFICATION TEST .

    No 

    1. Go to  13).
  13. 13) EVAP SYSTEM MONITOR SWITCH 

    Use the wiring diagram/schematic as a guide, inspect the wiring and connections between the Evap System Monitor Switch and the PCM.

    Look for any chafed, pierced, pinched, or partially broken wires.

    Look for broken, bent, pushed out or corroded terminals. Verify that there is good pin to terminal contact in the ESIM Switch and the Powertrain Control Module connectors.

    Look for any broken, bent, pushed out, or corroded terminals.

    Refer to any Technical Service Bulletins that may apply.

    Were any problems found? 

    Yes 

    1. Repair and Replace as necessary.
    2. Perform POWERTRAIN VERIFICATION TEST .

    No 

    1. Replace the Evap System Monitor Switch per Service Information.
    2. Perform POWERTRAIN VERIFICATION TEST .
  14. 14) POWERTRAIN CONTROL MODULE (PCM) 

    Using the wiring diagram/schematic as a guide, inspect the wiring and connectors between the Evap Purge Solenoid Assembly, ESIM Switch and the Powertrain Control Module (PCM).

    Look for any chafed, pierced, pinched, or partially broken wires.

    Look for broken, bent, pushed out or corroded terminals. Verify that there is good pin to terminal contact in the Switch, Solenoid, and the Powertrain Control Module connectors.

    Refer to any Technical Service Bulletins that may apply.

    Were there any problems found? 

    Yes 

    1. Repair as necessary.
    2. Perform POWERTRAIN VERIFICATION TEST .

    No 

    1. Replace and program the Powertrain Control Module per Service Information.
    2. Perform POWERTRAIN VERIFICATION TEST .