LEMON Manuals: Even more car manuals for everyone
Home >> Jeep >> 2007 >> Commander Base, 4.7 P, AWD >> Repair and Diagnosis >> Engine Performance >> System >> DTCS P0325 To P0501 >> P0404-EGR Position Sensor Rationality Open >> Diagnostic Test

Diagnostic Test

  1. 1) ACTIVE DTC 
    NOTE: Diagnose and repair any EGR signal circuit high or low DTCs before continuing with this procedure.

    Turn the ignition on.

    With the scan tool, select View DTCs. Record DTC and Freeze Frame information.

    Start the engine and allow it to reach operating temperature.

    WARNING: When the engine is operating, do not stand in direct line with the fan. Do not put your hands near the pulleys, belts, or fan. Do not wear loose clothing. Failure to follow these instructions can result in personal injury or death.
    WARNING: The normal operating temperature of the EGR system is very high. Never work around or attempt to service any part of the EGR system until it has cooled.
    NOTE: Attempt to operate the vehicle under conditions similar to which the DTC was set.
    NOTE: It may be necessary to test drive the vehicle within the DTC monitoring conditions in order for this DTC to set.

    With a scan tool, select View DTCs.

    Is the DTC Active or Pending at this time? 

    Yes 

    1. Go to  2).

    No 

    1. Refer to INTERMITTENT CONDITION Diagnostic Procedure.
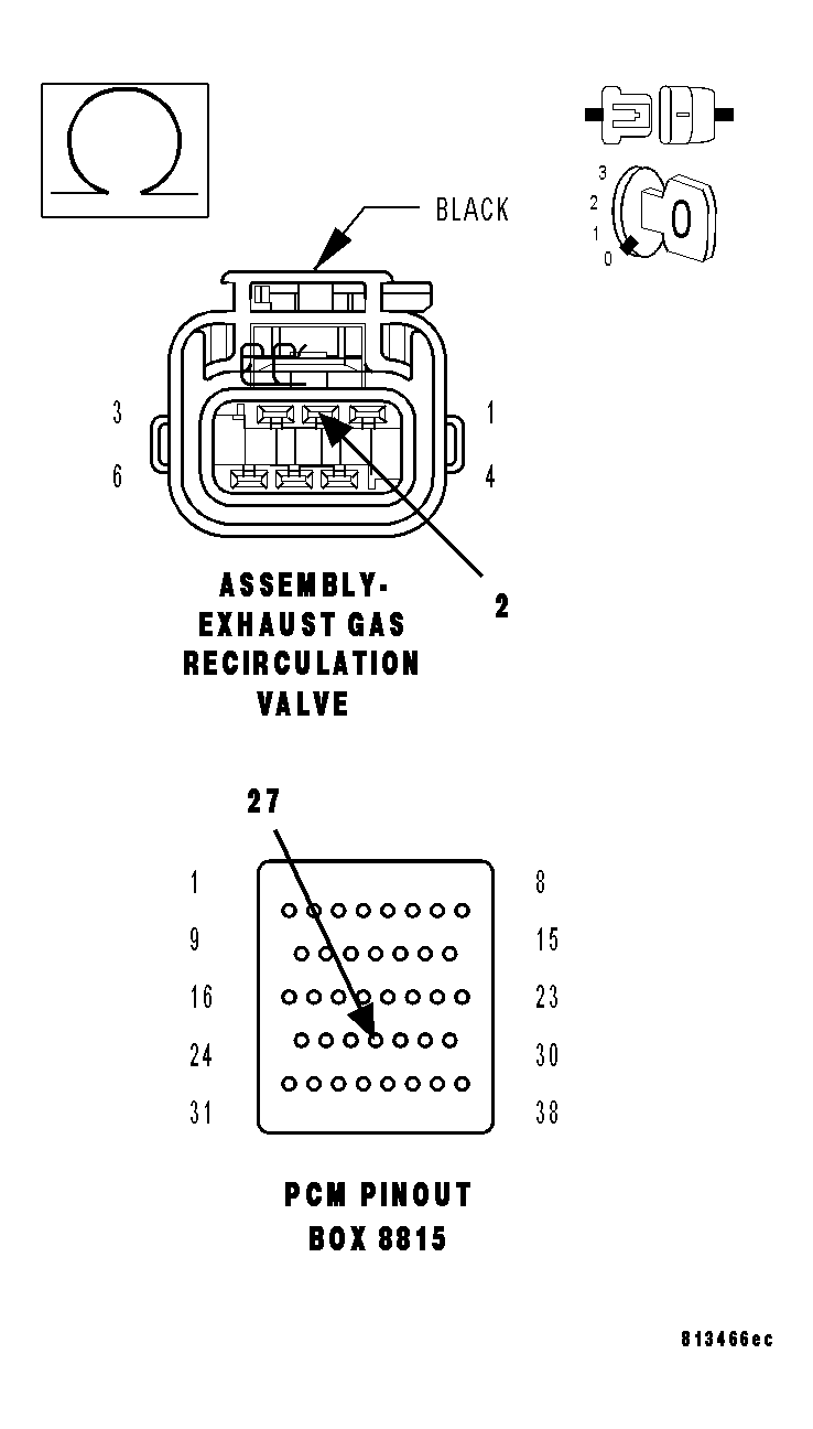
  2. 2) (F856) 5 VOLT SUPPLY CIRCUIT HIGH RESISTANCE 
    Fig 1: Checking EGR Position Sensor 5-Volt Supply Circuit
    GC0014974Courtesy of CHRYSLER LLC

    Turn the ignition off.

    CAUTION: Do not probe the PCM harness connectors. Probing the PCM harness connectors will damage the PCM terminals resulting in poor terminal to pin connection. Install Miller Special Tool #8815 along with the #8815-1 to perform the diagnosis.

    Using a voltmeter, perform a voltage drop test by backprobing the (F856) 5 Volt Supply circuit at the EGR Valve Assembly harness connector and probing the appropriate terminal of the special tool #8815. Make sure the voltmeter leads are connected so that positive polarity is displayed on the voltmeter.

    WARNING: When the engine is operating, do not stand in direct line with the fan. Do not put your hands near the pulleys, belts, or fan. Do not wear loose clothing. Failure to follow these instructions can result in personal injury or death.

    Start the engine.

    Is the voltage below 0.5 volts? 

    Yes 

    1. Go to  3).

    No 

    1. Repair the (F856) 5 Volt Supply circuit for high resistance.
    2. Perform POWERTRAIN VERIFICATION TEST .
  3. 3) (K34) EGR SIGNAL CIRCUIT HIGH RESISTANCE 
    Fig 2: Measuring Resistance Of EGR Signal Circuit
    GC0050930Courtesy of CHRYSLER LLC

    Turn the ignition off.

    CAUTION: Do not probe the PCM harness connectors. Probing the PCM harness connectors will damage the PCM terminals resulting in poor terminal to pin connection. Install Miller Special Tool #8815 along with the #8815-1 to perform the diagnosis.

    Using a voltmeter, perform a voltage drop test by backprobing the (K34) EGR Signal circuit at the EGR Valve Assembly harness connector and probing the appropriate terminal of the special tool #8815. Make sure the voltmeter leads are connected so that positive polarity is displayed on the voltmeter.

    WARNING: When the engine is operating, do not stand in direct line with the fan. Do not put your hands near the pulleys, belts, or fan. Do not wear loose clothing. Failure to follow these instructions can result in personal injury or death.

    Start the engine.

    Is the voltage below 0.5 volts? 

    Yes 

    1. Go to  4).

    No 

    1. Repair the (K34) EGR Signal circuit for high resistance.
    2. Perform POWERTRAIN VERIFICATION TEST .
  4. 4) (K900) SENSOR GROUND CIRCUIT HIGH RESISTANCE 
    Fig 3: Checking EGR Position Sensor Ground Circuit
    GC0014977Courtesy of CHRYSLER LLC

    Turn the ignition off.

    CAUTION: Do not probe the PCM harness connectors. Probing the PCM harness connectors will damage the PCM terminals resulting in poor terminal to pin connection. Install Miller Special Tool #8815 along with the #8815-1 to perform the diagnosis.

    Using a voltmeter, perform a voltage drop test by backprobing the (K900) Sensor Ground circuit at the EGR Valve Assembly harness connector and probing the appropriate terminal of the special tool #8815. Make sure the voltmeter leads are connected so that positive polarity is displayed on the voltmeter.

    WARNING: When the engine is operating, do not stand in direct line with the fan. Do not put your hands near the pulleys, belts, or fan. Do not wear loose clothing. Failure to follow these instructions can result in personal injury or death.

    Start the engine.

    Is the voltage below 0.5 volts? 

    Yes 

    1. Go to  5).

    No 

    1. Repair the (K900) Sensor Ground circuit for high resistance.
    2. Perform POWERTRAIN VERIFICATION TEST .
  5. 5) (Z42) GROUND CIRCUIT OPEN OR HIGH RESISTANCE 
    Fig 4: Checking EGR Solenoid Ground Circuit
    GC0014971Courtesy of CHRYSLER LLC

    Turn the ignition off.

    Disconnect the EGR Valve Assembly harness connector.

    Using a 12 volt test light connected to the 12 volts, check the (Z42) Ground circuit in the EGR Valve Assembly harness connector.

    NOTE: The test light should be illuminated and bright. Compare the brightness to that of a direct connection to the battery.

    Is the test light illuminated and bright? 

    Yes 

    1. Go to  6).

    No 

    1. Repair the (Z42) Ground circuit for an open circuit of high resistance.
    2. Perform POWERTRAIN VERIFICATION TEST .
  6. 6) (K35) EGR CONTROL CIRCUIT HIGH RESISTANCE 
    Fig 5: Checking EGR Solenoid Control Circuit For Open Or High Resistance
    GC0014973Courtesy of CHRYSLER LLC

    Turn the ignition off.

    Connect the EGR Valve Assembly connector.

    CAUTION: Do not probe the PCM harness connectors. Probing the PCM harness connectors will damage the PCM terminals resulting in poor terminal to pin connection. Install Miller Special Tool #8815 along with the #8815-1 to perform the diagnosis.

    Using a voltmeter, perform a voltage drop test by backprobing the (K35) EGR Control circuit at the EGR Valve Assembly harness connector and probing the appropriate terminal of the special tool #8815. Make sure the voltmeter leads are connected so that positive polarity is displayed on the voltmeter.

    Start the engine and allow it to reach operating temperature.

    WARNING: When the engine is operating, do not stand in direct line with the fan. Do not put your hands near the pulleys, belts, or fan. Do not wear loose clothing. Failure to follow these instructions can result in personal injury or death.

    With the scan tool, perform the EGR System Test.

    Select OPEN to open the EGR valve.

    Monitor the circuit voltage on the voltmeter.

    Is the voltage below 0.5 volts when the valve was opened during the system test? 

    Yes 

    1. Go to  7).

    No 

    1. Repair the (K35) EGR Control circuit for excessive resistance.
    2. Perform POWERTRAIN VERIFICATION TEST .
  7. 7) EGR VALVE ASSEMBLY 

    Using the wiring diagram/schematic as a guide, inspect the wiring and connectors between the EGR Valve Assembly and the Powertrain Control Module (PCM).

    Look for any chafed, pierced, pinched, or partially broken wires.

    Verify that there is good pin to terminal contact in the Solenoid and the Powertrain Control Module connectors.

    Look for broken, bent, pushed out or corroded terminals.

    Refer to any Technical Service Bulletins that may apply.

    Were any problems found? 

    Yes 

    1. Repair or replace the EGR system components as necessary.
    2. Perform POWERTRAIN VERIFICATION TEST .

    No 

    1. Replace the EGR Valve Assembly.
    2. Perform POWERTRAIN VERIFICATION TEST .