LEMON Manuals: Even more car manuals for everyone
Home >> Jeep >> 2007 >> Commander Base, 4.7 P, AWD >> Repair and Diagnosis >> Engine Performance >> System >> DTCS P0325 To P0501 >> P0325-Knock Sensor 1 Circuit >> Diagnostic Test

Diagnostic Test

  1. 1) ACTIVE DTC 

    Start the engine.

    Allow the engine to reach normal operating temperature.

    With a scan tool, select View DTCs.

    NOTE: It may be necessary to drive the vehicle to meet the conditions to set this DTC, try to repeat the conditions in which the fault originally set by reviewing the Freeze Frame data.

    Is the DTC Active or Pending at this time? 

    Yes 

    1. Go to  2).

    No 

    1. Refer to INTERMITTENT CONDITION Diagnostic Procedure.
  2. 2) (K42) KNOCK SENSOR NO. 1 SIGNAL CIRCUIT SHORTED TO VOLTAGE 
    Fig 1: Checking Knock Sensor No. 1 Signal Circuit For Short To Voltage
    GC0050919Courtesy of CHRYSLER LLC

    Turn the ignition off.

    Disconnect the Knock Sensor harness connector.

    Disconnect the C2 PCM harness connector.

    Ignition on, engine not running.

    Measure the voltage on the (K42) Knock Sensor No. 1 Signal circuit in the Knock Sensor harness connector.

    Is there any voltage present? 

    Yes 

    1. Repair the short to voltage in the (K42) Knock Sensor No. 1 Signal circuit.
    2. Perform POWERTRAIN VERIFICATION TEST .

    No 

    1. Go to  3).
  3. 3) (K42) KNOCK SENSOR NO. 1 SIGNAL CIRCUIT OPEN 
    Fig 2: Checking Knock Sensor No. 1 Signal Circuit For Open
    GC0050920Courtesy of CHRYSLER LLC

    Turn the ignition off.

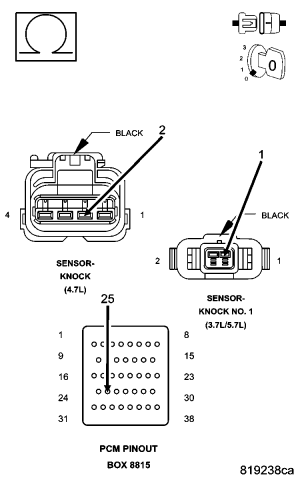
    CAUTION: Do not probe the PCM harness connectors. Probing the PCM harness connectors will damage the PCM terminals resulting in poor terminal to pin connection. Install Miller Special Tool #8815 to perform diagnosis.

    Measure the resistance of the (K42) Knock Sensor No. 1 Signal circuit from the Knock Sensor harness connector to the appropriate terminal of special tool #8815.

    Is the resistance below 5.0 ohms? 

    Yes 

    1. Go to  4).

    No 

    1. Repair the open in the (K42) Knock Sensor No. 1 Signal circuit.
    2. Perform POWERTRAIN VERIFICATION TEST .
  4. 4) (K942) KNOCK SENSOR NO. 1 RETURN CIRCUIT OPEN 
    Fig 3: Checking Knock Sensor No. 1 Return Circuit For Open
    GC0050921Courtesy of CHRYSLER LLC

    Measure the resistance of the (K942) Knock Sensor No. 1 Return circuit from the Knock Sensor harness connector to the appropriate terminal of special tool #8815.

    Is the resistance below 5.0 ohms? 

    Yes 

    1. Go to  5).

    No 

    1. Repair the open in the (K942) Knock Sensor No. 1 Return circuit.
    2. Perform POWERTRAIN VERIFICATION TEST .
  5. 5) (K42) KNOCK SENSOR NO. 1 SIGNAL CIRCUIT SHORTED TO THE (K942) KNOCK SENSOR NO. 1 RETURN CIRCUIT 
    Fig 4: Checking Knock Sensor No. 1 Signal For Short To Return Circuit
    GC0050922Courtesy of CHRYSLER LLC

    Measure the resistance between the (K42) Knock Sensor No. 1 Signal circuit and the (K942) Knock Sensor No. 1 Return circuit in the Knock Sensor harness connector.

    Is the resistance below 100 ohms? 

    Yes 

    1. Repair the short between the (K42) Knock Sensor No. 1 Signal circuit and the (K942) Knock Sensor No. 1 Return circuit.
    2. Perform POWERTRAIN VERIFICATION TEST .

    No 

    1. Go to  6).
  6. 6) (K42) KNOCK SENSOR NO. 1 SIGNAL CIRCUIT SHORTED TO GROUND 
    Fig 5: Checking Knock Sensor No. 1 Signal For Short To Ground
    GC0050923Courtesy of CHRYSLER LLC

    Measure the resistance between ground and the (K42) Knock Sensor No. 1 Signal circuit in the Knock Sensor harness connector.

    Is the resistance below 100 ohms? 

    Yes 

    1. Repair the short to ground in the (K42) Knock Sensor No. 1 Signal circuit.
    2. Perform POWERTRAIN VERIFICATION TEST .

    No 

    1. Go to  7).
  7. 7) KNOCK SENSOR 1 

    Turn the ignition off.

    Replace the Knock Sensor 1.

    Connect the Powertrain Control Module (PCM) connector.

    Turn the ignition on.

    With the scan tool, clear DTCs.

    Start the engine and allow it to reach normal operating temperature.

    WARNING: When the engine is operating, do not stand in direct line with the fan. Do not put your hands near the pulleys, belts, or fan. Do not wear loose clothing. Failure to follow these instructions can result in personal injury or death.
    NOTE: It may be necessary to test drive the vehicle within the DTC monitoring conditions in order for this DTC to reset.

    With the scan tool, select View DTCs.

    Is the DTC Active at this time? 

    Yes 

    1. Go to  8).

    No 

    1. Test complete.
    2. Perform POWERTRAIN VERIFICATION TEST .
  8. 8) POWERTRAIN CONTROL MODULE (PCM) 

    Using the wiring diagram/schematic as a guide, inspect the wiring and connectors between the Knock Sensor 1 and the Powertrain Control Module (PCM).

    Look for any chafed, pierced, pinched, or partially broken wires.

    Look for broken, bent, pushed out or corroded terminals.

    Refer to any Technical Service Bulletins that may apply.

    Were any problems found? 

    Yes 

    1. Repair as necessary.
    2. Perform POWERTRAIN VERIFICATION TEST .

    No 

    1. Replace and program the Powertrain Control Module (PCM) in accordance with the Service Information.
    2. Perform POWERTRAIN VERIFICATION TEST .