LEMON Manuals: Even more car manuals for everyone
Home >> Jeep >> 2007 >> Commander Base, 4.7 P, AWD >> Repair and Diagnosis >> Accessories & Equipment >> Wiper/Washer Systems >> Wiper System & Washer System - Electrical Diagnostics >> Wipers/Washers - Electrical Diagnostics >> DTC Troubleshooting >> U0019-Can B Bus >> Diagnostic Test

Diagnostic Test

  1. 1) CHECK FOR ACTIVE DTC U0019-CAN B BUS 

    Turn the ignition on.

    With the scan tool, record and erase any Electronic Overhead Module DTCs.

    Turn the ignition off, wait 30 seconds then turn the ignition on.

    With the scan tool, read DTCs.

    Is DTC U0019-CAN B BUS active? 

    Yes 

    1. Go to  2).

    No 

    1. The condition that caused this code to set is not present at this time. Check for an intermittent condition by inspecting the related wiring harness for chafed, pierced, pinched, and partially broken wires. Also inspect the related connectors for broken, bent, pushed out, spread, corroded, or contaminated terminals.
    2. Perform BODY VERIFICATION TEST .
  2. 2) CHECK FOR ACTIVE CAN B BUS RELATED DTCS IN THE FRONT CONTROL MODULE 

    With the scan tool, read Front Control Module DTCs

    Does the scan tool display any active CAN B BUS related DTCs? 

    Yes 

    1. Diagnose and repair the DTC(s). Refer to DIAGNOSIS AND TESTING .

    No 

    1. Go to  3).
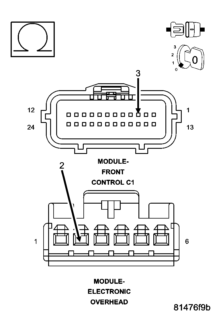
  3. 3) CHECK (D55) CAN B BUS (+) CIRCUIT FOR AN OPEN 
    Fig 1: Checking CAN B BUS (+) Circuit
    GC0045736Courtesy of CHRYSLER LLC

    Turn the ignition off.

    Disconnect the negative battery cable.

    Disconnect the Electronic Overhead Module harness connector.

    Disconnect the Front Control Module C1 harness connector.

    Measure the resistance of the (D55) Can B Bus (+) circuit between the Front Control Module C1 harness connector and the Electronic Overhead Module harness connector.

    Is the resistance below 5.0 ohms? 

    Yes 

    1. Go to  4).

    No 

    1. Repair the Can B Bus (+) circuit for an open.
    2. Perform BODY VERIFICATION TEST .
  4. 4) CHECK THE (D54) CAN B BUS (-) CIRCUIT FOR AN OPEN 
    Fig 2: Checking CAN B BUS (-) Circuit
    GC0045737Courtesy of CHRYSLER LLC

    Measure the resistance of the (D54) Can B Bus (-) circuit between the Front Control Module C1 harness connector and the Electronic Overhead Module harness connector.

    Is the resistance below 5.0 ohms? 

    Yes 

    1. Replace the Electronic Overhead Module in accordance with the service information.
    2. Perform BODY VERIFICATION TEST .

    No 

    1. Repair the Can B Bus (-) circuit for an open.
    2. Perform BODY VERIFICATION TEST .