LEMON Manuals: Even more car manuals for everyone
Home >> Jeep >> 2007 >> Commander Base, 4.7 P, AWD >> Repair and Diagnosis >> Accessories & Equipment >> Wiper/Washer Systems >> Wiper System & Washer System (Service Information) >> Wipers/Washers >> Wiper Blade >> Standard Procedure >> Rear Wiper Element Replacement

Rear Wiper Element Replacement

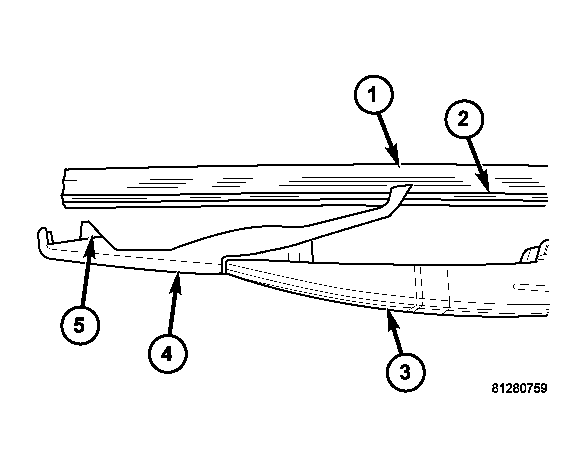
Fig 1: Rear Element Replacement
GC0045760Courtesy of CHRYSLER LLC
  1. Remove the rear wiper blade (3) from the wiper arm. See REMOVAL .
  2. Grasp one of the wiper blade links (4) firmly with one hand, and grasp the wiper element (1) and flexor (2) midway between the two sets of claws (5) for that link with the other hand.
  3. Pull the element and flexor away from the link until they flex enough to disengage them from the end pair of claws.
  4. Slide the element and flexor toward the loose end to disengage them from the remaining sets of claws.
  5. Reverse this process to install a new element and flexors into the wiper blade.
  6. Reinstall the wiper blade into the wiper arm. See INSTALLATION .