LEMON Manuals: Even more car manuals for everyone
Home >> Jeep >> 2007 >> Commander Base, 4.7 P, AWD >> Repair and Diagnosis >> Accessories & Equipment >> Wiper/Washer Systems >> Wiper System & Washer System (Service Information) >> Wipers/Washers >> Wiper Arm >> Description >> Rear Wiper Arm

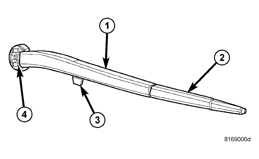
Rear Wiper Arm

Fig 1: Rear Wiper Arm
GC0045753Courtesy of CHRYSLER LLC

The rear wiper arm (1) is the rigid member located between the rear wiper motor output shaft that protrudes from the outer liftgate panel near the base of the liftgate glass opening and the rear wiper blade (2). The wiper arm is constructed of molded black plastic. A hinged pivot end is also molded plastic, except for a tapered metal sleeve (4) that receives the wiper motor output shaft and a plate where the arm retaining nut is supported. A molded plastic cap with a snap feature fits over the wiper arm retaining nut to conceal the nut and the mounting hole following wiper arm installation.

The wiper arm hinge, pivot block and tension spring are all concealed on the underside of the wide end of the arm. A molded plastic wiper arm support (3) is integral to the wiper arm and extends from the lower edge of the arm. The matching wiper blade has two pivot pins that latch into a receptacle concealed within the narrow end of the arm. The rear wiper arm cannot be adjusted or repaired. If damaged or ineffective, the entire wiper arm unit must be replaced.