LEMON Manuals: Even more car manuals for everyone
Home >> Jeep >> 2007 >> Commander Base, 4.7 P, AWD >> Repair and Diagnosis >> Accessories & Equipment >> Wiper/Washer Systems >> Wiper System & Washer System (Service Information) >> Wipers/Washers >> Relay-Wiper High/Low >> Description >> Relay-Wiper High/Low

Relay-Wiper High/Low

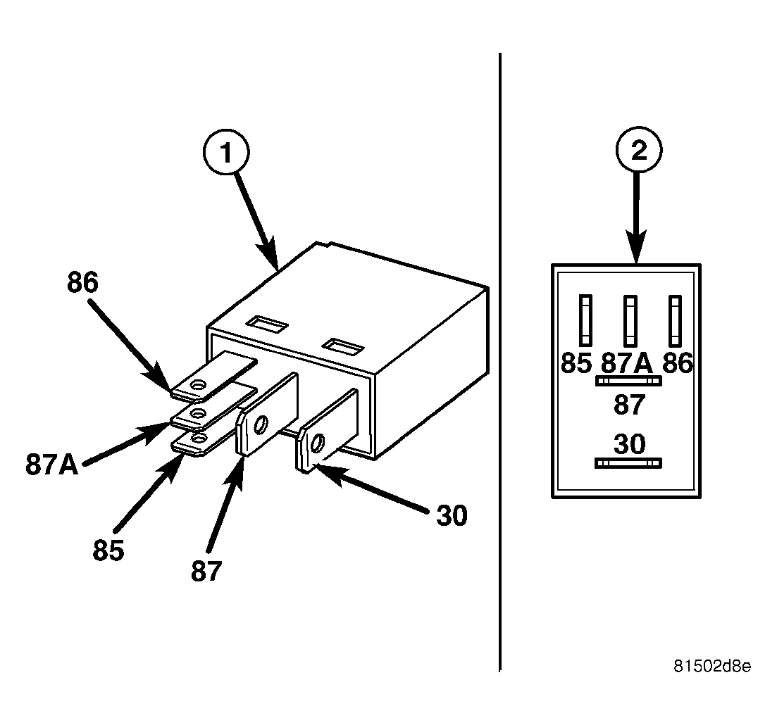
Fig 1: International Standards Organization (ISO) Micro Relay
GC0028313Courtesy of CHRYSLER LLC

The wiper high/low relay (1) is a conventional International Standards Organization (ISO) micro relay. Relays conforming to the ISO specifications have common physical dimensions, current capacities, terminal patterns (2), and terminal functions. This relay is contained within a small, rectangular, molded plastic housing and is connected to all of the required inputs and outputs through five integral male spade-type terminals that extend from the relay base plate.

The wiper high/low relay is located in the Integrated Power Module (IPM) in the engine compartment, near the battery. Refer to the layout label on the underside of the IPM cover for specific relay cavity assignment information. The wiper high/low relay cannot be adjusted or repaired and, if ineffective or damaged, the unit must be replaced.