LEMON Manuals: Even more car manuals for everyone
Home >> Jeep >> 2007 >> Commander Base, 4.7 P, AWD >> Repair and Diagnosis >> Accessories & Equipment >> Communication Devices >> Electronic Control Modules - Electrical Diagnostics >> Electronic Control Modules - Electrical Diagnostics >> DTC Troubleshooting >> *No Response From ITM (Intrusion Transceiver Module) >> Diagnostic Test

Diagnostic Test

  1. 1) TEST FOR INTERMITTENT CONDITION 

    Turn the ignition on.

    NOTE: Ensure the IOD fuse is installed and battery voltage is between 10.0 and 16.0 volts.

    With the scan tool, select ECU view.

    NOTE: A red X will be next to the module that is not communicating, indicating that the module is not active on the Bus network. A green check indicates that the module is active on the Bus network.

    Does the scan tool display a red X next to the module? 

    Yes 

    1. Go to step  2).

    No 

    1. The no response condition is not present at this time. Using the wiring diagram/schematic as a guide, inspect the wiring for chafed, pierced, pinched, and partially broken wires and the wiring harness connectors for broken, bent, pushed out, and corroded terminals.
  2. 2) (A114) FUSED B(+) CIRCUIT OPEN OR SHORTED 
    Fig 1: Checking Fused B(+) Circuit
    GC0027544Courtesy of CHRYSLER LLC

    Turn the ignition off.

    Disconnect the Intrusion Transceiver Module harness connector.

    Using a 12-volt test light connected to ground, check the (A114) Fused B(+) circuit.

    Does the test light illuminate brightly? 

    Yes 

    1. Go to step  3).

    No 

    1. Repair the (A114) Fused B(+) circuit for an open or short.
    2. Perform BODY VERIFICATION TEST .
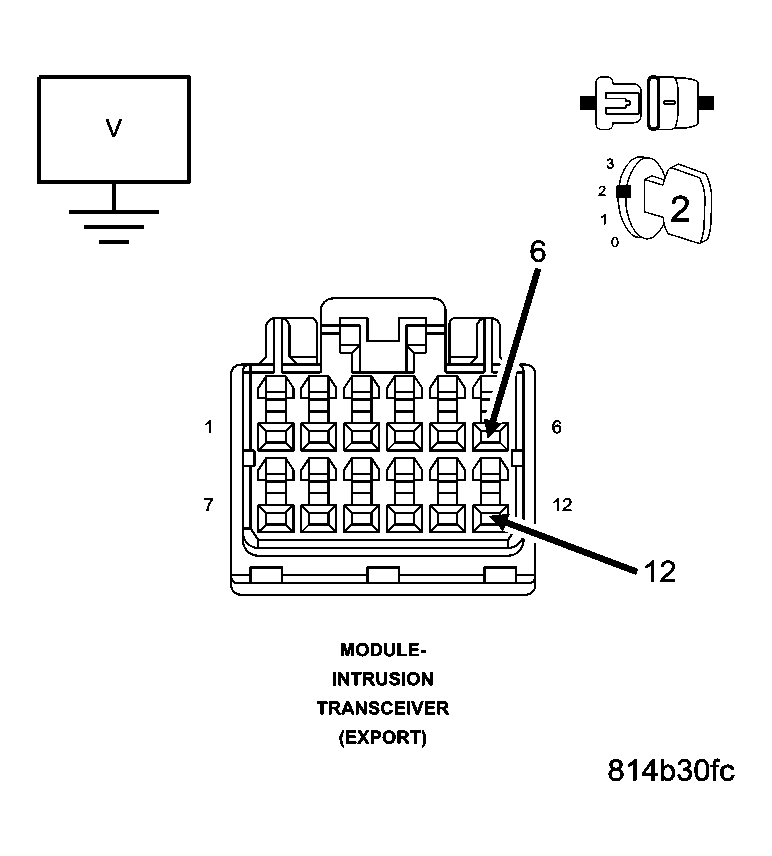
  3. 3) (Z915) GROUND CIRCUIT OPEN 
    Fig 2: Checking Ground Circuit
    GC0027545Courtesy of CHRYSLER LLC

    Using a 12-volt test light connected to 12-volts, check the (Z915) ground circuit.

    Does the test light illuminate brightly? 

    Yes 

    1. Go to step  4).

    No 

    1. Repair the (Z915) ground circuit for an open.
    2. Perform BODY VERIFICATION TEST .
  4. 4) (D55) AND (D54) CAN B BUS CIRCUITS OPEN 
    Fig 3: Checking CAN B BUS Circuits
    GC0027546Courtesy of CHRYSLER LLC
    NOTE: One open circuit will not cause this condition.

    Measure the voltage between the (D54) CAN B Bus (-) circuit and ground.

    Measure the voltage between the (D55) CAN B Bus (+) circuit and ground.

    Is there any voltage present on either circuit? 

    Yes 

    1. Replace the Intrusion Transceiver Module in accordance with the service information.
    2. Perform BODY VERIFICATION TEST .

    No 

    1. Repair the (D55) and (D54) CAN B Bus circuits for an open. Inspect the connector for damage.
    2. Perform BODY VERIFICATION TEST .